Application Type
National
Application SubType
(10) Registration Number and Date
10202401167Q
Status
ACTIVE ( Other event occurred)
(180) Expiration Date
(20) Filing Number and Date
SG 10202401167Q 2023.12.31
(40) Publication Number and Date
${pbin}
(86) PCT Filing Number and Date
(87) PCT Publication Number and Date
(85) National Entry Date
(30) Priority Details
JP
JP2023-073547
2023.01.01
(51) IPC Classes
    (74) Representative
    (54) Title
    (57) Abstract
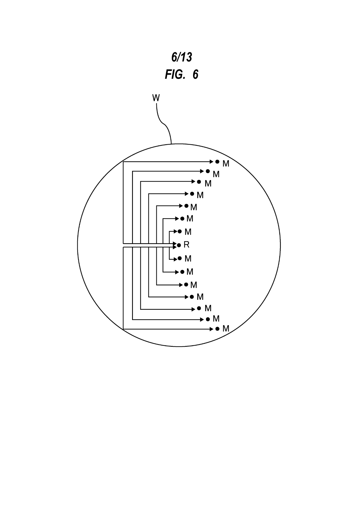
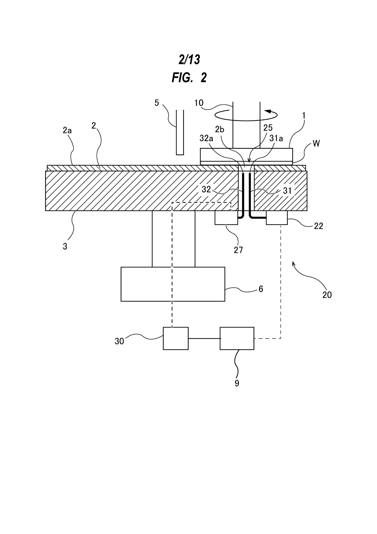
    (EN) ABSTRACT OF THE DISCLOSURE ABSTRACT POLISHING METHOD, COMPUTER-READABLE STORAGE MEDIUM STORING PROGRAM FOR OPERATING COMPUTER, AND POLISHING APPARATUS A polishing method includes: during polishing of the workpiece, creating a reference spectrum history and a monitoring spectrum history by repeatedly producing a reference spectrum and a monitoring spectrum at two points on the workpiece; calculating a plurality of reference history differences that are differences between a latest monitoring spectrum and a plurality of reference spectra in the reference spectrum history; calculating a plurality of monitoring history differences that are differences between a latest reference spectrum and a plurality of monitoring spectra in the monitoring spectrum history; calculating a film-thickness difference between a monitoring point and a reference point based on a local minimum point of a reference history difference or a monitoring history difference. FIG. 6
    (58) Citations
    License Details
    (98) Annuity Details
    YearValidity StartValidity EndPayment
    Document Type Date Action
    Description (with claims) 2024-04-22T00:00:00Z
    Abstract 2024-04-22T00:00:00Z
    Event NameDateLink
    Other event occurred2023-12-31
    Other event occurred2023-12-31
    Other event occurred2023-12-31