Application Type
National
Application SubType
(10) Registration Number and Date
10202401163Y
Status
ACTIVE ( Other event occurred)
(180) Expiration Date
(20) Filing Number and Date
SG 10202401163Y 2023.12.31
(40) Publication Number and Date
${pbin}
(86) PCT Filing Number and Date
(87) PCT Publication Number and Date
(85) National Entry Date
(30) Priority Details
US
US18/201457
2023.01.01
(51) IPC Classes
    (74) Representative
    (54) Title
    (57) Abstract
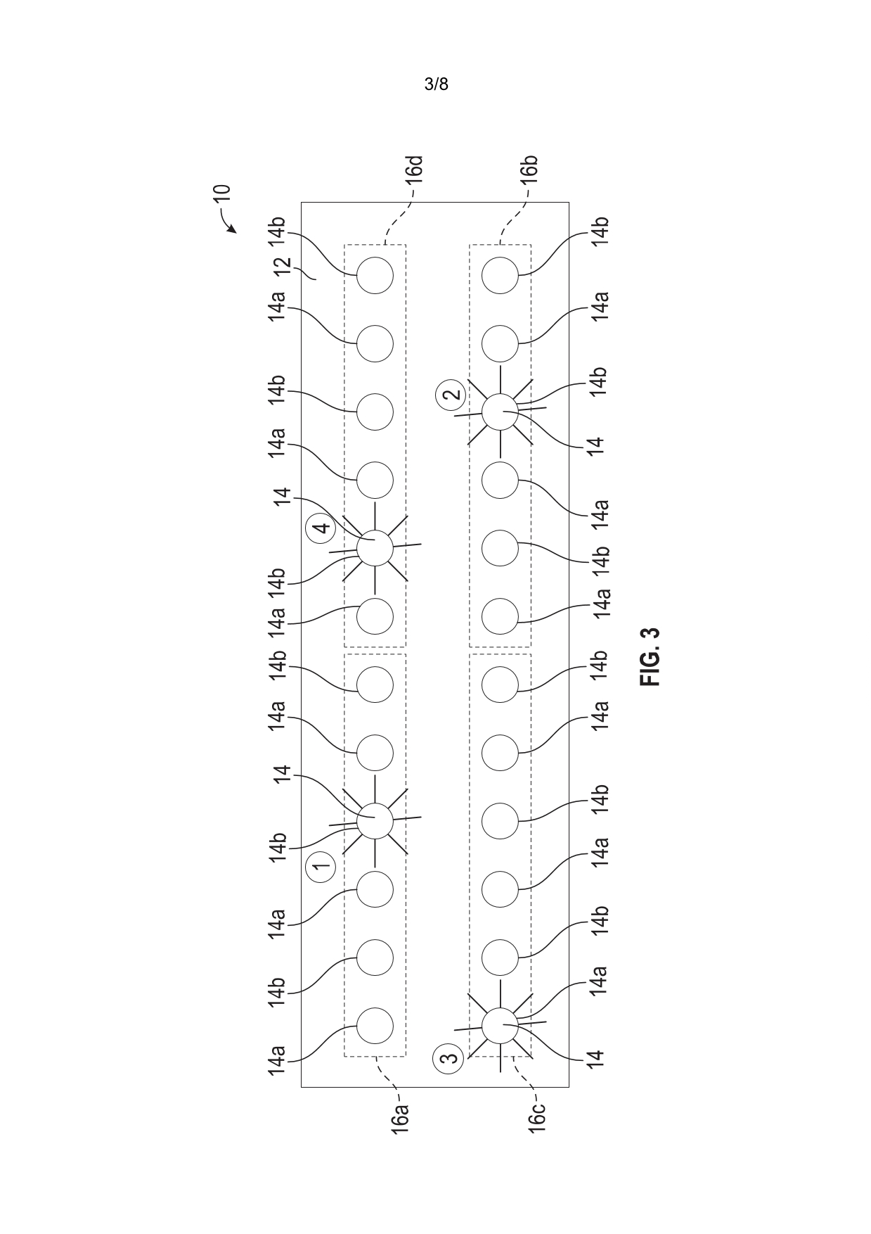
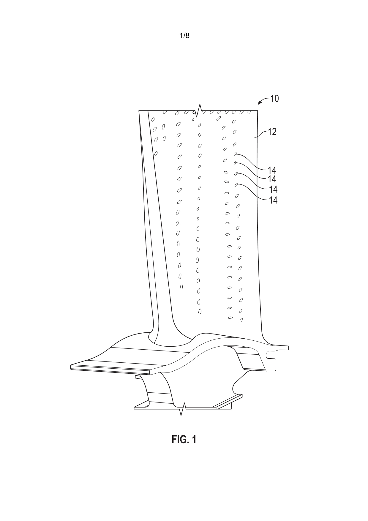
    (EN) METHOD AND APPARATUS FOR ABLATING HOLES IN AN ARTICLE ABSTRACT A method (600) of laser ablation of one or more holes (14) in an article (10) includes a step of establishing (602) an ablation characteristic. The ablation characteristic is a laser characteristic, a working zone characteristic, a cooling hole characteristic, or a synchronized machine motion characteristic. A creating step (604) creates a laser path plan for a laser beam based on the established ablation characteristic for a first working zone and a second working zone of the article. An ablating step (608) ablates the first working zone with a first ablation characteristic and afterwards ablates the second working zone with a second ablation characteristic which is different from the first ablation characteristic. [Figure 1] 20
    (58) Citations
    License Details
    (98) Annuity Details
    YearValidity StartValidity EndPayment
    Document Type Date Action
    Description (with claims) 2024-04-22T00:00:00Z
    Abstract 2024-04-22T00:00:00Z
    Event NameDateLink
    Other event occurred2023-12-31
    Other event occurred2023-12-31
    Other event occurred2023-12-31