Application Type
Utility Model
Application SubType
Utility model
(10) Registration Number and Date
Status
ACTIVE ( Document published)
(180) Expiration Date
(20) Filing Number and Date
PH 22025050651 2025.06.04
(40) Publication Number and Date
${pbin}
(86) PCT Filing Number and Date
(87) PCT Publication Number and Date
(85) National Entry Date
(30) Priority Details
(72) Inventor
(EN) DIZON JR., Rene C.
(74) Representative
(EN) PRESIDENT RAMON MAGSAYSAY STATE UNIVERSITY
(54) Title
(EN) HYDRAULIC COMPRESSION SPRING COMPRESSOR
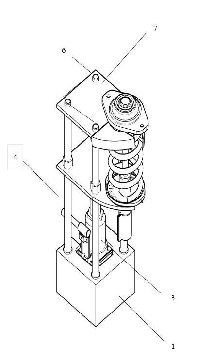
(57) Abstract

Hydraulic compression spring compressor designed for the safe,
efficient, and controlled compression of coil springs in vehicle suspension
systems. The device comprises a hydraulic bottle jack, a pair of opposing
clamping brackets, detachable plate, a stable prime base, and transposable
base. The hydraulic mechanism provides smooth and powerful force to
 compress coil springs with minimal manual effort, significantly reducing the risk
of accidents and improving operational efficiency. The design allows for easy
adjustment to accommodate various spring sizes and configurations, making it
suitable for a wide range of automotive applications. The compact and portable
construction further enhances its usability in both workshop and mobile repair
 environments.

(58) Citations
License Details
(98) Annuity Details
YearValidity StartValidity EndPayment
Document Type Date Action
drawing section u1 2025-09-05T00:00:00Z
claims section u1 2025-09-05T00:00:00Z
description section u1 2025-09-05T00:00:00Z
abstract section u1 2025-09-05T00:00:00Z
Event NameDateLink
Application filed2025-06-04
Document published2025-09-10