Application Type
Patents
Application SubType
National Patent
(10) Registration Number and Date
Status
ACTIVE ( Document published)
(180) Expiration Date
(20) Filing Number and Date
TH 2501006902 2025.10.08
(40) Publication Number (Gazette Number) and Date
(50/2568)
2025.12.15
(86) PCT Filing Number and Date
(87) PCT Publication Number and Date
(85) National Entry Date
(30) Priority Details
JP
JP2025-012996
2025.01.29
US
US63/705,132
2024.10.09
(51) IPC Classes
(72) Inventor
(TH) ฮิเดยูกิ ฮาระ : ซี/โอ อีซูซุ เทคนิคอล เซ็นเตอร์ ออฟ อเมริกา, อิงค์. 46401 คอมเมิร์ซ เซ็นเตอร์ ไดรฟ์, พลีมัธ, เอ็มไอ 48170
(74) Representative
(TH) นาย พัฒน์ เตชะไพฑูรย์ : บริษัท อาดาสตร้า ไอพี (ประเทศไทย) จำกัด เลขที่ 164 ซอยหมู่บ้านปัญญา ตำบลสวนหลวง อำเภอสวนหลวง จังหวัดกรุงเทพมหานคร
(54) Title
(TH)

ชุดเครื่องควบคุมของยานพาหนะ

(57) Abstract
(TH)

OCR 06WT

การเปิดเผยนี้เกี่ยวข้องกับชุดเครื่องควบคุมของยานพาหนะที่เดินทางอย่างอัตโนมัติไปตาม

เส้นทางเป้าหมายที่ตัดสินกำหนดล่วงหน้า, ชุดเครื่องควบคุมซึ่งประกอบรวมด้วย: หน่วยการตัดสิน

กำหนดแผนแนววิถีที่ถูกจัดโครงแบบเพื่อตัดสินกำหนดแผนแนววิถีใดที่จะเลือกใช้เป็นแนววิถีการ

เดินทางอนาคตของยานพาหนะระหว่างแนววิถีการรักษาเส้นทางเป้าหมาย. แนววิถีการหลีกเลือง

ด้านซ้าย, และแนววิถีการหลึกเลื่ยงด้านขวา; หน่วยการตัดสินกำหนดแผนการเคลื่อนไหวที่ถูกจัด

โครงแบบเพื่อตัดสินกำหนดแผนการเคลื่อนไหวใดที่จะเลือกใช้เป็นโหมดการเคลื่อนไหวอนาดตของ

ยานพาหนะระหว่างการเคลื่อนไหวปกติตามแผนแนววิถีที่ถูกตัดสินกำหนดหรือการเคลื่อนไหวการ

เคลื่อนช้ายฉุกเฉิน; และหน่วยควบคุมธานพาหนะที่ถูกจัดโครงแบบเพื่อควบคุมยานพาหนะใน

ลักษณะที่สถานะการขับขี่ของยานพาหนะที่แต่ละจุดเวลาอนาคตเป็นไปตามแผนการเคลื่อนไหวที่ถูก

ตัดสินกำหนด, โดยที่ความถี่การอัปเดตของหน่วยการตัดสินกำหนดแผนการเคลื่อนไหวสูงกว่าความถี่

การอัปเดตของหน่วยการตัดสินกำหนดแผนแนววิถี

 

(58) Citations
License Details
(98) Annuity Details
YearValidity StartValidity EndPayment
Document Type Date Action
description 2025-12-15T00:00:00Z
gazette 2025-12-15T00:00:00Z
abstract 2025-12-15T00:00:00Z
claims 2025-12-15T00:00:00Z
Event NameDateLink
Application filed2025-10-08
Document published2025-12-15

1

OCR 06WT

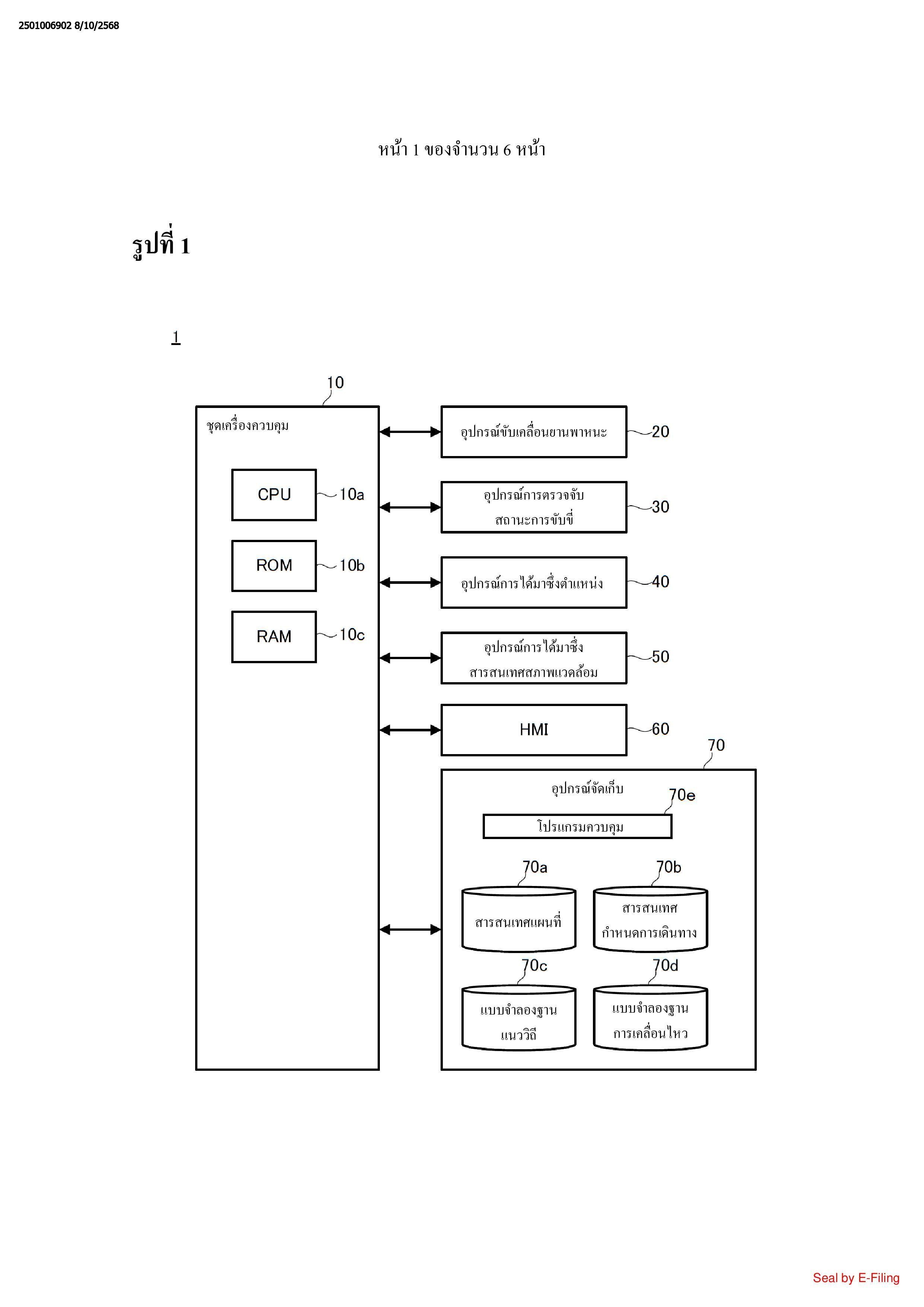
ชุดเครื่องควบคุมของยานพาหนะที่เดินทางอย่างอัตโนมัติไปตามเส้นทางเป้าหมายที่ตัดสิน

กำหนดล่วงหน้า, ชุดเครื่องควบคุมซึ่งประกอบรวมด้วย:

หน่วยการตัดสินกำหนดแผนแนววิถีที่ถูกจัดโครงแบบเพื่อตัดสินกำหนด, โดยอิงตาม

สารสนเทศสภาพแวดล้อมของยานพาหนะ, แผนแนววิถีใดที่จะเลือกใช้เป็นแนววิถีการเดินทาง

อนาคตของยานพาหนะระหว่างแนววิถีการรักษาเส้นทางเป้าหมาย, แนววิถีการหลีกเลี้ยงด้านซ้าย,

และแนววิถีการหลีกเลี่ยงด้านขวา;

หน่วยการตัดสินกำหนดแผนการเคลื่อนไหวที่ถูกจัดโครงแบบเพื่อตัดสินกำหนด, โดยอิงตาม

สารสนเทศสภาพแวดล้อม, แผนการเลื่อนไหวไหวใดที่จะเลือกใช้เป็นโหมดการเคลื่อนไหวอนาคตของ

ขานพาหนะระหว่างการเคลื่อนไหวปกติตามแผนแนววิถีที่ถูกตัดสินกำหนดหรือการเคลื่อนไหวการ

เคลื่อนย้ายฉุกเฉินที่ปิดการใช้งานชั่วคราวแผนแนววิถีที่ถูกตัดสินกำหนด; และ

หน่วยควบคุมยานพาหนะที่ถูกจัดโครงแบบเพื่อควบคุมยานพาหนะโดยอิงตามแผนการ

เคลื่อนไหวและสารสนเทศสถานะการขับขี่ปัจจุบันของยานพาหนะในลักษณะที่สถานะการขับขี่ของ

ยานพาหนะที่แต่ละจุดเวลาอนาคตเป็นไปตามแผนการเคลื่อนไหวที่ถูกตัดสินกำหนด,

โดยที่หน่วยการตัดสินกำหนดแผนแนววิถีและหน่วยการตัดสินกำหนดแผนการ

เคลื่อนไหวอัปเดตอย่างเป็นลำดับแผนแผแนววิถีและแผนการเคลื่อนไหว, อย่างตามลำดับ. และความถี่

การอัปเดตของหน่วยการตัดสินกำหนดเเผนการเคลื่อนไหวสูงกว่าความถี่การอัปเดตของหน่วยการ

ตัดสินกำหนดแผนแนววิถี

ชุดเครื่องควบคุมตามข้อถือสิทธิที่ 1, โดยที่แผนแนววิถีรวมถึงข้อมูลอนุกรมเวลาซึ่งเกี่ยวข้อง

กับตำแหน่งการเดินทางเป้าหมายและอัตราเร็วยานพาหนะเป้าหมายที่แต่ละจุดเวลาอนาดตของ

ธานพาหนะ, และแผนการเคลื่อนไหวรวมถึงข้อมูลอนุกรมเวลาซึ่งเกี่ยวข้องกับความเร่ง/ความหน่วง

เป้าหมายและอัตราการหันเหเป้าหมายที่แต่ละจุดเวลาอนาคตของยานพาหนะ

3. ชุดเครื่องควบคุมตามข้อถือสิทธิที่ 1, โดยที่หน่วยการตัดสินกำหนดแผนแนววิถีที่ถูกจัด โครง

แบบเพื่อรับสิ่งนำเข้าของสารสนเทศสถานะการขับขี่ปัจจุบันของยานพาหนะ, สารสนเทศตำแหน่ง

ปัจจุบันของธานพาหนะ, และสารสนเทศสภาพแวดล้อมของยานพาหนะอย่างเป็นลำดับ, และจำนวณ

โพรไฟล์แนววิถีของแผนแนววิถีที่ถูกตัดสินกำหนดโดยอิงตามชิ้นเหล่านี้ของสารสนเทศ, สารสนเทศ

กำหนดการเดินทางซึ่งรวมถึงเส้นทางเป้าหมายและอัตราเร็วยานพาหนะที่ตั้งไว้, สารสนเทศแผนที่,

และแบบจำลองฐานแนววิถีของแผนแนแนววิถีที่สอดคล้อง

4. ชุดเครื่องควบคุมตามข้อถือสิทธิที่ 3, โดยที่หน่วยการตัดสินกำหนดแผนแนววิถีที่ถูกจัดโครง

แบบเพื่อเลือกใช้แผนแนววิถีที่เกี่ยวข้องกับแนววิถีรักษาเส้นทางเป้าหมายเมื่อสิ่งกีดขวางไม่ถูก

ตรวจจับเบื้องหน้าของฮานพาหนะในสารสนเทศสภาพแวดล้อม, และเมื่อไม่มีความจำเป็นต้องบังคับ

เลี้ยวหลบสิ่งกีดขวางหรือเมื่อมันเป็นไปไม่ได้ที่จะบังคับเลี้ยวหลบสิ่งกีดขวาง,

และเลือกใช้แผนแนววิถีที่เกี่ยวข้องกับแนววิถีการหลีกเลี่ยงด้านซ้ายหรือแนววิถีการหลีกเลี่ยง

ด้านขวาเมื่อสิ่งกีดขวางถูกตรวจจับเบื้องหน้ายานพาหนะในสารสนเทศสภาพแวดล้อม, และมัน

เป็นไปได้ที่จะบังคับเลี้ยวหลบสิ่งกีดขวางและมันจำเป็นต้องบังคับเลี้ยวหลบสิ่งกีดขวาง

5. ชุดเครื่องควบคุมตามข้อถือสิทธิที่ 1, โดยที่หน่วยการตัดสินกำหนดแผนการเคลื่อน ไหวที่ถูก

จัดโครงแบบเพื่อรับสิ่งนำเข้าของสารสนเทศสถานะการขับขี่ที่ถูกตรวจจับของยานพาหนะ,

สารสนเทศตำแหน่งปัจจุบันของยานพาหนะ, สารสนเทศสภาพแวดล้อมของยานพาหนะ,และ

สารสนเทศที่เกี่ยวข้องกับแผนแนววิถีที่ถูกตัดสินกำหนดอย่างเป็นลำดับ, และคำนวณโพรไฟล์การ

เคลื่อนไหวของแผนการเคลื่อนไหวที่ถูกตัดสินกำหนดโดขอิงตามชิ้นเหล่านี้ของสารสนเทศและ

แบบจำลองฐานการตลื่อนไหวของแผนการเคลื่อนไหวที่สอดอดดดล้อง

6. ชุดเครื่องควบคุมตามข้อถือสิทธิที่ 1, โดยที่หน่วยการตัดสินกำหนดแผนการเคลื่อนไหวที่ถูก

จัดโครงแบบเพื่อเลือกใช้แผนการเคลื่อนไหวของการเคลื่อนไหวปกติเมื่อสารสนเทศสภาพแวดล้อม

ไม่ได้ตรวจจับการเข้าใกล้ของสิ่งก็ดขวางที่อาจทำให้เกิดการชนรอบยานพาหนะ. และเลือกใช้

แผนการเคลื่อนไหวของการเคลื่อนไหวการเคลื่อนช้ายถูกเฉินเมื่อสารสนเทศสภาพแวดล้อมตรวจจับ

การเข้าใกล้ของสิ่งกีดขวางที่อาจทำให้เกิดการชนรอบยานพาหนะ

7. ชุดเครื่องควบคุมตามข้อถือสิทธิที่ 6, โดยที่การเคลื่อนไหวการเคลื่อนย้ายฉุกเฉินรวมถึงการ

เคลื่อนไหวหยุดฉุกเฉินและการเคลื่อนไหวบังคับเลี้ยวถูกเฉิน, และหน่วยการตัดสินกำหนดแผนการ

เคลื่อนไหวที่ถูกจัดโครงแบบเพื่อเลือกใช้แผนการเคลื่อนไหวของการเคลื่อนไหวหยุดฉุกเฉินเมื่อมัน

เป็นไปได้ที่จะหลืกเลี้ยงการชนระหว่างยานพาหนะและสิ่งกีดขวางโดยการเบรก. และเลือกใช้

แผนการเคลื่อนไหวของการเคลื่อนไหวบังคับเลี้ยวฉุกเฉินเมื่อมันเป็นไปไม่ได้ที่จะหลีกเลี่ยงการชน

ระหว่างยานพาหนะและสิ่งกีดขวางโดยการเบรก

8. ชุดเครื่องควบคุมตามข้อถือสิทธิที่ 4, โดยที่, เมื่อเลือกใช้แผนแนววิถีของแนววิถีการหลีกเลี่ยง

ด้านซ้ายหรือแนววิถีการหลีกเลื่องด้านขวา, หน่วยการตัดสินกำหนดแผนแนววิถีที่ถูกจัดโครงแบบเพื่อ

ระบุเส้นทางที่เดินทางได้ที่อยู่ติดกับเส้นทางเป้าหมายโดขอิงตามสารสนเทศภาพแวดล้อมหรือ

สารสนเทศแผนที่, และสร้างสรรค์โพรไฟล์แนววิถีที่สอดคล้องกับเส้นทางที่เดินทางได้

9.ชุดเครื่องควบคุมตามข้อถือสิทธิที่ 5, โดยที่, หากเส้นทางที่เดินทางได้ที่อยู่ติดกับเส้นทาง

เป้าหมายไม่ถูกระบุโดยสารสนเทศสภาพแวดล้อมและสารสนเทศแผนที่, หน่วยการตัดสินกำหนด

แผนแนววิถีวางแผนใหม่เส้นทางเป้าหมายที่แก้ไขแล้วโดยอิงตามตำแหน่งยานพาหนะปัจจุบันและ

ตำแหน่งปลายทางสุดท้ายของเส้นทางเป้าหมายเพื่อสร้างสรรค์โพรไฟล์แนววิถี

10. ชุดเครื่องควบคุมตามข้อถือสิทธิที่ 1, โดยที่หน่วยการตัดสินกำหนดแผนแนววิถีที่ถูกจัดโครง

แบบเพื่อคำนวณโพรไฟล์แนววิถีของแผนแผแนววิถีโดยอิงตามแบบจำลองจลนศาสตร์ของยานพาหนะ

11. ชุดเครื่องควบคุมตามข้อถือสิทธิที่ 1, โดยที่หน่วยการตัดสินกำหนดแผนการเคลื่อนไหวที่ถูก

จัดโครงแบบเพื่อคำนวณโพรไฟล์การเคลื่อนไหวของแผนการเคลื่อนไหวโดยอิงตามแบบจำลอง

พลวัตของยานพาหนะ