Application Type
National
Application SubType
(10) Registration Number and Date
10202401142R
Status
ACTIVE ( Other event occurred)
(180) Expiration Date
(20) Filing Number and Date
SG 10202401142R 2023.12.31
(40) Publication Number and Date
${pbin}
(86) PCT Filing Number and Date
(87) PCT Publication Number and Date
(85) National Entry Date
(30) Priority Details
US
US16/746,704
2019.12.29
US62/800,329
2018.12.30
(51) IPC Classes
    (74) Representative
    (54) Title
    (57) Abstract
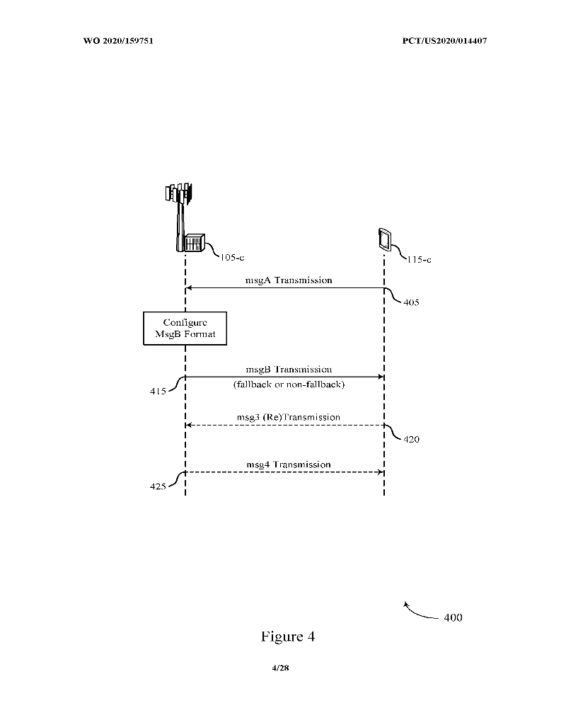
    (EN) ABSTRACT RANDOM ACCESS PROCEDURE FALLBACK This disclosure provides systems, methods and apparatus for wireless communications that support fallback from a 2-step to a 4-step random access procedures. A user equipment (UE) may establish a connection with a base station using a random access procedure. The random access procedure may be a 2-step random access procedure and reduce a number of handover exchange messages. The 2-step random access procedure may include the UE transmitting, to the base station, a first random access message including a preamble and a payload. In some implementations, the base station may receive the preamble but fail to receive or decode the payload. The random access procedure may utilize the received preamble information instead of performing retransmission of the first random access message. The base station may transmit a second random access message to the UE indicating, explicitly or implicitly, a fallback to a 4-step random access procedure for connection establishment. Fig. 4 127
    (58) Citations
    License Details
    (98) Annuity Details
    YearValidity StartValidity EndPayment
    Document Type Date Action
    Amendment of Claim(s) only 2024-04-24T00:00:00Z
    Description (with claims) 2024-04-18T00:00:00Z
    Abstract 2024-04-18T00:00:00Z
    Event NameDateLink
    Other event occurred2019-12-29
    Other event occurred2023-12-31
    Other event occurred2023-12-31
    Other event occurred2023-12-31
    Other event occurred2023-12-31