Application Type
Patent - Foreign
Application SubType
Patent - Foreign
(10) Registration Number and Date
Status
ACTIVE ( Application filed)
(180) Expiration Date
(20) Filing Number and Date
LA P/946 2024.03.28
(40) Publication Number (Gazette Number) and Date
(86) PCT Filing Number and Date
(87) PCT Publication Number and Date
(85) National Entry Date
(30) Priority Details
(72) Inventor
(LA) Lucien VOTILLAMOZ : Dorfstrasse 31, Feusisberg, 8835 Switzerland
(74) Representative
(LA) CONCETTI-LAO CO., LTD : Lao-Thai Friendship Road, Sokpaluang Village,Sisattanak District, Vientiane Lao PDR, Tel: 312 383
(54) Title
(LA) (EN) ໂຄງສ້າງຮູບແບບຟູນໍ້າ ແລະ ວິທີການຂອງການກໍ່ສ້າງ
(57) Abstract
(LA) (EN)

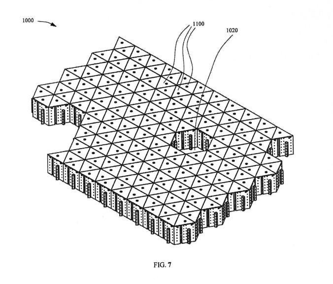
ດິນແດນຂົງເຂດຟູນໍ້າໜຶ່ງແມ່ນໄດ້ເຮັດຈາກຢ່າງນ້ອຍສອງສ່ວນປະກອບກໍ່ສ້າງຟູນໍ້າມີຮູບຮ່າງຂອງແກ້ວເຈັດສີໜຶ່ງດ້ວຍພື້ນຖານຮູບຫຼາຍລ່ຽມປົກກະຕິໜຶ່ງ,ເຊັ່ນວ່າ ຮູບສາມແຈໜຶ່ງ, ຮູບຈະຕຸລັດໜຶ່ງ, ຮູບຫ້າແຈໜຶ່ງຮູບ, ຮູບຫົກແຈໜຶ່ງ, ແລະ ອື່ນຯ ຖືກປະສົມປະສານດ້ວຍການເລື່ອນເຊື່ອມເຂົ້າຫາກັນ ແລະ ຮ່ອງເຊື່ອມເຂົ້າຫາກັນສໍາລັບການເລື່ອນແຊກຫາອົງປະກອບກໍ່ສ້າງໃກ້ຄຽງ. ຕົວແຊກອະນຸຍາດສ່ວນປະກອບກໍ່ສ້າງຟູນໍ້າ ເພື່ອເລື່ອນໂດຍທາງຕັ້ງພົວພັນເຊິ່ງກັນ ແລະ ກັນ, ດັ່ງນ້ນ ການອະນຸຍາດດິນແດນຂົງເຂດຟູນໍ້າເພື່ອຕິດຕາມການເຄື່ອນຍ້າຍຂື້ນເທິງ ແລະ ລົງລຸ່ມຂອງຄື້ນ. ວິທີການໜຶ່ງຂອງການຫັນປ່ຽນເສດເຫຼືອມະຫາສະໝຸດ ຟູນໍ້າໄປເປັນໂຄງສ້າງ, ໂດຍສະເພາະ, ດິນແດນຂົງເຂດຟູນໍ້າແມ່ນຖືກສະໜອງພ້ອມກັນ.

(LA) (EN)

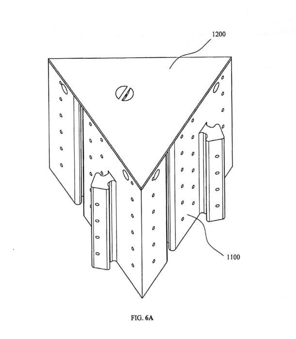
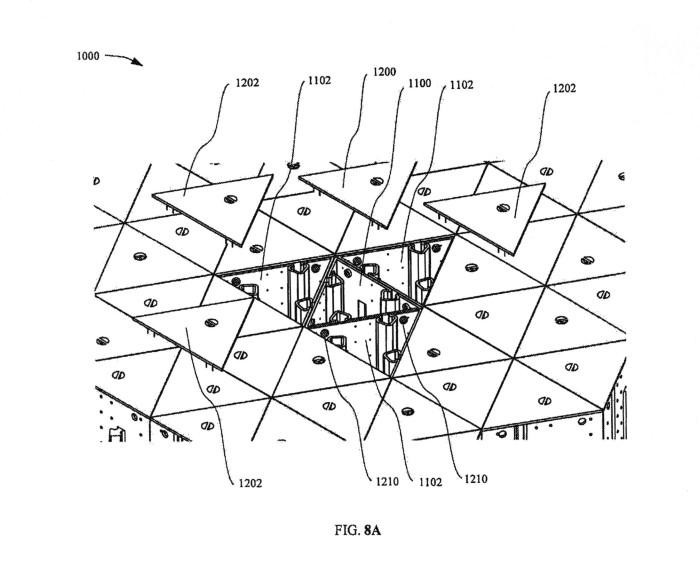
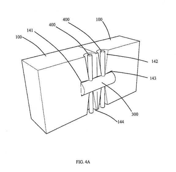
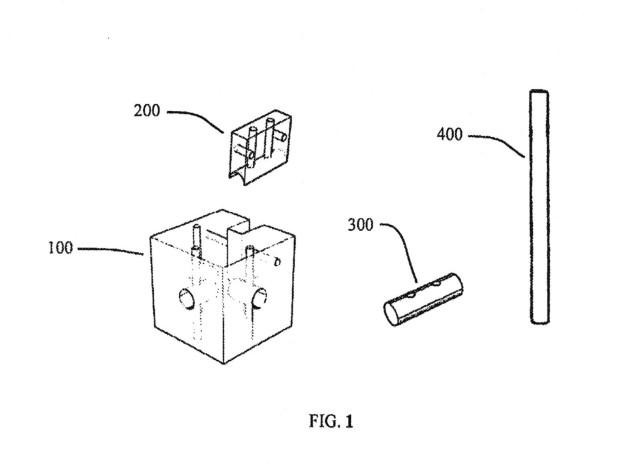
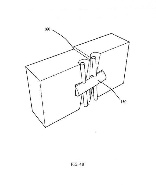
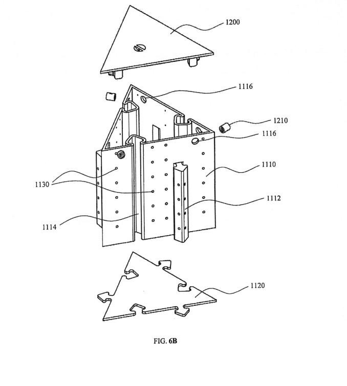
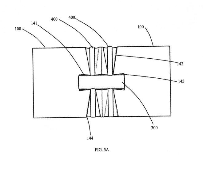
A floating territory is made of at least two floatable building componens having the shape of a prism with a regular polygon base. such as a triangle. a squarc, a penfagon a hexagon etc. combined with sliding doletails ard dovetarl grooves for sliding attachment to neighbonng construction elemems. The attachments allow the floatable building components to slide vertically relative to each other, thereby permitting the floatng territory to follow the uprward and dowmward movement of the waves. A method of cornening floating ocean waste into structures. in particular, floating territories is also provided.

(58) Citations
License Details
(98) Annuity Details
YearValidity StartValidity EndPayment
Event NameDateLink
Application filed2024-03-28