Application Type
Patents
Application SubType
National Patent
(10) Registration Number and Date
Status
ACTIVE ( Search and examination requested)
(180) Expiration Date
(20) Filing Number and Date
TH 2501005599 2025.08.22
(40) Publication Number (Gazette Number) and Date
(5/2569)
2026.02.02
(86) PCT Filing Number and Date
(87) PCT Publication Number and Date
(85) National Entry Date
(30) Priority Details
JP
JP2024-145472
2024.08.27
(51) IPC Classes
(74) Representative
(TH) นาง สายทิพย์ ฤดีอเนกสิน : แห่ง บริษัท สำนักกฎหมาย ดำเนิน สมเกียรติ และบุญมา จำกัด อยู่ที่ 719 สี่พระยา ตำบลบางรัก อำเภอบางรัก จังหวัดกรุงเทพมหานคร
นางสาว ปรับโยชน์ ศรีกิจจาภรณ์
นาย จักรพรรดิ์ มงคลสิทธิ์
นาย รุทร นพคุณ
(54) Title
(TH)

หัวฉีดของเหลว และอุปกรณ์การฉีดของเหลว

(57) Abstract
(TH)

OCR 06WT

หัวฉีดของเหลว รวมถึงส่วนก่อรูปทางผ่านทางไหลซึ่งรวมถึงช่องฉีดของเหลวผ่านซึ่ง

ของเหลวจะได้รับการจ่ายออกไป ห้องแรงดันที่เชื่อมต่อกับช่องฉีด และทางผ่านการไหลแต่ละ

ทางผ่านที่เชื่อมต่อกับห้องแรงดัน; ส่วนย่อยเพื่อการสร้างพลังงานที่หนึ่งที่อยู่ในตำแหน่งที่สอดคล้อง

กับห้องแรงดันของส่วนสร้างทางผ่านการไหล โดยส่วนย่อยเพื่อการสร้างพลังงานที่หนึ่งได้รับการ

กำหนดค่าให้สร้างพลังงานสำหรับการจ่ายของเหลวออกจากช่องฉีด: ส่วนย่อยเพื่อการสร้างพลังงานที่

สองที่อยู่ในตำแหน่งที่สอดคล้องกับทางผ่านการไหลแต่ละทางผ่านของส่วนสร้างทางผ่านการไหล

โดยส่วนช่อยเพื่อการสร้างพลังงานที่สองได้รับการกำหนดค่าให้สร้างพลังงานสำหรับการทำให้

ของเหลวไหลผ่านทางผ่านการไหลแต่ละทางผ่าน: และวงจรการขับเคลื่อนการเลือกที่กำหนดค่าให้

กำหนดว่าจะขับเคลื่อนส่วนช่อยเพื่อการสร้างพลังงานที่สองหรือไม่ โดยขึ้นอยู่กับว่าจะขับเคลื่อน

ส่วนย่อยเพื่อการสร้างพลังงานที่หนึ่งหรือไม่

(58) Citations
License Details
(98) Annuity Details
YearValidity StartValidity EndPayment
Document Type Date Action
claims 2026-02-02T00:00:00Z
description 2026-02-02T00:00:00Z
gazette 2026-02-02T00:00:00Z
abstract 2026-02-02T00:00:00Z
Event NameDateLink
Application filed2025-08-22
Document published2026-02-02
Search and examination requested2026-02-11

1

OCR 06WT

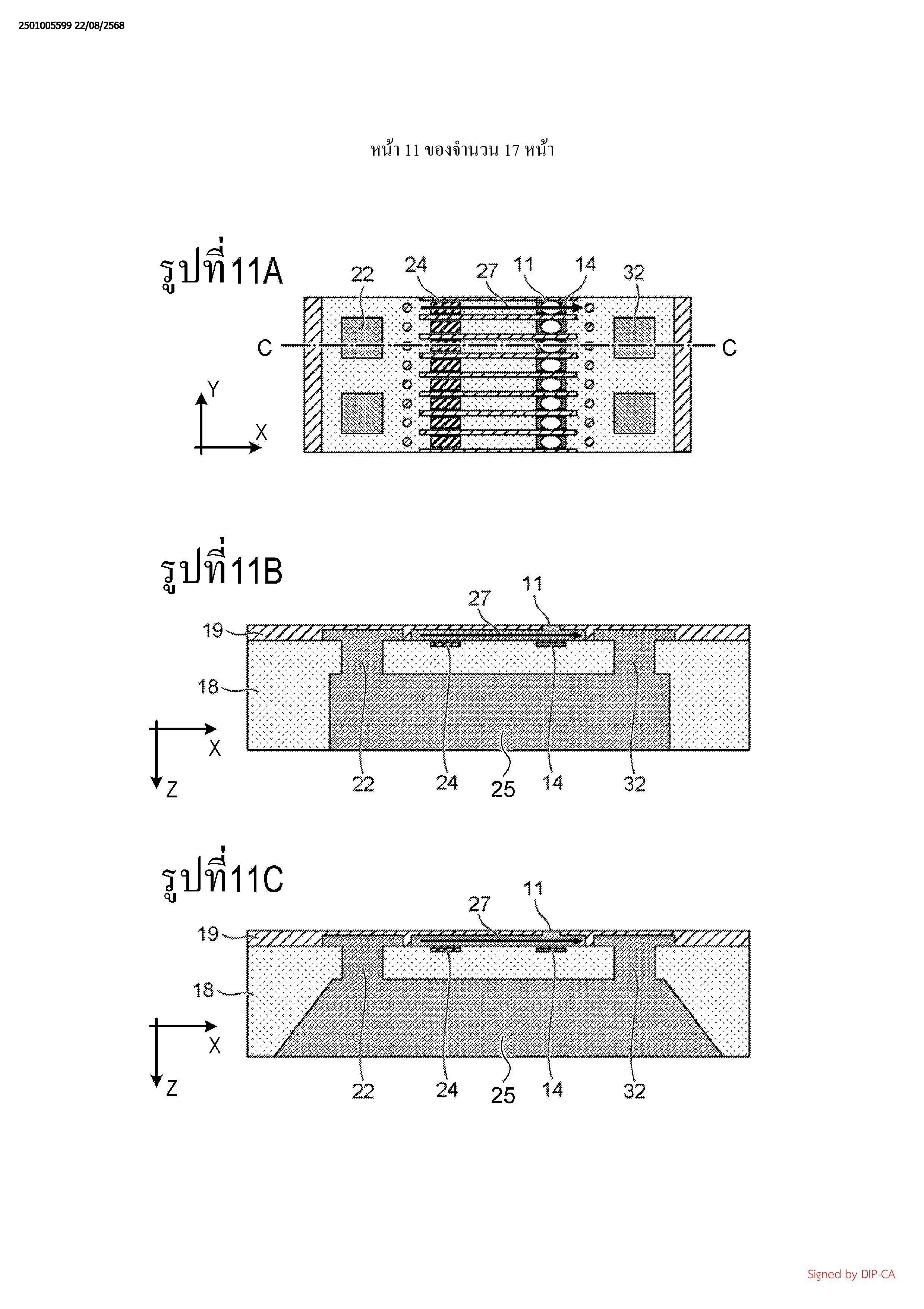
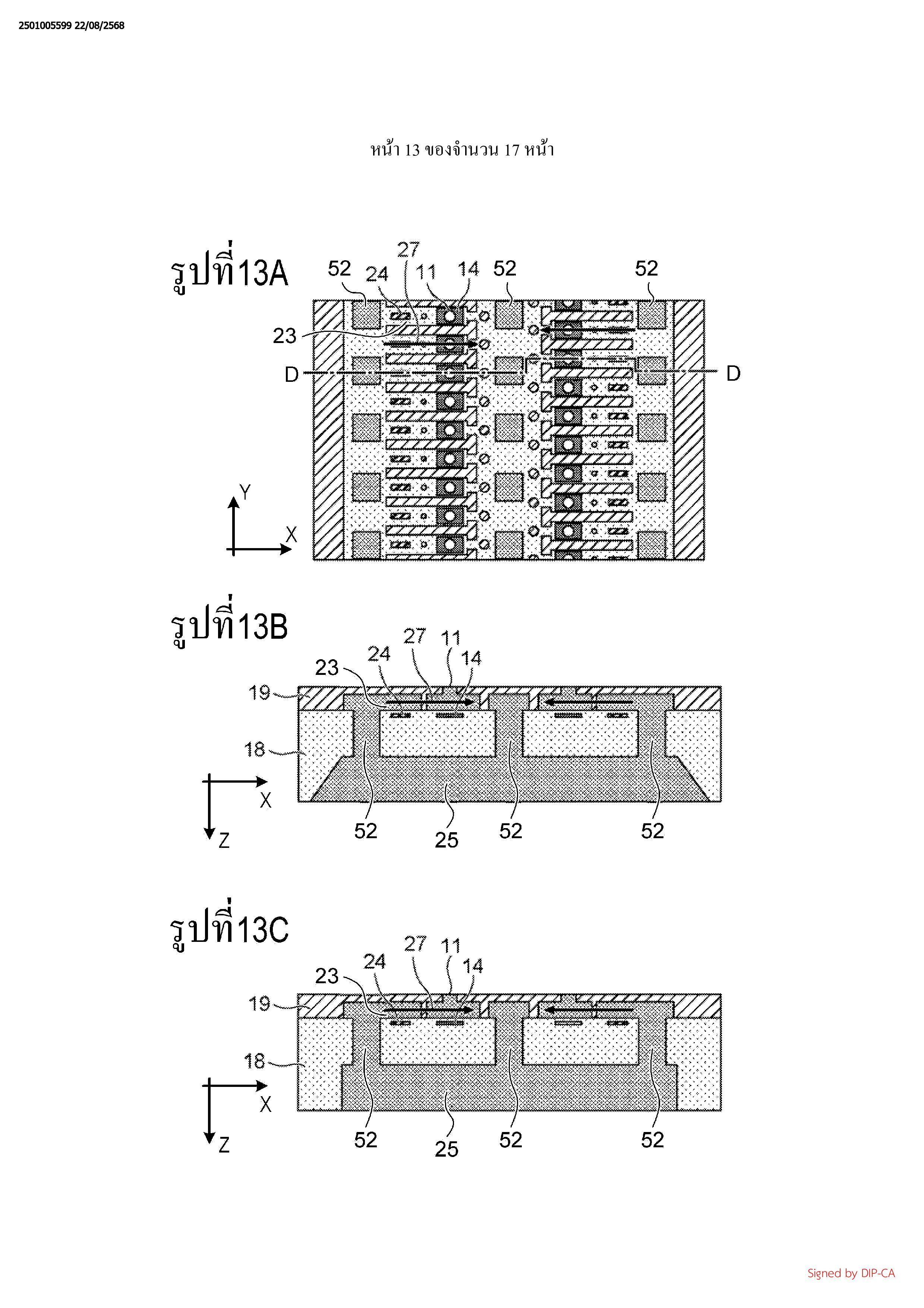
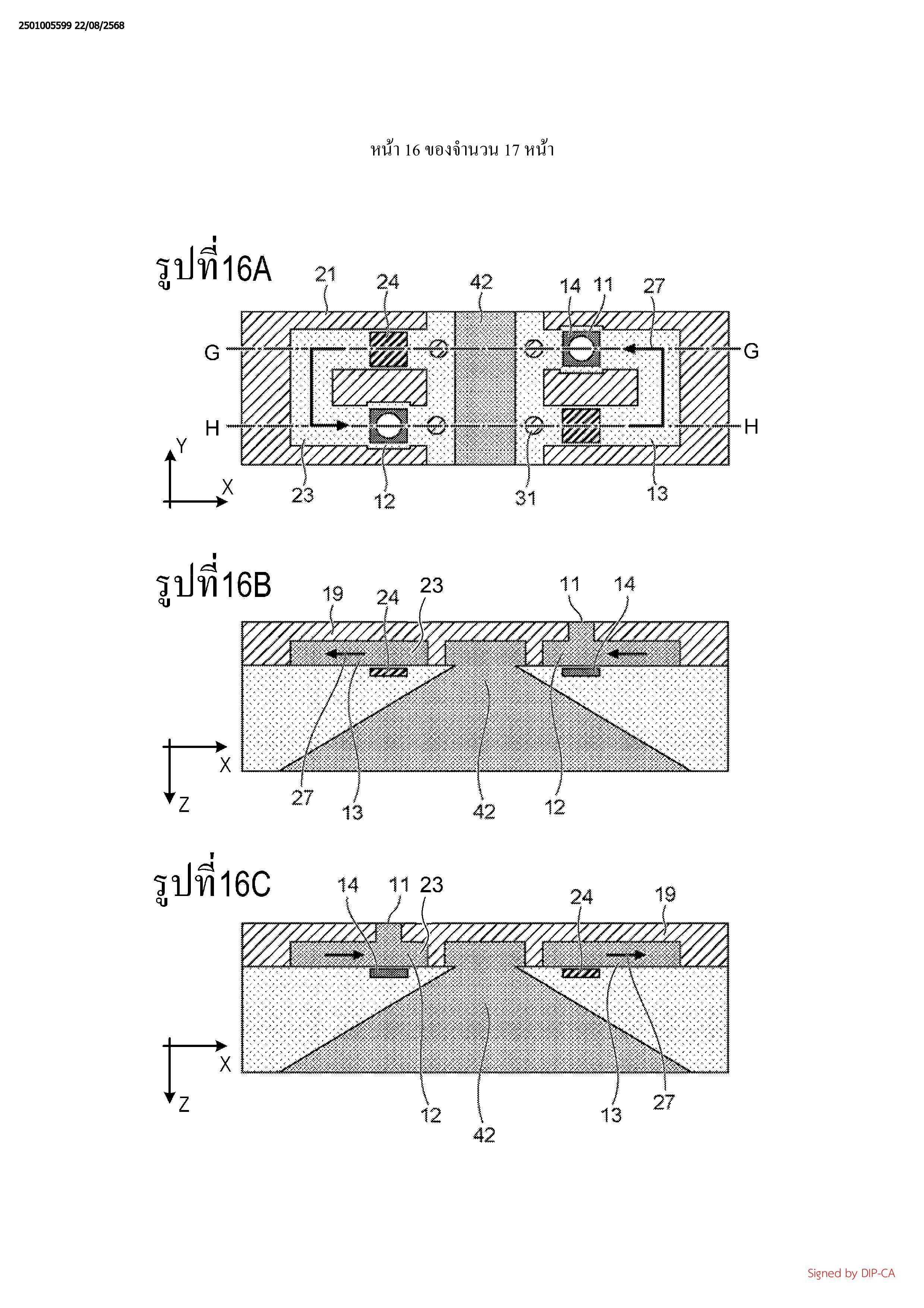
1. หัวฉีดของเหลว ซึ่งประกอบรวมด้วย:

ส่วนสร้างทางผ่านการไหลซึ่งรวมถึงช่องฉีดซึ่งของเหลวได้รับการฉีดผ่านไป, ห้องแรงดันที่

เชื่อมต่อกับช่องฉีด และทางผ่านการไหลแต่ละทางผ่านที่เชื่อมต่อกับห้องแรงดัน;

ส่วนช่อยเพื่อการสร้างพลังงานที่หนึ่ง ซึ่งอยู่ในตำแหน่งที่ตรงกับห้องแรงดันของส่วนสร้าง

ทางผ่านการไหล โดยส่วนย่อยเพื่อการสร้างพลังงานที่หนึ่ง ได้รับการกำหนดค่าให้สร้างพลังงานเพื่อ

ป้อนจ่ายของเหลวออกจากช่องฉีด;

ส่วนย่อยเพื่อการสร้างพลังงานที่สองซึ่งอยู่ในตำแหน่งที่ตรงกับทางผ่านการไหลแต่ละ

ทางผ่านของส่วมสร้างทางผ่านการไหล โดยส่วนย่อยเพื่อการสร้างพลังงานที่สองได้รับการกำหนดต่า

ให้สร้างพลังงานเพื่อให้ของเหลวไหลผ่าน ทางผ่านการไหลแต่ละทางผ่าน; และ

วงจรการขับเคลื่อนการเลือกซึ่งได้รับการกำหนดค่าให้กำหนดว่าจะขับเคลื่อนส่วนย่อยเพื่อ

การสร้างพลังงานที่สองหรือไม่ ขึ้นอยู่กับว่าจะขับเคลื่อนส่วนย่อยเพื่อการสร้างพลังงานที่หนึ่งหรือไม่

2. หัวฉีดของเหลวตามข้อถือสิทธิข้อ 1 ซึ่งยังประกอบรวมด้วย;

ส่วนควบคุมที่กำหนดค่าให้ควบคุมการขับเคลื่อนของส่วนย่อยเพื่อการสร้างพลังงานที่หนึ่ง

โดยการส่งสัญญาณควบคุมเพื่อกำหนดสถานะการขับเคลื่อนของส่วนย่อยเพื่อการสร้างพลังงาน

ที่หนึ่ง

ที่ซึ่ง วงจรการขับเคลื่อนการเลือกจะเลือกและขับเคลื่อนส่วนย่อยเพื่อการสร้างพลังงานที่

หนึ่งและส่วนย่อยเพื่อการสร้างพลังงานที่สองเพียงส่วนย่อยเดียว โดยอาศัยสัญญาณควบคุมเพื่อ

กำหนดสถานะการขับเคลื่อนของส่วนย่อยเพื่อการสร้างพลังงานที่หนึ่ง

3. หัวฉีดของเหลวตามข้อถือสิทธิข้อ 2

ที่ซึ่ง วงจรการขับเคลื่อนการเลือกจะไม่ขับเคลื่อนส่วนช่อยเพื่อการสร้างพลังงานที่สองใน

กรณีที่ส่วนย่อยเพื่อการสร้างพลังงานที่หนึ่งได้รับการขับเคลื่อน และจะขับเคลื่อนส่วนช่อยเพื่อการ

สร้างพลังงานที่สองในกรณีที่ส่วนย่อยเพื่อการสร้างพลังงานที่หนึ่งไม่ได้รับการขับเคลื่อน

4. หัวฉีดของเหลวตามข้อถือสิทธิข้อ 1 ถึงข้อ 3 ข้อใดข้อหนึ่ง

ที่ซึ่งวงจรการขับเคลื่อนการเลือกจะควบคุมส่วนย่อยเพื่อการสร้างพลังงานที่หนึ่งและ

ส่วนช่อยเพื่อการสร้างพลังงานที่สองอย่างเลือกสรร ภายใต้การควบคุมการแบ่งเวลาเดียวกัน

5. หัวฉีดของเหลวตามข้อถือสิทธิข้อ 1 ถึงข้อ 4 ข้อใดข้อหนึ่ง

ที่ซึ่งวงจรการขับเคลื่อนการเลือกได้รับการกำหนดค่าให้กำหนดว่าจะขับเคลื่อนเฉพาะ

ส่วนย่อยเพื่อการสร้างพลังงานที่หนึ่ง ขับเคลื่อนเฉพาะส่วนช่อยเพื่อการสร้างพลังงานที่สอง หรือไม่

ขับทั้งส่วนย่อยเพื่อการสร้างพลังงานที่หนึ่งและส่วนย่อยเพื่อการสร้างพลังงานที่สอง

6. หัวฉีดของเหลวตามข้อถือสิทธิข้อ 1 ถึงข้อ 5 ข้อใดข้อหนึ่ง

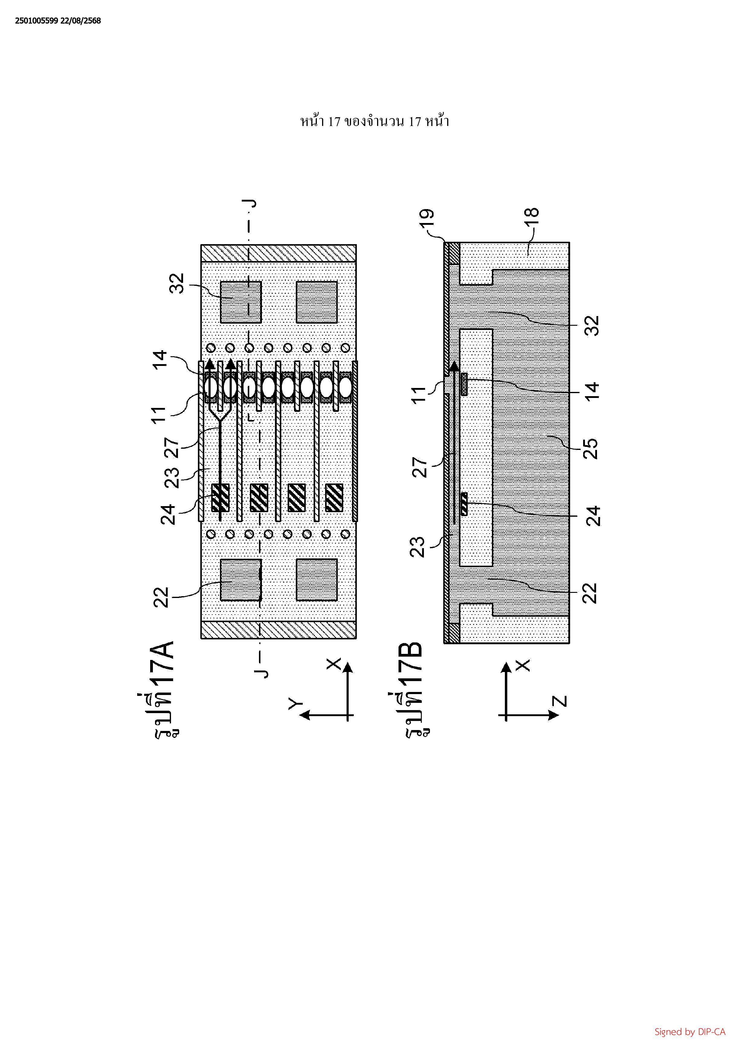
ที่ซึ่ง ทางผ่านการไหลแต่ละทางผ่าน ได้รับการสร้างขึ้นเป็นรูปทรงเส้นตรงในพิสัยจาก

ตำแหน่งที่สอดคล้องกับส่วนช่อยเพื่อการสร้างพลังงานที่สองไปจนถึงตำแหน่งที่สอดคล้องกับ

ส่วนย่อยเพื่อการสร้างพลังงานที่หนึ่ง

7. หัวฉีดของเหลวตามข้อถือสิทธิข้อ 6

ที่ซึ่ง ส่วนสร้างทางผ่านการไหลมีช่องเปิดที่หนึ่งสำหรับป้อนจ่ายของเหลวไปยังทางผ่านการ

ไหลแต่ละทางผ่านในกรณีที่มีการขับเคลื่อนส่วนย่อยเพื่อการสร้างพลังงานที่สอง และช่องเปิดที่สอง

สำหรับรวบรวมของเหลวที่ไหลออกจากทางผ่านการไหลแต่ละทางผ่านในกรณีที่มีการขับเคลื่อน

ส่วนย่อยเพื่อการสร้างพลังงานที่สอง และ

ที่ซึ่ง ในทิศทางที่ขยายออกของทางผ่านการไหลแต่ละทางผ่าน ช่องเปิดที่หนึ่งจะ ได้รับการจัด

วางอยู่ด้านหนึ่งเทียบกับทางผ่านการไหลแต่ละทางผ่าน และช่องเปิดที่สองจะ ได้รับการจัดวางอยู่อีก

ด้านหนึ่ง ซึ่งอยู่ตรงข้ามกับด้านหนึ่งเทียบกับทางผ่านการไหลแต่ละทางผ่าน

8. หัวฉีดของเหลวตามข้อถือสิทธิข้อ 7

ที่ซึ่ง ส่วนสร้างทางผ่านการไหลมีทางผ่านการไหลแต่ละทางผ่านจำนวนหนึ่งที่จัดเรียงใน

ทิศทางที่หนึ่ง ช่องเปิดที่หนึ่งจำนวนหนึ่งที่จัดเรียงในทิศทางที่หนึ่ง และช่องเปิดที่สองจำนวนหนึ่งที่

จัดเรียงในทิศทางที่หนึ่ง และ

ที่ซึ่ง หัวฉีดของเหลวยังประกอบรวมด้วยส่วนย่อยเพื่อการสร้างพลังงานที่หนึ่งหลายส่วน

และส่วนช่อยเพื่อการสร้างพลังงานที่สองหลายส่วนที่สอดคคล้องกับทางผ่านการไหลแต่ละทางผ่าน

9. หัวฉีดของเหลวตามข้อถือสิทธิข้อ 8

ที่ซึ่ง วงจรการขับเคลื่อนการเลือก รวมถึงส่วนการเดินสายไฟจำนวนหนึ่ง ที่เชื่อมต่อกับ

ส่วนย่อยเพื่อการสร้างพลังงานที่หนึ่งและส่วนย่อยเพื่อการสร้างพลังงานที่สอง และการเดินสายไฟ

แต่ละส่วน ได้รับการจัดวางอยู่ด้านหนึ่งโดยสัมพันธ์กับทางผ่านการไหลแต่ละทางผ่าน

10. หัวฉีดของเหลวตามข้อถือสิทธิข้อ 8

ที่ซึ่ง วงจรการขับเคลื่อนการเลือกรวมถึง การเดินสายไฟจำนวนหนึ่งที่เชื่อมต่อกับส่วนย่อย

เพื่อการสร้างพลังงานที่หนึ่ง และส่วนย่อยเพื่อการสร้างพลังงานที่สอง และการเดินสายไฟจำนวน

หนึ่งแต่ละส่วน ได้รับการจัดวางอยู่อีกด้านหนึ่งโดยสัมพันธ์กับทางผ่านการไหลแต่ละทางผ่าน

11. หัวฉีดของเหลวตามข้อถือสิทธิข้อ 8

ที่ซึ่ง วงจรการขับเคลื่อนการเลือกรวมถึง การเดินสายไฟจำนวนหนึ่งที่เชื่อมต่อกับส่วนย่อย

เพื่อการสร้างพลังงานที่หนึ่งและส่วนช่อยเพื่อการสร้างพลังงานที่สอง และในบรรดาการเดินสายไฟ

จำนวนหนึ่งที่ว่านั้น การเดินสายไฟบางส่วนได้รับการจัดวางอยู่ด้านหนึ่ง โดยสัมพันธ์กับทางผ่านการ

ไหลแต่ละทางผ่าน และการเดินสายไฟบางส่วนได้รับการจัดวางอยู่อีกด้านหนึ่งโดยสัมพันธ์กับ

ทางผ่านการไหลแต่ละทางผ่าน

12. หัวฉีดของเหลวตามข้อถือสิทธิข้อ 8 ถึงข้อ 11 ข้อใดข้อหนึ่ง

ที่ซึ่ง วงจรการขับเคลื่อนการเลือกรวมถึงการเดินสายไฟจำนวนหนึ่งที่เชื่อมต่อกับส่วนย่อย

เพื่อการสร้างพลังงานที่หนึ่ง และส่วนย่อยเพื่อการสร้างพลังงานที่สอง และการเดินสายไฟจำนวน

หนึ่ง ได้รับการจัดวางให้ผ่านระหว่างช่องเปิดสองช่องที่หนึ่ง ที่อยู่ติดกันในทิศทางที่หนึ่ง

13. หัวฉีดของเหลวตามข้อถือสิทธิข้อ 1 ถึงข้อ 5 ข้อใดข้อหนึ่ง

ที่ซึ่ง ทางผ่านการไหลแต่ละทางผ่านได้รับการสร้างขึ้นในรูปทรงต่างๆ ตั้งแต่ตำแหน่งที่

สอดคล้องกับส่วนย่อยเพื่อการสร้างพลังงานที่สองไปจนถึงตำแหน่งที่สอดคคล้องกับส่วนช่อยเพื่อการ

สร้างพลังงานที่หนึ่ง

14. หัวฉีดของเหลวตามข้อถือสิทธิข้อ 13

ที่ซึ่ง ส่วนปลายด้านหนึ่งและส่วนปลายอีกด้านหนึ่งของทางผ่านการไหลแต่ละทางผ่าน

อยู่ติดกันในทิศทางที่หนึ่ง

15. หัวฉีดของเหลวตามข้อถือสิทธิข้อ 14

ที่ซึ่ง ส่วนการสร้างทางผ่านการไหลมีทางผ่านการไหลแต่ละทางผ่านจำนวนหนึ่งและ

มีร่องปื้อนจ่ายสำหรับปื้อนจ่ายของเหลวไปยังทางผ่านการไหลแต่ละทางผ่านจำนวนหนึ่ง และทิศทาง

ตามยาวของร่องป้อนจ่ายคือทิศทางที่หนึ่ง และ

ที่ซึ่ง ทางผ่านการไหลแต่ละทางผ่านจำนวนหนึ่งได้รับการจัดเรียงในทิศทางที่ด้านหนึ่ง

และโดยที่อีกด้านหนึ่งเทียบกับร่องป้อนจ่ายในทิศทางที่สองที่ตัดกับทิศทางที่หนึ่ง

16. หัวฉีดของเหลวตามข้อถือสิทธิข้อ 1 ถึงข้อ 5 ข้อใดข้อหนึ่ง

ที่ซึ่ง ในทางผ่านการไหลแต่ละทางผ่านนั้น มีห้องแรงดันสองห้องและส่วนย่อยเพื่อการ

สร้างพลังงานที่หนึ่งสองส่วน ที่ได้รับการจัดให้มีไว้สอดคล้องกัน และ

ที่ซึ่ง ทางผ่านการไหลแต่ละทางผ่านได้รับการสร้างขึ้นเพื่อแขกเป็นสองส่วนจากตำแหน่งที่

สอดคล้องกับส่วนย่อยเพื่อการสร้างพลังงานที่สองไปยังตำแหน่งที่สุดดคล้องกับส่วนช่อยเพื่อการ

สร้างพลังงานที่หนึ่ง

17. หัวฉีดของเหลวตามข้อถือสิทธิข้อ 16

ที่ซึ่ง วงจรการขับเคลื่อนการเลือก ขับเคลื่อนส่วนย่อยเพื่อการสร้างพลังงานที่สอง ในกรณีที่

ส่วนย่อยเพื่อการสร้างพลังงานที่หนึ่งทั้งสองส่วน ไม่ได้รับการขับเคลื่อน

18. หัวฉีดของเหลวตามข้อถือสิทธิข้อ 16

ที่ซึ่ง วงจรการขับเคลื่อนการเลือก ขับเคลื่อนส่วนย่อยเพื่อการสร้างพลังงานที่สอง ในกรณีที่

ส่วนย่อยเพื่อการสร้างพลังงานที่หนึ่งเพียงส่วนเดียวจากสองส่วน ได้รับการขับเคลื่อน

19. หัวฉีดของเหลวตามข้อถือสิทธิข้อ 1 ถึงข้อ 18 ข้อใดข้อหนึ่ง

ที่ซึ่ง ส่วนย่อยเพื่อการสร้างพลังงานที่หนึ่งอย่างน้อยหนึ่งส่วน และส่วนช่อยเพื่อการสร้าง

พลังงานที่สอง เป็นส่วนย่อยการแปลงไฟฟ้า-ความร้อน

20. อุปกรณ์ฉีดของเหลวประกอบรวมด้วย:

ส่วนลำเลียงที่กำหนดค่าให้ลำเลียงสื่อบันทึก และหัวฉีดของเหลวตามข้อถือสิทธิข้อ 1 ถึงข้อ

19 ข้อใดข้อหนึ่ง