Application Type
Patents
Application SubType
National Patent
(10) Registration Number and Date
Status
ACTIVE ( Document published)
(180) Expiration Date
(20) Filing Number and Date
TH 2501006035 2025.09.10
(40) Publication Number (Gazette Number) and Date
(7/2569)
2026.02.16
(86) PCT Filing Number and Date
(87) PCT Publication Number and Date
(85) National Entry Date
(30) Priority Details
JP
JP2024-159285
2024.09.13
(51) IPC Classes
(72) Inventor
(TH) โทโมโนบุ มัตสึโนะ : ส่งผ่าน เคเอ็มซีที คอร์ปอเรชั่น, 7-1, นิชิ-ชินจูกุ 2-โชเมะ, ชินจูกุ-กุ, กรุงโตเกียว 163-0704 ญี่ปุ่น
(74) Representative
(TH) นาย กฤชวัชร์ ชัยนภาศักดิ์ : สำนักกฎหมายบริษัท สัตยะพล แอนด์ พาร์ทเนอร์ส จำกัด เลขที่ 140 อาคารแปซิฟิค เพลส สุขุมวิท ตำบลคลองเตย อำเภอคลองเตย จังหวัดกรุงเทพมหานคร
นาย สัตยะพล สัจจเดชะ
(54) Title
(TH)

ท่อถ่ายโอนความร้อนแบบเดือดและวิธีการผลิตท่อถ่ายโอนความร้อนแบบเดือด

(57) Abstract
(TH)

OCR 07AP

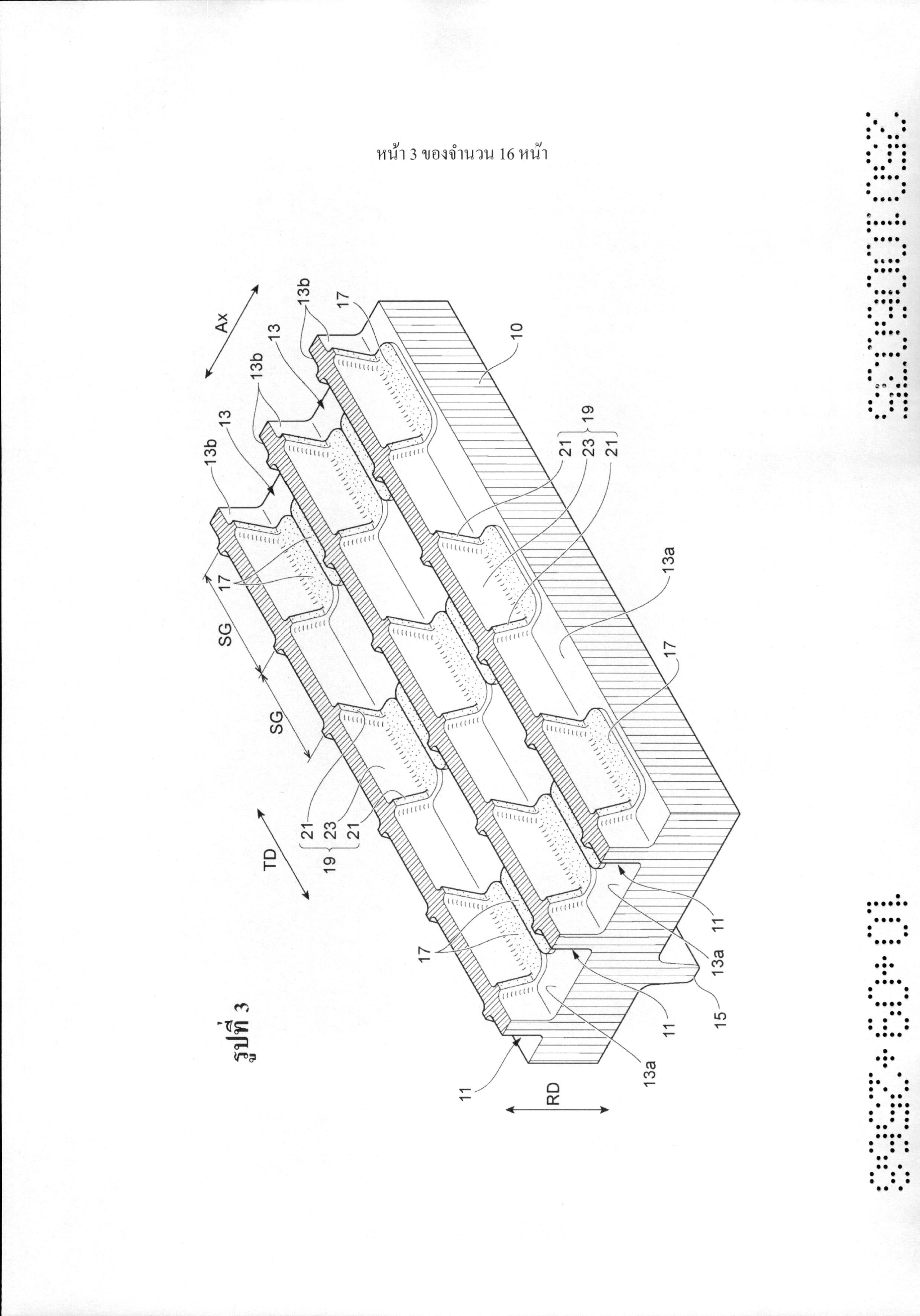
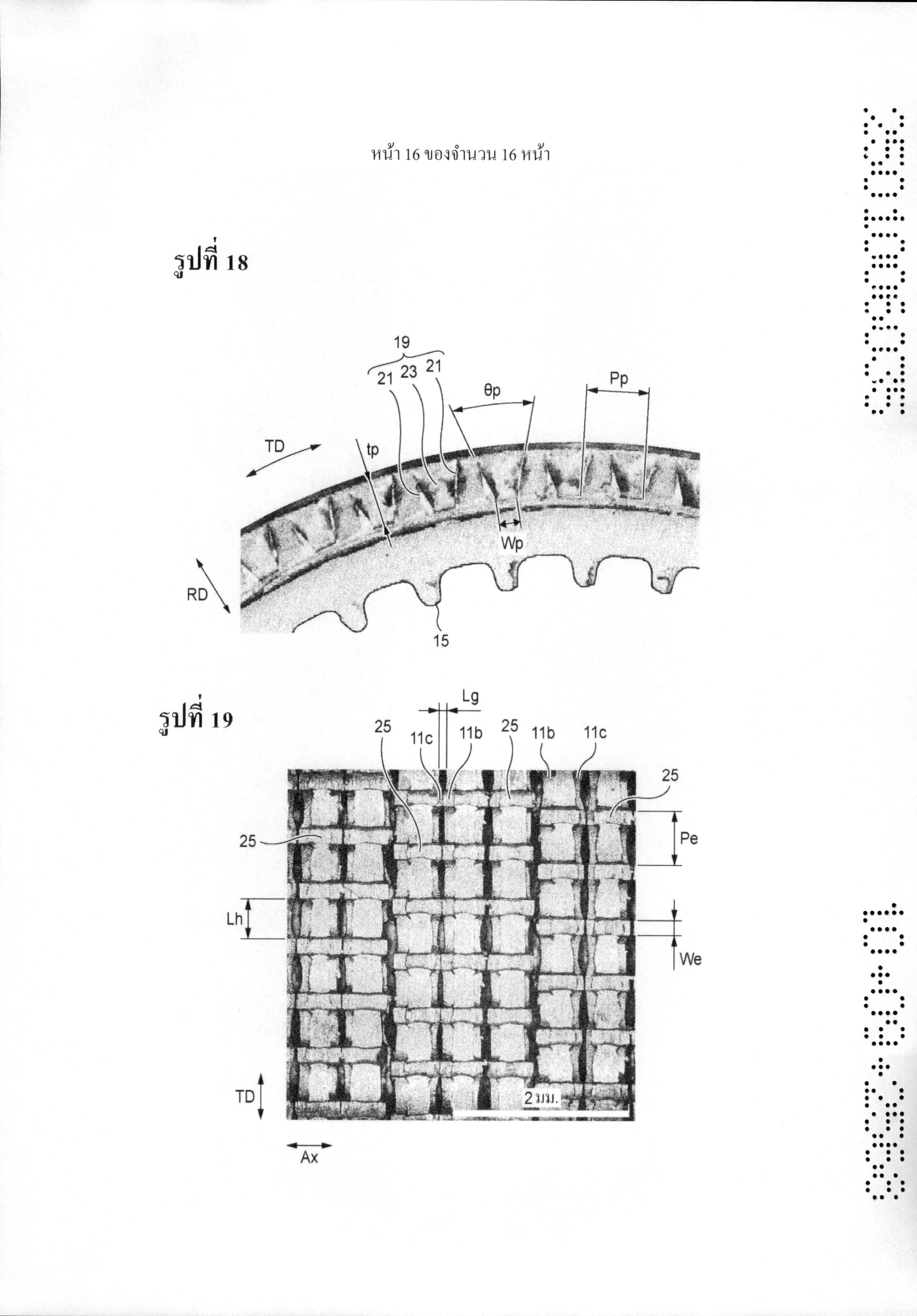
เพื่อจัดให้มีท่อถ่ายโอนความร้อนแบบเดือดสามารถทำการคงรักษาค่าสัมประสิทธิ์ถ่ายโอน ความร้อนสูง และการทำให้ได้ค่าสัมประสิทธิ์ถ่ายโอนความร้อนสูง และวิธีสำหรับการผลิตท่อถ่าย โอนความร้อนแบบเดือด ท่อถ่ายโอนความร้อนแบบเดือดมีจำนวนหนึ่งของแถวของครบ (11) ถูกถ่อ รูปหมุนเกลียวไปตามเพลาตรงกลางของลำตัวท่อ แต่ละครบ (11) มีส่วนขา (11a) และคู่ของส่วนยื่น (11b, 11c) ส่วนโพรง (13) ถูกกำหนดระหว่างครบ (11) อยู่ติดกับแต่ละส่วน และต่อเนื่องในทิศทาง ตามเส้นรอบวง พื้นผิวผนังด้านข้าง (13b) มีส่วนที่เป็นร่อง (23) ถูกทำให้เป็นร่องในทิศทางแกนท่อ และพื้นผิวด้านล่าง (13a) มีจำนวนหนึ่งของส่วนฐานที่มีรูปร่างแบน (17), แต่ละส่วนของส่วนฐานที่มี รูปร่างแบน (17) ถูกก่อรูปขึ้นโดยชิ้นขยายจะยื่นออกจากส่วนที่เป็นร่อง (23) การกดอัดเทียบกับพื้นผิว ด้านล่าง (13a)

(58) Citations
License Details
(98) Annuity Details
YearValidity StartValidity EndPayment
Document Type Date Action
abstract 2026-02-16T00:00:00Z
claims 2026-02-16T00:00:00Z
gazette 2026-02-16T00:00:00Z
description 2026-02-16T00:00:00Z
Event NameDateLink
Application filed2025-09-10
Document published2026-02-16

1

OCR 07AP

1. ท่อถ่ายโอนความร้อนแบบเดือด ซึ่งประกอบรวมด้วย: จำนวนหนึ่งของแถวของครบซึ่งยื่นออกมาตามแนวรัศมีจากพื้นผิวโดยรอบด้านนอกของ ลำตัวท่อ และถูกก่อรูปหมุนเกลียวไปตามเพลาตรงกลางของลำตัวท่อ, ที่ซึ่ง แต่ละครบมีส่วนขาถูกตั้งขึ้นบนพื้นผิวโดยรอบด้านนอกของลำตัวท่อ และคู่ของส่วนยื่น ซึ่ง ยื่นในทิศทางตรงกันข้ามไปตามทิศทางแนวแกนของท่อของลำตัวท่อจากปลายบนสุดของส่วนขาบน ด้านนอกตามแนวรัศมี, ส่วนโพรงถูกกำหนดระหว่างครีบที่อยู่ติดกันในทิศทางแกนท่อ, ส่วนโพรงถูกล้อมรอบโดย ส่วนยื่นหนึ่งในครีบ, ส่วนยื่นของอีกหนึ่งครีบ, ซึ่งยื่นเข้าหากัน, และคู่ของส่วนขาหันหน้าเข้าหากัน และต่อเนื่องกันในทิศทางตามเส้นรอบวง, พื้นผิวผนังด้านข้างของส่วนโพรงมีส่วนที่เป็นร่องถูกทำให้เป็นร่องในทิศทางแกนท่อ, และ พื้นผิวด้านล่างของส่วนโพรง มีจำนวนหนึ่งของส่วนฐานที่มีรูปร่างแบน, แต่ละส่วนของส่วน ฐานที่มีรูปร่างแบนถูกถ่อรูปขึ้นโดยการกดอัดชิ้นขยายจะยื่นออกจากส่วนที่เป็นร่องเทียบกับพื้นผิว ด้านล่าง 2. ท่อถ่ายโอนความร้อนแบบเดือดตามข้อถือสิทธิข้อ 1, ที่ซึ่ง พื้นผิวผนังด้านข้างของส่วนโพรง มีจำนวนหนึ่งของส่วนที่ไม่เรียบ แต่ละส่วนที่มีส่วนยื่น ซึ่ง ยื่นออกมาจากส่วนที่เป็นร่องในทิศทางแกนท่อ และซึ่งขยายไปตามทิศทางแนวรัศมี 3. ท่อถ่ายโอนความร้อนแบบเดือดตามข้อถือสิทธิข้อ 1, ที่ซึ่ง ส่วนเชื่อมต่อ ซึ่งส่วนยื่นอยู่ติดกับแต่ละส่วนในทิศทางแกนท่อถูกเชื่อมต่อซึ่งจะถูกทำให้เป็น ร่องเข้าด้านในตามแนวรัศมีถูกจัดให้มีที่จำนวนหนึ่งของตำแหน่งตามทิศทางตามเส้นรอบวง, และ ส่วนเชื่อมต่อเป็นส่วนแคบที่ซึ่งบริเวณพื้นที่หน้าตัดของส่วนโพรงในส่วนตัดขวางในทิศทาง แกนท่อน้อยกว่าบริเวณส่วนตัดขวางของส่วนอื่นนอกจากส่วนเชื่อมต่อ, และส่วนโพรงถูกแบ่ง ออกเป็นจำนวนหนึ่งของส่วนขนาดเล็กตามทิศทางตามเส้นรอบวงโดยส่วนแคบ 4. ท่อถ่ายโอนความร้อนแบบเดือดตามข้อถือสิทธิข้อ 2, ที่ซึ่ง ส่วนเชื่อมต่อ ซึ่งส่วนยื่นอยู่ติดกับแต่ละส่วนในทิศทางแกนท่อถูกเชื่อมต่อโดยจะถูกทำให้ เป็นร่องเข้าด้านในตามแนวรัศมีถูกจัดให้มีที่จำนวนหนึ่งของตำแหน่งตามทิศทางตามเส้นรอบวง, และ ส่วนเชื่อมต่อเป็นส่วนแคบที่ซึ่งบริเวณพื้นที่หน้าตัดของส่วนโพรงในส่วนตัดขวางในทิศทาง แกนท่อน้อยกว่าบริเวณส่วนตัดขวางของส่วนอื่นนอกจากส่วนเชื่อมต่อ, และส่วนโพรงถูกแบ่งกั้น ส่วนออกเป็นจำนวนหนึ่งของส่วนขนาดเล็กตามทิศทางตามเส้นรอบวงโดยส่วนแคบ 5. ท่อถ่ายโอนความร้อนแบบเดือดตามข้อถือสิทธิข้อ 3, ที่ซึ่ง ส่วนเชื่อมต่อถูกจัดให้มีตลอดจำนวนหนึ่งของแถวของส่วนโพรง 6. ท่อถ่ายโอนความร้อนแบบเดือดตามข้อถือสิทธิข้อ 4, ที่ซึ่ง ส่วนเชื่อมต่อถูกจัดให้มีตลอดจำนวนหนึ่งของแถวของส่วนโพรง 7. ท่อถ่ายโอนความร้อนแบบเดือดตามข้อใดข้อหนึ่งของข้อถือสิทธิข้อ 1 ถึง 6, ที่ซึ่ง ส่วนฐานถูกวางอยู่บนพื้นผิวด้านล่างของส่วนโพรงที่ระยะห่างเท่ากันตามทิศทางตาม เส้นรอบวง 8. วิธีสำหรับการผลิตท่อถ่ายโอนความร้อนแบบเดือดตามข้อถือสิทธิข้อ 1, ซึ่งวิธีการประกอบ รวมด้วย: การทำให้เสียสภาพพลาสติกแก่พื้นผิวโดยรอบด้านนอกของลำตัวท่อ ในขณะที่การกดอัด เส้นรอบวงด้านนอกของจำนวนหนึ่งของจานม้วนเทียบกับพื้นผิวโดยรอบด้านนอกของลำตัวท่อเพื่อ ก่อรูปเกลียวจำนวนหนึ่งของแถวของครีบตามเพลาตรงกลางของลำตัวท่อ, จำนวนหนึ่งของแถวของ ครีบซึ่งยื่นออกมาตามแนวรัศมีจาก พื้นผิวโดยรอบด้านนอกของลำตัวท่อ; การสอดแทรกดิสก์การตัดที่มีใบมีดตัดบนเส้นรอบวงด้านนอกของดิสก์การตัดระหว่างครีบที่ อยู่ติดกันในทิศทางแกนท่อของลำตัวท่อ, และการตัดพื้นผิวด้านข้างของแต่ละครีบออกด้วยใบมีดตัด เพื่อถ่อรูปส่วนที่เป็นร่อง และชิ้นส่วนการขยาย; การสอดแทรกดิสก์ดันเข้า-ด้านในระหว่างครีบ หลังจาก การสอดแทรกของดิสก์การตัดใน ลักษณะที่ว่าชิ้นส่วนการขยายถูกดันเข้าไปในร่องด้านก้นระหว่างครีบ เพื่อก่อรูปส่วนฐานที่ร่องด้าน ก้น; และ การดันปลายบนสุดของครีบ หลังจาก การสอดแทรกของดิสก์ดันเข้า-ด้านในเข้าด้านในตาม แนวรัศมี เพื่อถ่อรูปคู่ของส่วนยื่น 9. วิธีสำหรับการผลิตท่อถ่ายโอนความร้อนแบบเดือดตามข้อถือสิทธิข้อ 8, ที่ซึ่ง การสอดแทรกของดิสก์การตัดถ่อรูป, บนพื้นผิวผนังด้านข้างของส่วนโพรง, จำนวนหนึ่งของ ส่วนที่ไม่เรียบ แต่ละส่วนที่มีส่วนยื่น ซึ่งยื่นออกมาจากส่วนที่เป็นร่องในทิศทางแกนท่อ และซึ่งขยาย ตามแนวรัศมี, และ ดิสก์ดันเข้า-ด้านในตัดส่วนหนึ่งของส่วนยื่นซึ่งยื่นออกมา 10. วิธีสำหรับการผลิตท่อถ่ายโอนความร้อนแบบเดือดตามข้อถือสิทธิข้อ 8, ที่ซึ่ง ดิสก์การตัดเป็นดิสก์เกียร์ที่มีฟันแหลมถูกถ่อรูปบนเส้นรอบวงด้านนอกของสิ่งเหล่านี้ 11. วิธีสำหรับการผลิตท่อถ่ายโอนความร้อนแบบเดือดตามข้อถือสิทธิข้อ 9,ที่ซึ่ง ดิสก์การตัดเป็นดิสก์เกียร์ที่มีฟันแหลมถูกถ่อรูปบนเส้นรอบวงด้านนอกของสิ่งเหล่านี้ 12. วิธีสำหรับการผลิตท่อถ่ายโอนความร้อนแบบเดือดตามข้อใดข้อหนึ่งของข้อถือสิทธิข้อ 8 ถึง 11, ที่ซึ่ง ส่วนยื่นอยู่ติดกับแต่ละส่วนในทิศทางแกนท่อถูกเชื่อมต่อซึ่งจะถูกทำให้เป็นร่องเข้าด้านใน ตามแนวรัศมีที่จำนวนหนึ่งของตำแหน่งตามทิศทางตามเส้นรอบวง เพื่อถ่อรูปส่วนแคบ ที่ซึ่งบริเวณ ส่วนตัดขวางของส่วนโพรงในส่วนตัดขวางในทิศทางแกนท่อน้อยกว่าบริเวณส่วนตัดขวางของส่วน อื่นนอกจากส่วนเชื่อมต่อ, และส่วนโพรงถูกแบ่งกั้นส่วนออกเป็นจำนวนหนึ่งของส่วนขนาดเล็กตาม ทิศทางตามเส้นรอบวงด้วยบริเวณแคบ