Application Type
National
Application SubType
(10) Registration Number and Date
10202401111V
Status
ACTIVE ( Other event occurred)
(180) Expiration Date
(20) Filing Number and Date
SG 10202401111V 2023.12.31
(40) Publication Number and Date
${pbin}
(86) PCT Filing Number and Date
(87) PCT Publication Number and Date
(85) National Entry Date
(30) Priority Details
JP
JP2023-069447
2023.01.01
(51) IPC Classes
    (74) Representative
    (54) Title
    (57) Abstract
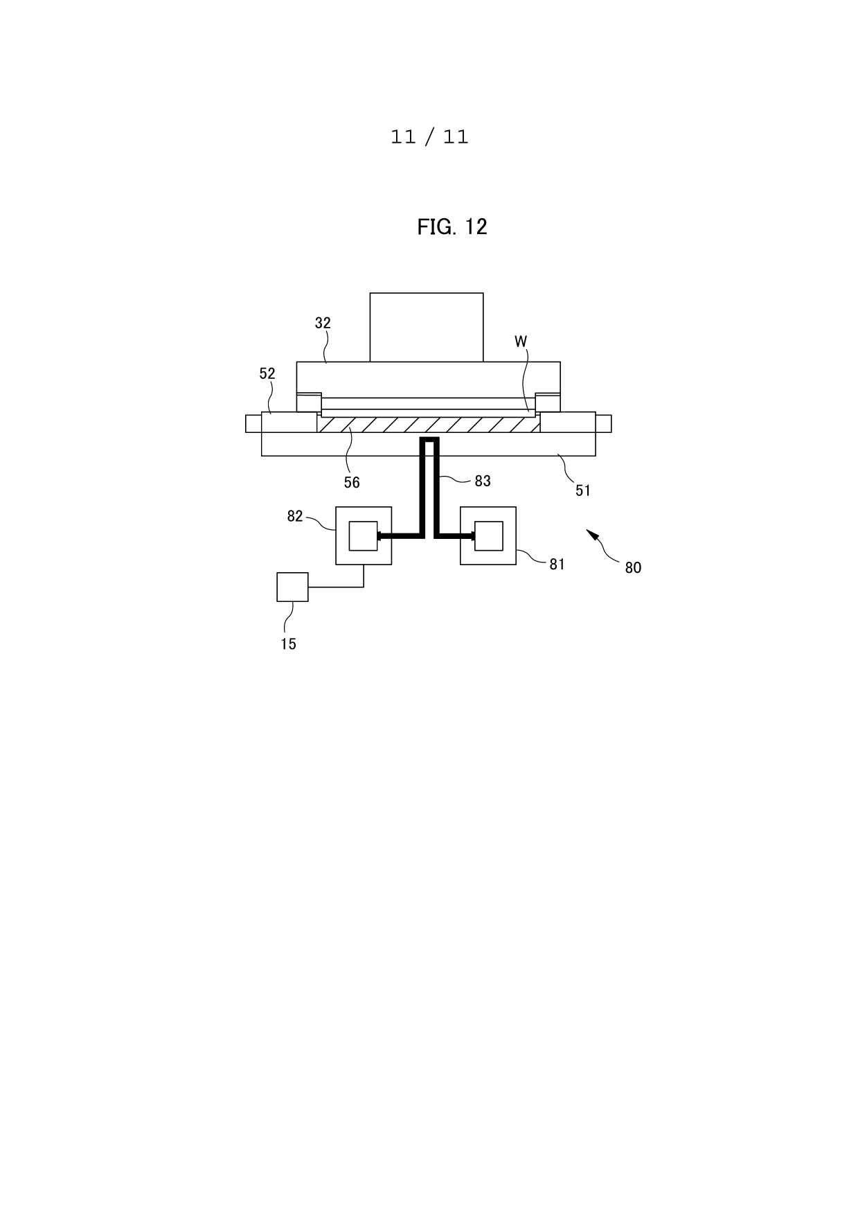
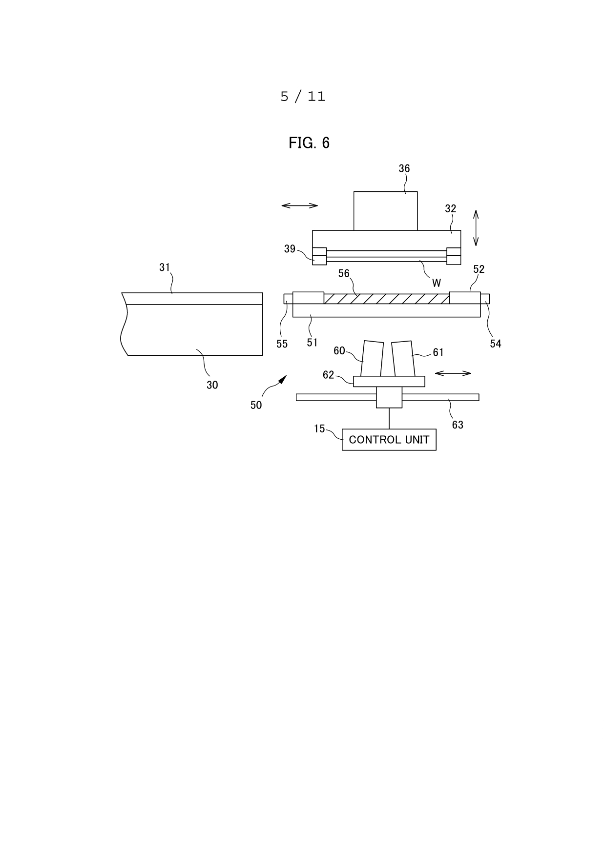
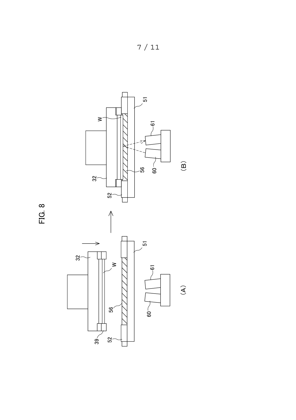
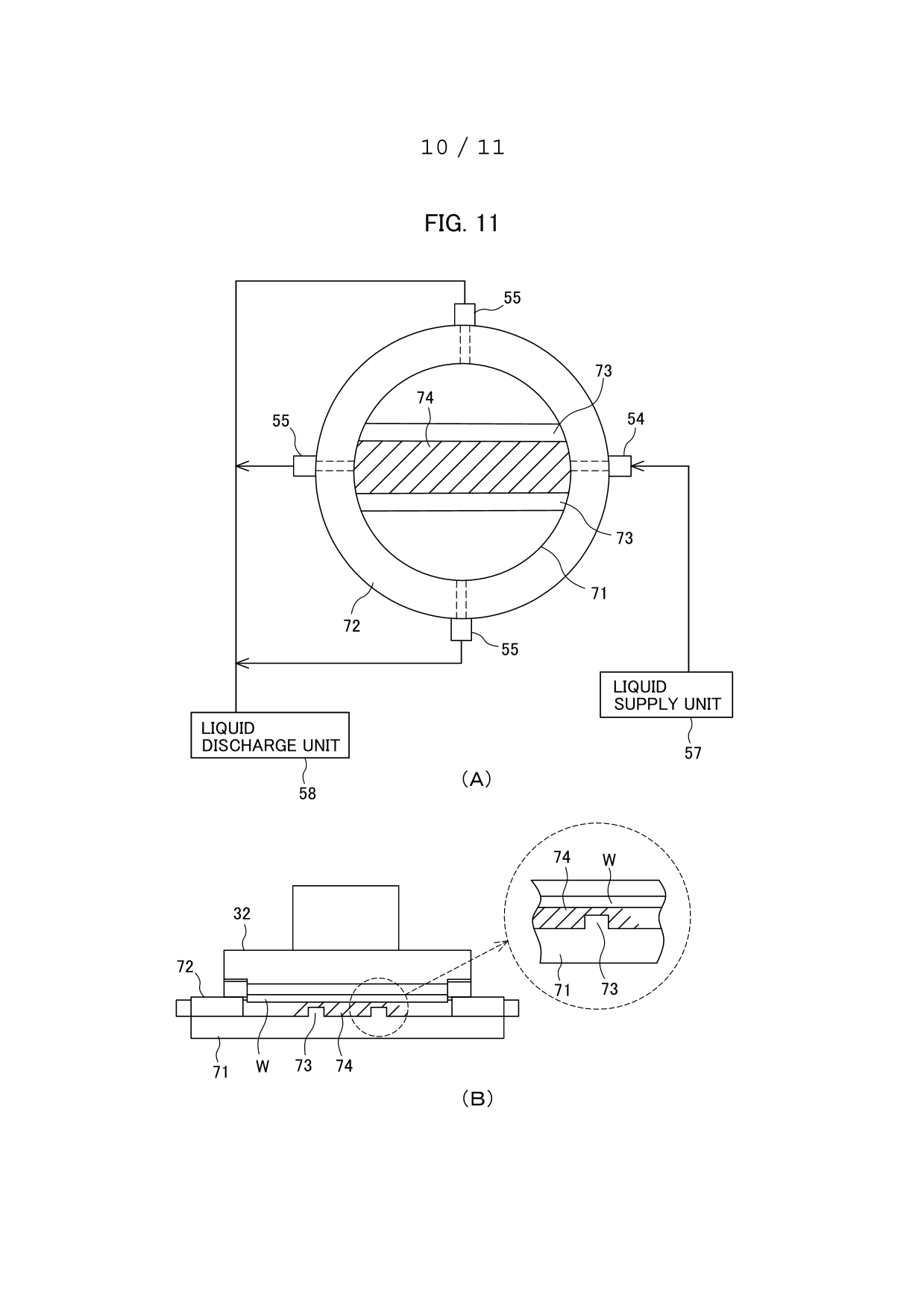
    (EN) ABSTRACT Provided is a film thickness measurement device, including: a head that holds a substrate to be polished and is capable of moving the substrate, a stage made of transparent material; a liquid supply unit configured to supply liquid onto the stage; a liquid discharge unit configured to discharge the liquid on the stage to the outside; a measurement unit configured to be placed on a side opposite to the head across the stage and to optically measure a film thickness on a surface of the substrate that is placed across the stage; and a control unit configured to move at least one of the stage and the head toward the other, and to irradiate the substrate with light while the surface of the substrate is immersed in the liquid, thereby performing film thickness measurement. Fig. 8 34
    (58) Citations
    License Details
    (98) Annuity Details
    YearValidity StartValidity EndPayment
    Document Type Date Action
    Description (with claims) 2024-04-16T00:00:00Z
    Abstract 2024-04-16T00:00:00Z
    Event NameDateLink
    Other event occurred2023-12-31
    Other event occurred2023-12-31
    Other event occurred2023-12-31