Application Type
National
Application SubType
(10) Registration Number and Date
10202401103V
Status
ACTIVE ( Other event occurred)
(180) Expiration Date
(20) Filing Number and Date
SG 10202401103V 2023.12.31
(40) Publication Number and Date
${pbin}
(86) PCT Filing Number and Date
(87) PCT Publication Number and Date
(85) National Entry Date
(30) Priority Details
JP
JP2023-067260
2023.01.01
(51) IPC Classes
    (72) Inventor
    (74) Representative
    (54) Title
    (57) Abstract
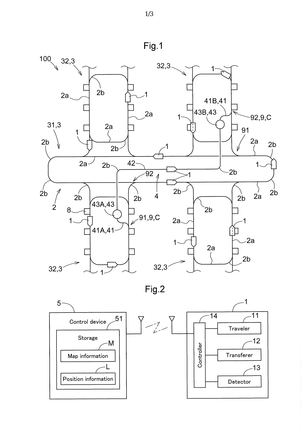
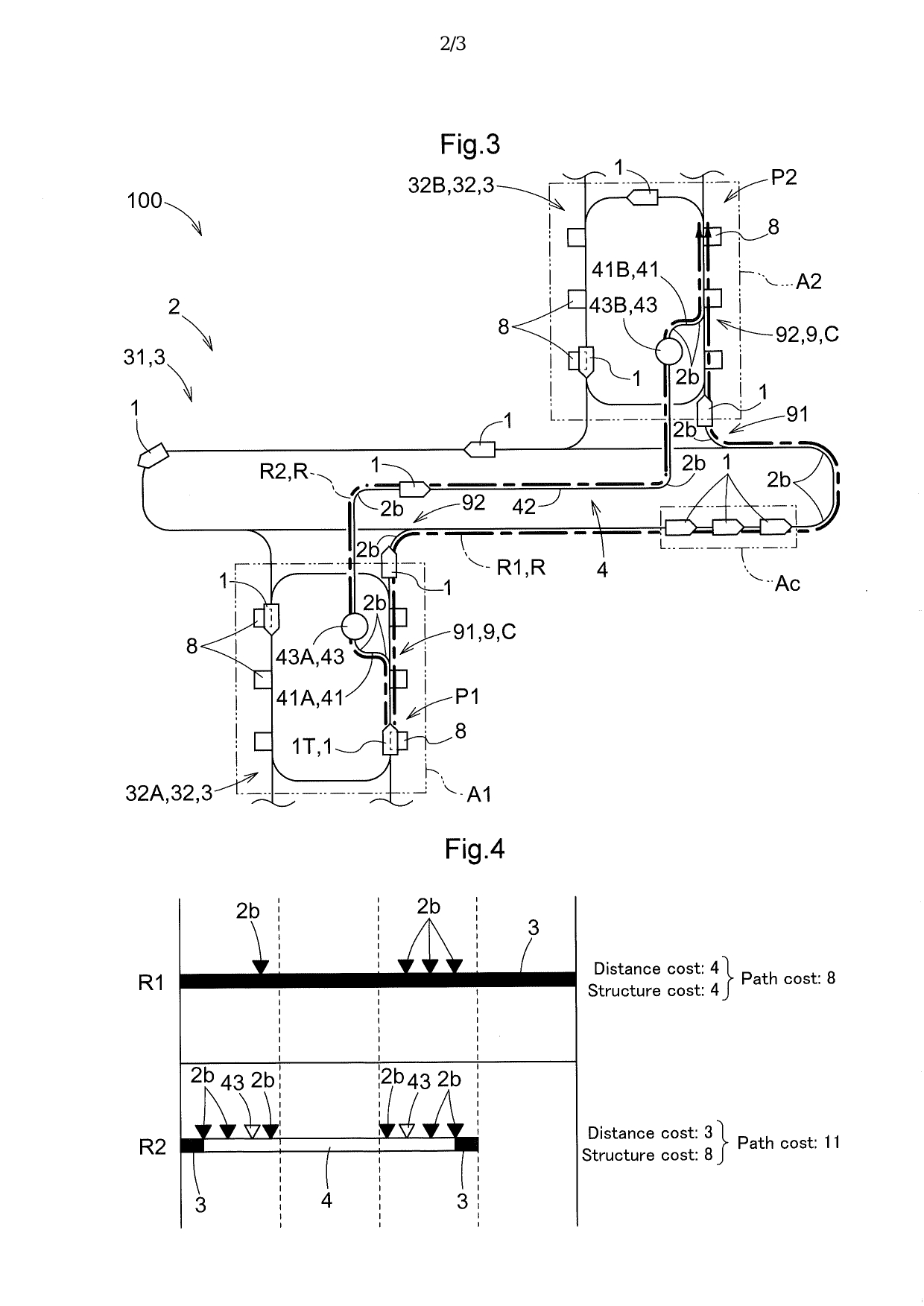
    (EN) ARTICLE TRANSPORT FACILITY ABSTRACT A travel path includes a primary path and a bypass path including at least fewer stations or 5 fewer path intersecting portions than the primary path per unit distance. A control device selects, using a path cost including a distance cost being higher for a greater distance by which article transport vehicles move and a structure cost being higher for a slower speed at which the article transport vehicles move based on a structure of the travel path, a route having the lowest path cost from multiple candidate routes along which a target vehicle is movable from a 10 departure point to a destination point. The control device adjusts, when a predetermined determination condition is satisfied in selecting the route, the path cost of a candidate route following the bypass path to be lower than a path cost used when the predetermined determination condition is unsatisfied. 15 [Figure 3] 16
    (58) Citations
    License Details
    (98) Annuity Details
    YearValidity StartValidity EndPayment
    Document Type Date Action
    Description (with claims) 2024-04-16T00:00:00Z
    Abstract 2024-04-16T00:00:00Z
    Event NameDateLink
    Other event occurred2023-12-31
    Other event occurred2023-12-31
    Other event occurred2023-12-31