Application Type
National
Application SubType
(10) Registration Number and Date
10202404124S
Status
ACTIVE ( Other event occurred)
(180) Expiration Date
(20) Filing Number and Date
SG 10202404124S 2024.12.31
(40) Publication Number (Gazette Number) and Date
(86) PCT Filing Number and Date
(87) PCT Publication Number and Date
(85) National Entry Date
(30) Priority Details
CN
CN202410798704.1
2024.06.19
(51) IPC Classes
    (72) Inventor
    (EN) JIANG, Jiadi : 556 Xixi Road, 8th Floor, Section B, Suite 801-11 , West Lake District,<br/>Hangzhou ZHEJIANG 310000 China<br/>
    YUE, Bin : 556 Xixi Road, 8th Floor, Section B, Suite 801-11 , West Lake District,<br/>Hangzhou ZHEJIANG 310000, China<br/>
    YE, Zhiling
    (74) Representative
    (54) Title
    (57) Abstract
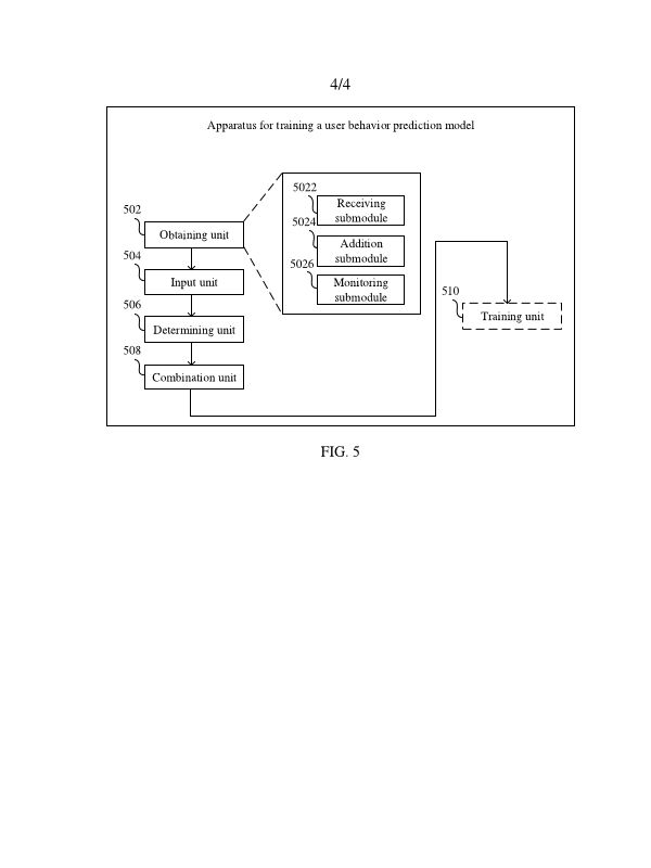
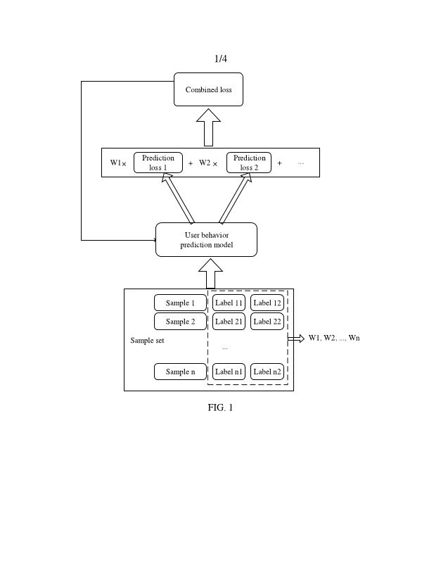
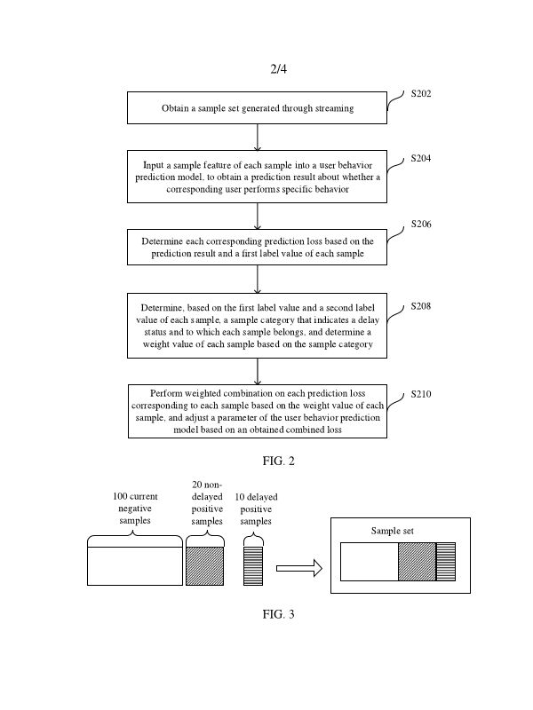
    (EN) METHODS AND APPARATUSES FOR TRAINING USER BEHAVIOR PREDICTION MODEL ABSTRACT The disclosure provides methods and apparatuses for training a user behavior prediction model. A sample set generated through streaming is obtained, where any sample includes a sample feature, a first label, and a second label. A sample feature of each sample is input into the model, to obtain a prediction result about whether a corresponding user performs specific behavior. Each corresponding prediction loss is determined based on the prediction result and a first label value. A sample category that indicates a delay status and to which each sample belongs is determined based on the first label value and a second label value, and a weight value of each sample is determined based on the sample category. Weighted combination is performed on each prediction loss corresponding to each sample based on the weight value, and a parameter of the model is adjusted based on an obtained combined loss. Fig. 1 24
    (58) Citations
    License Details
    (98) Annuity Details
    YearValidity StartValidity EndPayment
    Document Type Date Action
    Description (with claims) 2024-12-31T00:00:00Z
    Abstract 2024-12-31T00:00:00Z
    Event NameDateLink
    Other event occurred2024-12-31
    Other event occurred2025-01-23
    Other event occurred2025-03-29