Application Type
Patents
Application SubType
National Patent
(10) Registration Number and Date
Status
ACTIVE ( Document published)
(180) Expiration Date
(20) Filing Number and Date
TH 2501005362 2025.08.13
(40) Publication Number (Gazette Number) and Date
(6/2569)
2026.02.09
(86) PCT Filing Number and Date
(87) PCT Publication Number and Date
(85) National Entry Date
(30) Priority Details
JP
JP2024-154881
2024.09.09
(51) IPC Classes
(72) Inventor
(TH) ซาดาฮารุ มาชิ : ซี/โอ อีซูซุ มอเตอร์ส ลิมิเต็ด, ฟูจิซาวะ แพลนท์, 8, สึจิดานะ, ฟูจิซาวะ-ชิ, คานากาว่า 252-0881
โยชิกิ นัตสึเมะ
โยเฮ ซาซากิ
(74) Representative
(TH) นาย พัฒน์ เตชะไพฑูรย์ : บริษัท อาดาสตร้า ไอพี (ประเทศไทย) จำกัด เลขที่ 164 ซอยหมู่บ้านปัญญา ตำบลสวนหลวง อำเภอสวนหลวง จังหวัดกรุงเทพมหานคร
(54) Title
(TH)

แท่นยึดยึดติดตัวรับรู้และชุดประกอบตัวรับรู้

(57) Abstract
(TH)

OCR 10KL (10/09/2568)

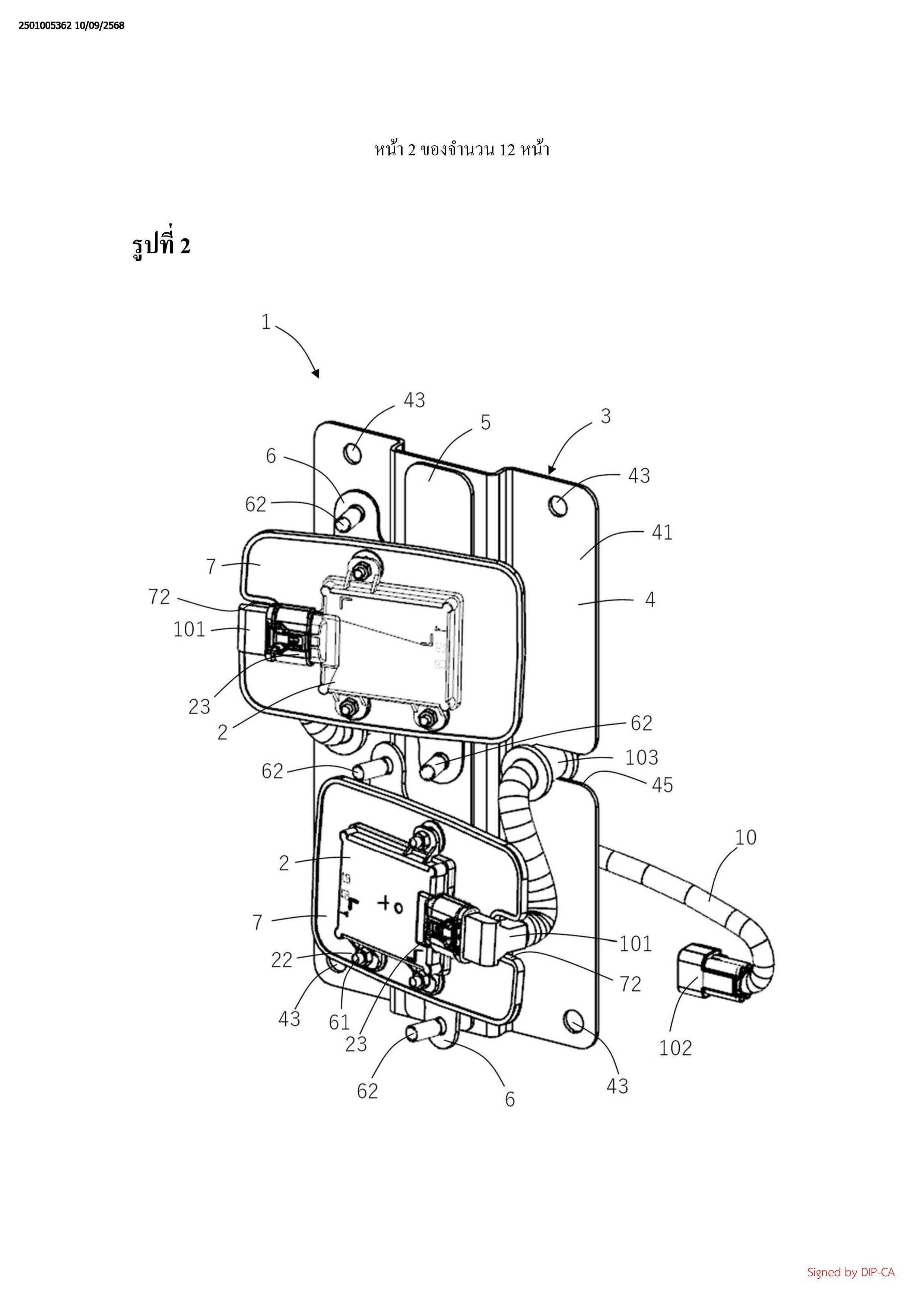
วัตถุประสงค์ของการเปิดเผยนี้คือเพื่อจัดให้มีแท่นยึดยึดติดตัวรับรู้และชุดประกอบตัวรับรู้ที่มี
ความสามารถของการยึดติดตัวรับรู้อย่างแม่นยำ แท่นยึดยึดติดตัวรับรู้และชุดประกอบตัวรับรู้รวมถึง
แท่นยึดฐานที่ถูกก่อรูปขึ้นด้วยชิ้นประกอบรูปทรงแผ่นและแท่นยึดยืนยันตำแหน่งติดตั้งตัวรับรู้ที่ถูก
ก่อรูปโดยตัดชิ้นประกอบรูปทรงแผ่นในรูปทรงหมวก, ที่ซึ่งส่วนหน้าแปลนของแท่นยึดยืนยัน
ตำแหน่งติดตั้งตัวรับรู้และแท่นยึดฐานถูกต่อโดยการเชื่อมจุด

 

(58) Citations
License Details
(98) Annuity Details
YearValidity StartValidity EndPayment
Document Type Date Action
gazette 2026-02-09T00:00:00Z
abstract 2026-02-09T00:00:00Z
description 2026-02-09T00:00:00Z
claims 2026-02-09T00:00:00Z
Event NameDateLink
Application filed2025-08-13
Document published2026-02-09

1

OCR 10KL (10/09/2568)

1. แท่นยึดยึดติดตัวรับรู้, ซึ่งประกอบรวมด้วย:
แท่นยึดฐานที่ถูกก่อรูปขึ้นด้วยชิ้นประกอบรูปทรงแผ่น; และ
แท่นยึดยืนยันตำแหน่งติดตั้งตัวรับรู้ที่ถูกก่อรูปโดยตัดชิ้นประกอบรูปทรงแผ่นในรูปทรง
หมวก, โดยที่
ส่วนหน้าแปลนของแท่นยืดยืนยันตำแหน่งติดตั้งตัวรับรู้และแท่นยึดฐานถูกต่อซึ่งกันและกัน
โดยการเชื่อมจุด
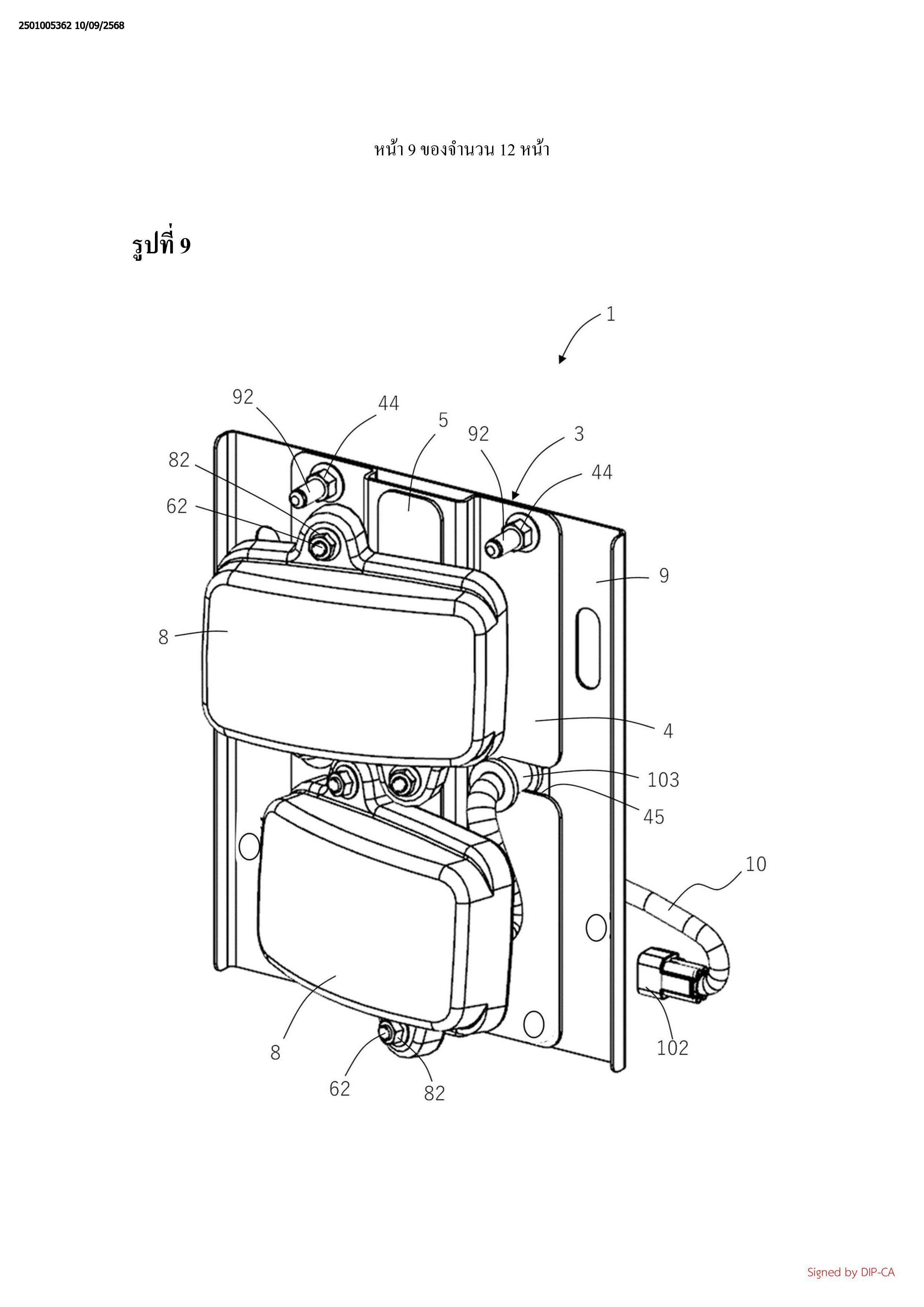
2. แท่นยึดยึดติดตัวรับรู้ตามข้อถือสิทธิที่ 1, โดยที่:
จำนวนมากกว่าหนึ่งของส่วนหมวกถูกก่อรูปในแท่นยืดยืนยันตำแหน่งติดตั้งตัวรับรู้ใน
ลักษณะที่แท่นยึดยืนยันตำแหน่งติดตั้งตัวรับรู้รวมถึงส่วนหน้าแปลนด้านข้างที่ถูกก่อรูปที่ทั้งสองส่วน
ปลาย, จำนวนมากกว่าหนึ่งของส่วนพื้นผิวส่วนบน, และหนึ่งหรือมากกว่าหนึ่งส่วนหน้าแปลนกลางที่
ถูกก่อรูประหว่างจำนวนมากกว่าหนึ่งของส่วนพื้นผิวส่วนบน, และ
ส่วนหน้าแปลนด้านข้างและหนึ่งหรือมากกว่าหนึ่งส่วนหน้าแปลนกลางถูกต่อกับแท่นยึด
ฐานโดยการเชื่อมจุด
3. แท่นยึดยึดติดตัวรับรู้ตามข้อถือสิทธิที่ 2, โดยที่
ทิศทางตั้งฉากของจำนวนมากกว่าหนึ่งของส่วนพื้นผิวส่วนบนแตกต่างจากกันและกัน
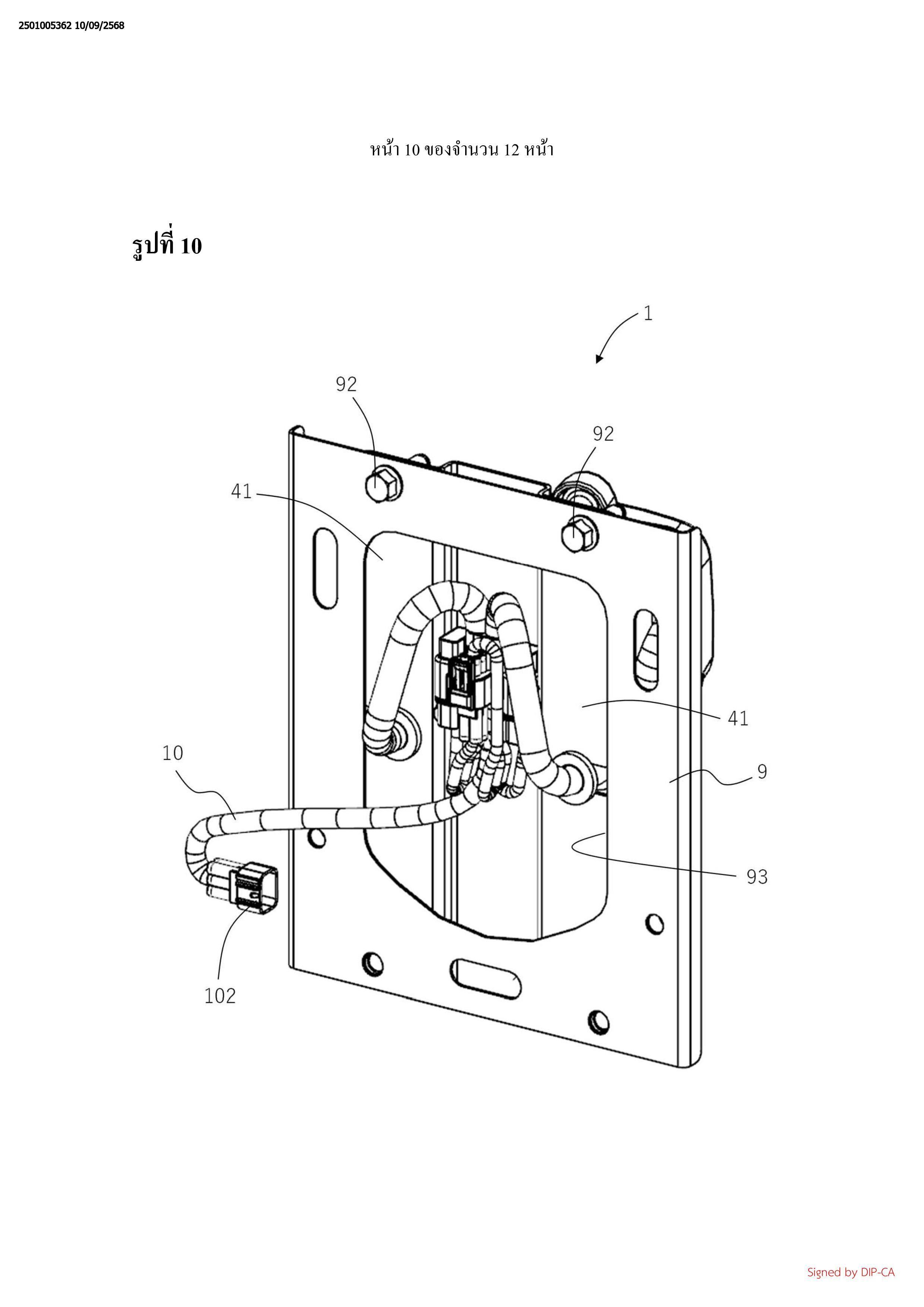
4. แท่นยึดยึดติดตัวรับรู้ตามข้อถือสิทธิที่ 1, ซึ่งประกอบรวมเพิ่มเติมด้วย:
แท่นยึดฐานยกตัวรับรู้ที่ถูกยึดกับจำนวนมากกว่าหนึ่งของส่วนพื้นผิวส่วนบนของแท่นยึด
ยืนยันตำแหน่งติดตั้งตัวรับรู้โดยการเชื่อมจุด
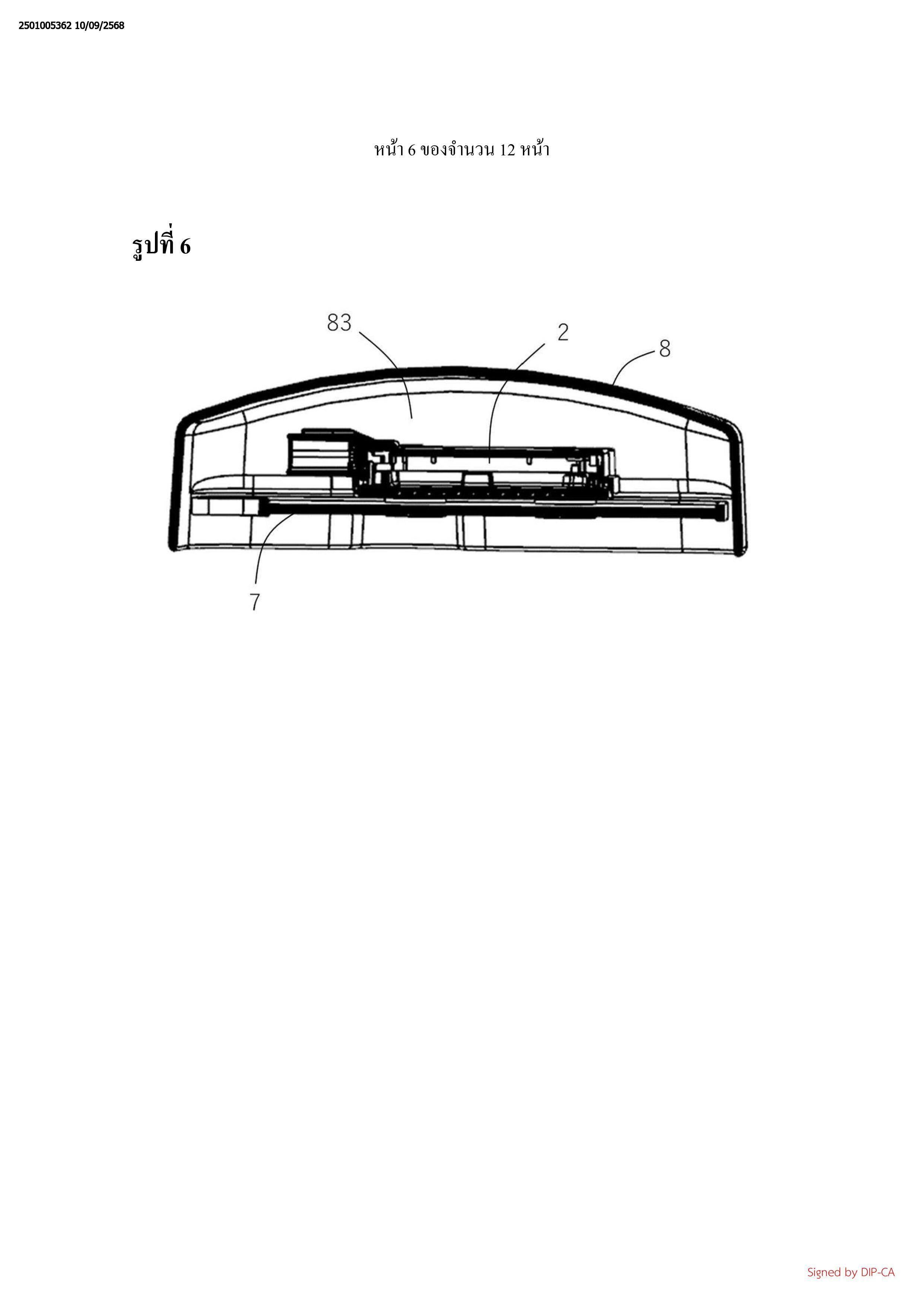
5. ชุดประกอบตัวรับรู้, ซึ่งประกอบรวมด้วย:
แท่นยืดยึดติดตัวรับรู้ตามข้อถือสิทธิที่ 4:
แผ่นเรซินที่ถูกยึดติดกับแท่นยึดฐานยกตัวรับรู้
ตัวรับรู้ที่ถูกยึดติดกับแผ่นเรซิน
ชุดสายที่ถูกเชื่อมต่อกับตัวรับรู้ และ
ฝาครอบที่ทำขึ้นด้วยเรซินที่ครอบตัวรับรู้
6. ชุดประกอบตัวรับรู้ตามข้อถือสิทธิที่ 5, โดยที่:
ส่วนบากถูกก่อรูปในแท่นยึดฐาน, และ
ชุดสายถูกล็อกกับส่วนบาก

 

7. ชุดประกอบตัวรับรู้ตามข้อถือสิทธิที่ 6, โดยที่:
แท่นยึดรูปทรงโครงที่ซึ่งส่วนช่องเปิดถูกก่อรูปในนั้นถูกยึดติดกับพื้นผิวของแท่นยึดฐานที่
ตรงข้ามกับฝั่งที่ซึ่งตัวรับรู้ถูกยึดติด, และ
แท่นยึดรูปทรงโครงปิดส่วนช่องเปิดของส่วนบาก