Application Type
National
Application SubType
(10) Registration Number and Date
10202401117U
Status
ACTIVE ( Other event occurred)
(180) Expiration Date
(20) Filing Number and Date
SG 10202401117U 2023.12.31
(40) Publication Number and Date
${pbin}
(86) PCT Filing Number and Date
(87) PCT Publication Number and Date
(85) National Entry Date
(30) Priority Details
JP
JP2023-078863
2023.01.01
(51) IPC Classes
    (72) Inventor
    SAKATA, Takumi : c\/o DAIFUKU CO., LTD. Shiga Works, 1225,Nakazaiji, Hino-cho, Gamo-gun,Shiga 5291692 Japan
    (74) Representative
    (54) Title
    (57) Abstract
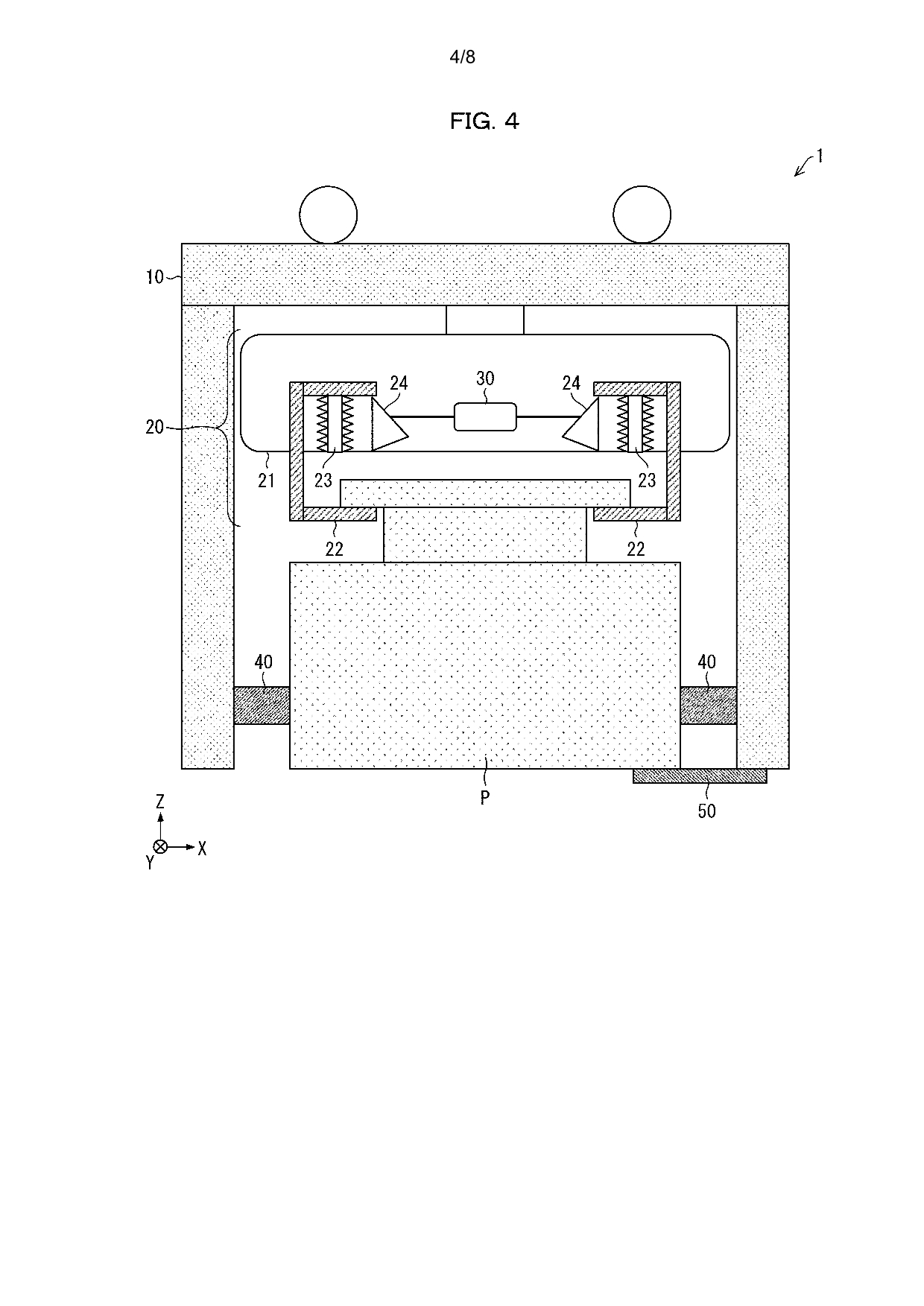
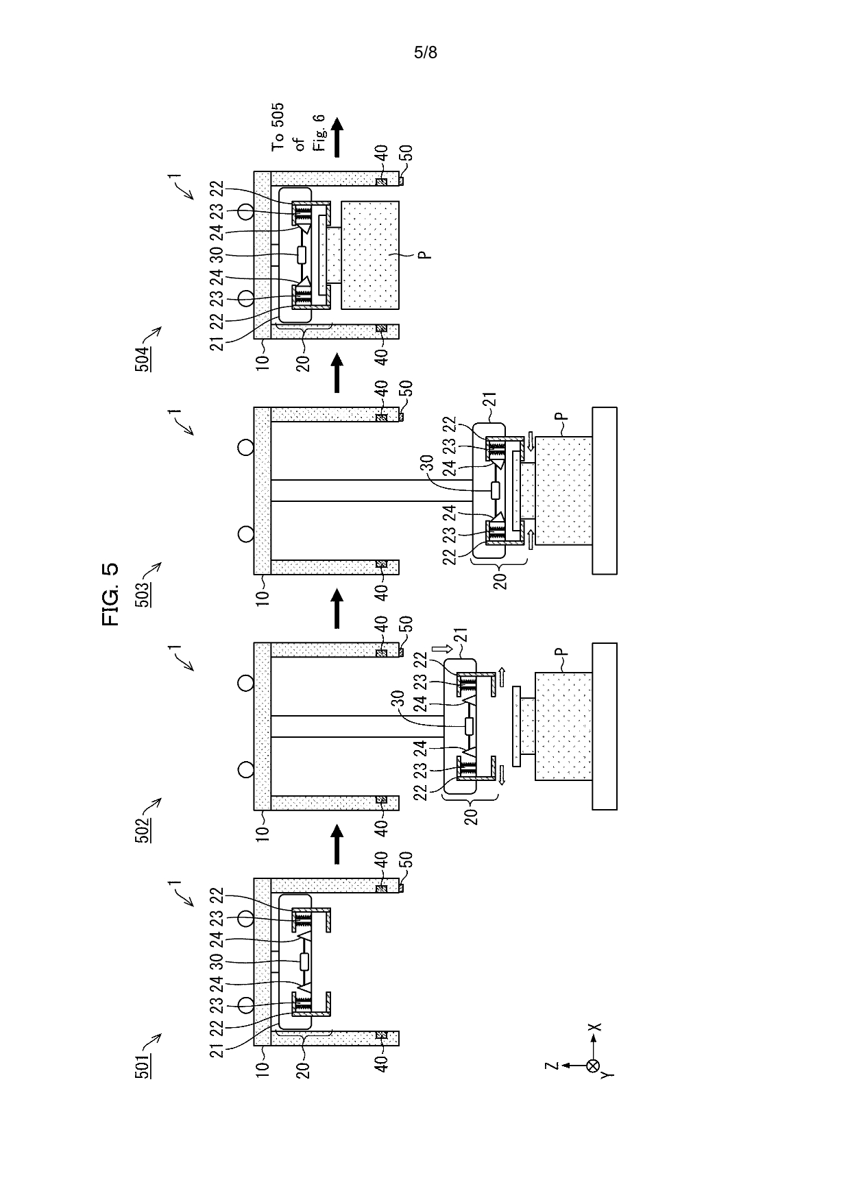
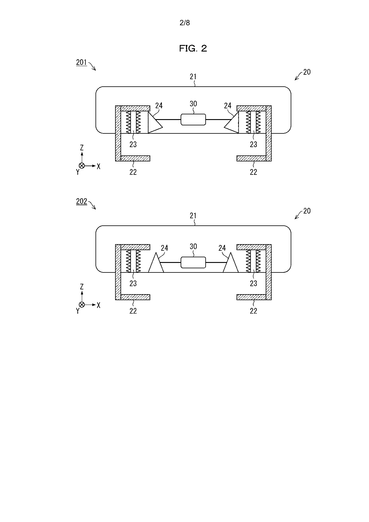
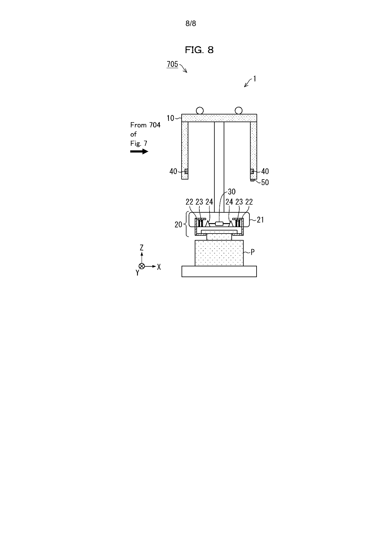
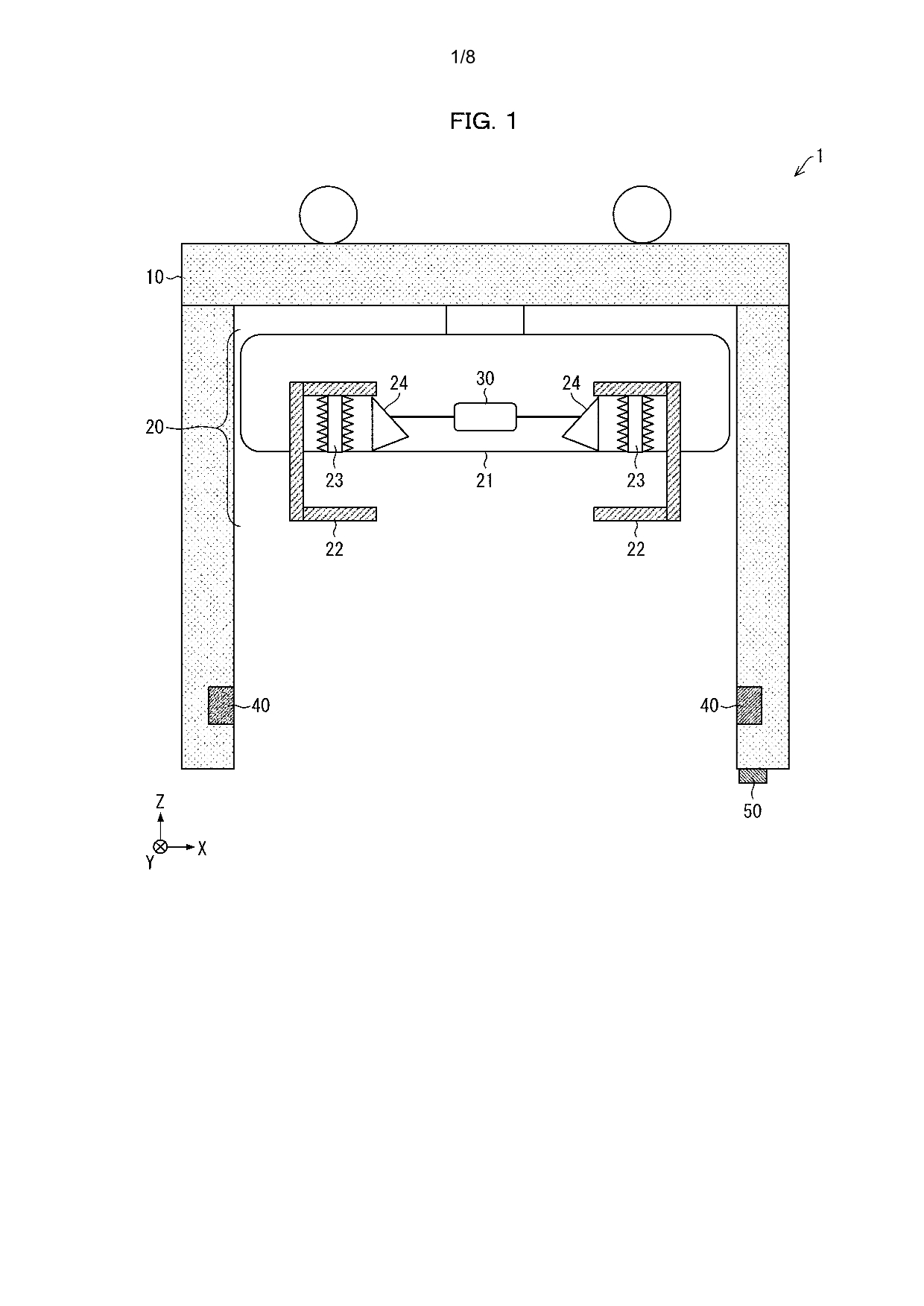
    (EN) - 26 - CEILING CARRIER Abstract In order to prevent an article from oscillating or 5 inclining, a ceiling carrier includes: an elevator member including a body part, a gripping part that grips an article P, elastic parts that elastically support the gripping part, and a locking mechanism that creates a lock state which prevents the elastic parts from operating; and a switching 10 part that switches between the lock state and an unlock state of the locking mechanism, the switching part being configured to switch the locking mechanism from the lock state to the unlock state after the article P has been sandwiched between oscillation prevention parts. 15 (FIG. 1)
    (58) Citations
    License Details
    (98) Annuity Details
    YearValidity StartValidity EndPayment
    Document Type Date Action
    Description (with claims) 2024-04-16T00:00:00Z
    Abstract 2024-04-16T00:00:00Z
    Event NameDateLink
    Other event occurred2023-12-31
    Other event occurred2023-12-31
    Other event occurred2023-12-31