Application Type
National
Application SubType
(10) Registration Number and Date
10202401131P
Status
ACTIVE ( Other event occurred)
(180) Expiration Date
(20) Filing Number and Date
SG 10202401131P 2023.12.31
(40) Publication Number and Date
${pbin}
(86) PCT Filing Number and Date
(87) PCT Publication Number and Date
(85) National Entry Date
(30) Priority Details
(74) Representative
(EN) DREW & NAPIER LLC : 10 COLLYER QUAY#10-10 OCEAN FINANCIAL CENTRESingapore 049315
(54) Title
(EN) STABILIZED MODE SPLITTING FIN SENSOR
(57) Abstract
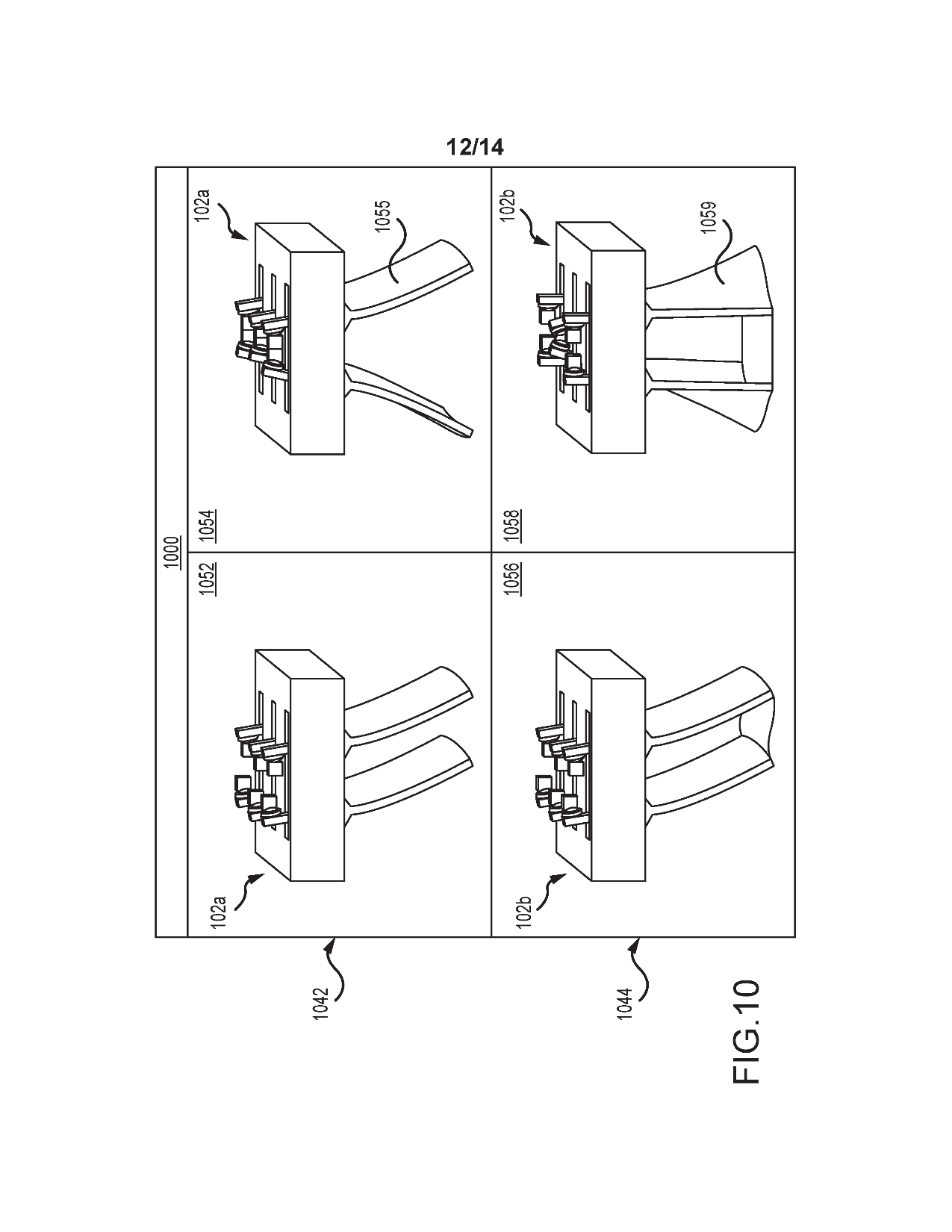
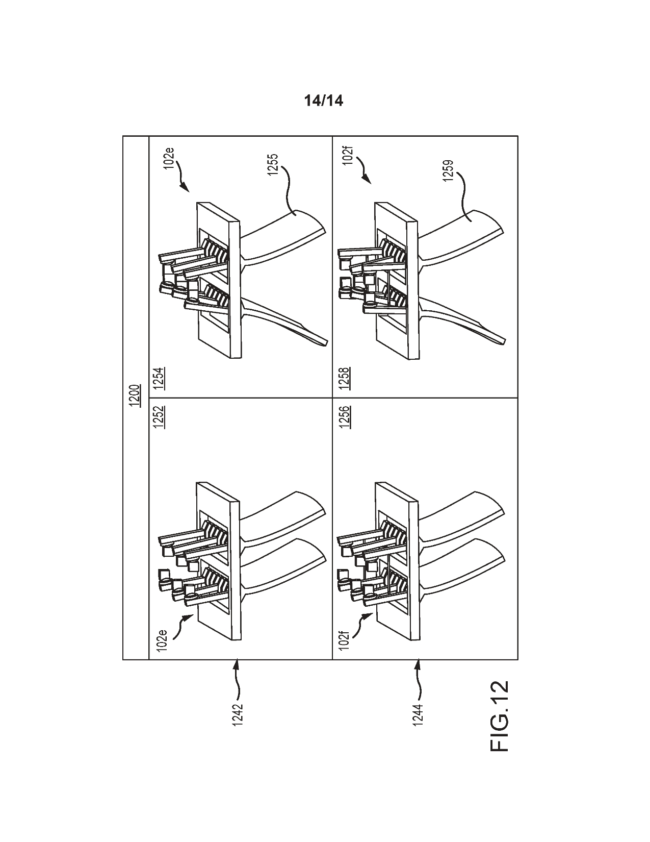
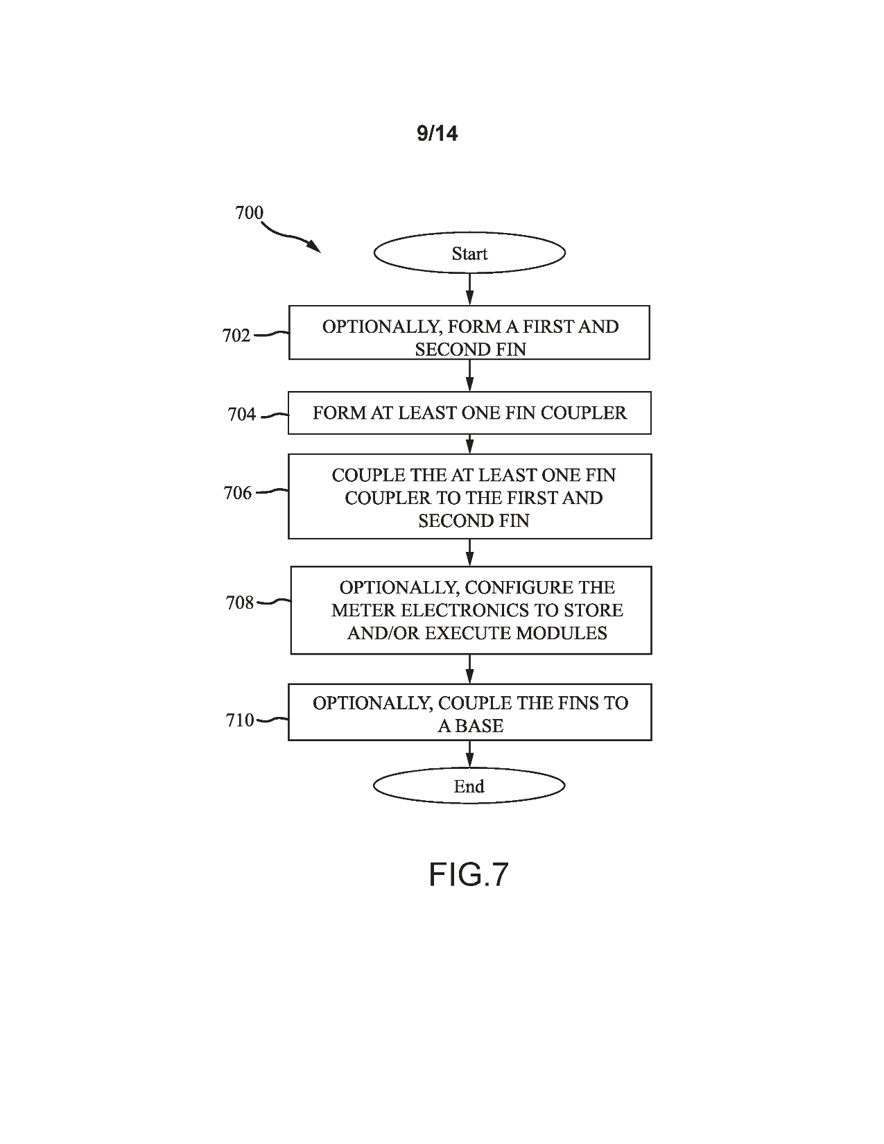
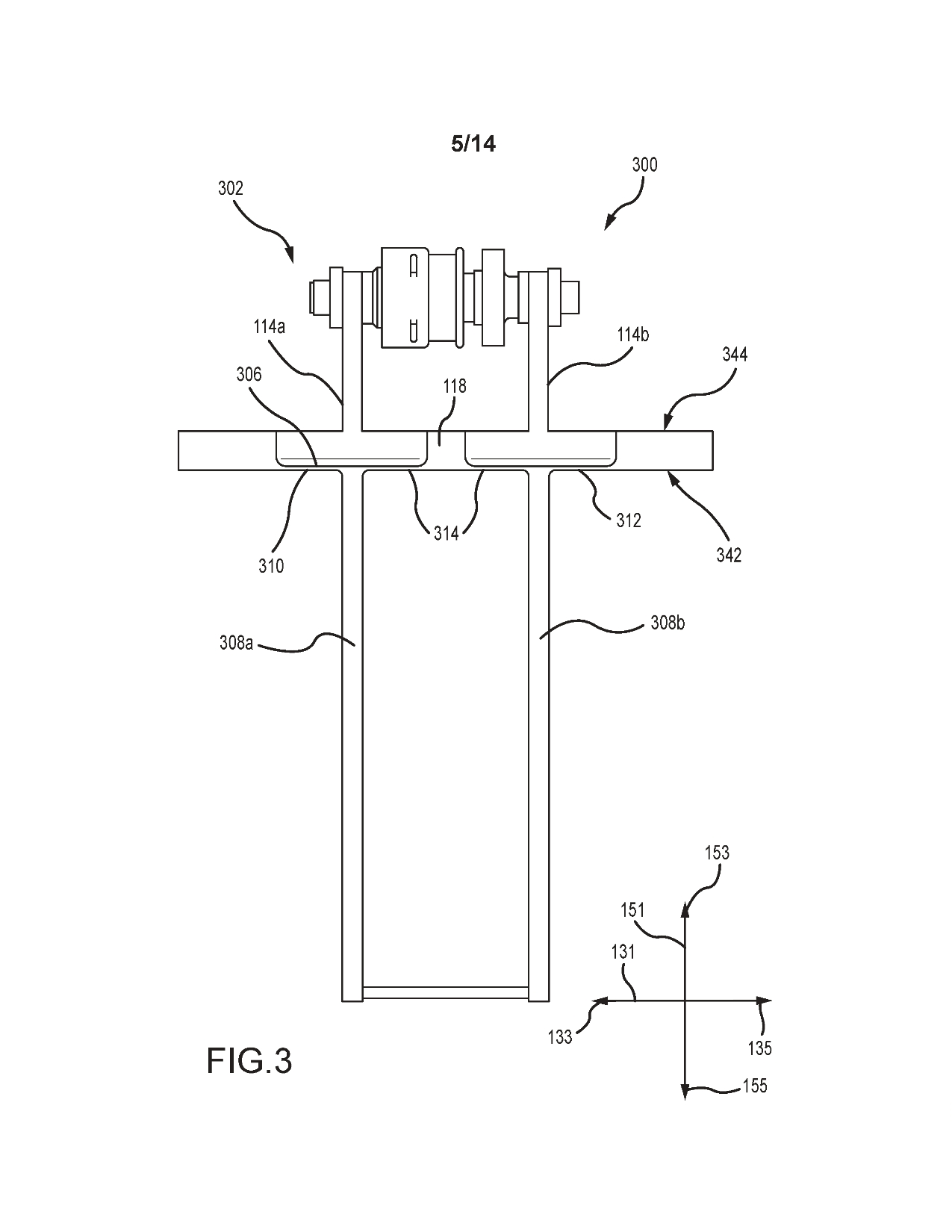
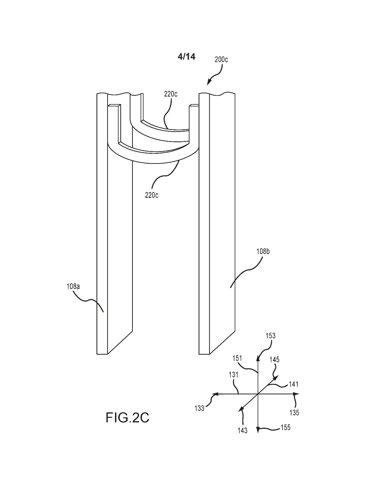
(EN) ABSTRACT STABILIZED MODE SPLITTING FIN SENSOR An embodiment of a fin sensor is disclosed. The embodiment of the fin sensor has a5 base, the base coupled to a first fin and a second fin, the fin sensor further having at least two transducers coupled to the fins, the first fin being coupled to the second fin by at least one fin coupler. FIG.1 56
(58) Citations
License Details
(98) Annuity Details
YearValidity StartValidity EndPayment
Document Type Date Action
Search Report 2024-09-20T00:00:00Z
Written Opinion 2024-09-20T00:00:00Z
Abstract 2024-04-17T00:00:00Z
Description (with claims) 2024-04-17T00:00:00Z
Event NameDateLink
Other event occurred2018-12-30
Other event occurred2023-12-31
Other event occurred2023-12-31
Other event occurred2023-12-31