Application Type
Patents
Application SubType
National Patent
(10) Registration Number and Date
Status
ACTIVE ( Document published)
(180) Expiration Date
(20) Filing Number and Date
TH 2501005206 2025.08.06
(40) Publication Number (Gazette Number) and Date
(7/2569)
2026.02.16
(86) PCT Filing Number and Date
(87) PCT Publication Number and Date
(85) National Entry Date
(30) Priority Details
US
US18/799,228
2024.08.09
(51) IPC Classes
(71/73) Applicant
(TH) เทท แอคเซส ฟลอร์ส, อิงค์. : 7510 ถนนมอนเทวิดีโอ, ตู้ ป.ณ. 278, เจสซุป, แมรีแลนด์ 20794
(72) Inventor
ลูคัส ไมเคิล ฟ็อกซ์ : 1547 ถนนเคนเนวิค, บาลติมอร์, แมรีแลนด์ 21218
(74) Representative
(TH) นาง สายทิพย์ ฤดีอเนกสิน : แห่ง บริษัท สำนักกฎหมาย ดำเนิน สมเกียรติ และบุญมา จำกัด อยู่ที่ 719 สี่พระยา ตำบลบางรัก อำเภอบางรัก จังหวัดกรุงเทพมหานคร
นางสาว ปรับโยชน์ ศรีกิจจาภรณ์
นาย จักรพรรดิ์ มงคลสิทธิ์
(54) Title
(TH)

ชิ้นส่วนกริดเพดานแบบเรียวยาวและชุดชิ้นส่วนกริดเพดานที่รวมถึงชิ้นส่วนกริดเพดาน
แบบเรียวยาวจำนวนหนึ่ง

(57) Abstract
(TH)

OCR03TS 
ชิ้นส่วนกริดเพดานแบบเรียวยาวที่รวมถึง (1) ส่วนรองรับชิ้นส่วนที่มีเกลียวที่มีคู่ของผนัง
ด้านข้างที่ถูกเว้นระยะห่างที่ขนานกันซึ่งถูกทำให้เป็นเกลียวเพื่อรับและยึดตรึงชิ้นส่วนที่มีเกลียว
ที่หนึ่ง (2) ผนังแนวตั้งที่ขนานกันกับและที่เว้นระยะห่างทางด้านข้างจากคู่ของผนังด้านข้าง (3)
ผนังแบบเอียงที่ยืดขยายไปทางด้านนอกและ ไปทางด้านล่างจากคู่ของผนังด้านข้างและที่ถูกต่อเชื่อม
กับผนังแนวตั้งและ (4) ส่วนล่างที่ด้านล่างของผนังแนวตั้งและที่ถูกสร้างโครงแบบเพื่อรองรับ
แผ่นฝ้าเพดาน

 

(58) Citations
License Details
(98) Annuity Details
YearValidity StartValidity EndPayment
Document Type Date Action
abstract 2026-02-16T00:00:00Z
description 2026-02-16T00:00:00Z
gazette 2026-02-16T00:00:00Z
claims 2026-02-16T00:00:00Z
Event NameDateLink
Application filed2025-08-06
Document published2026-02-16

1

OCR03TS 

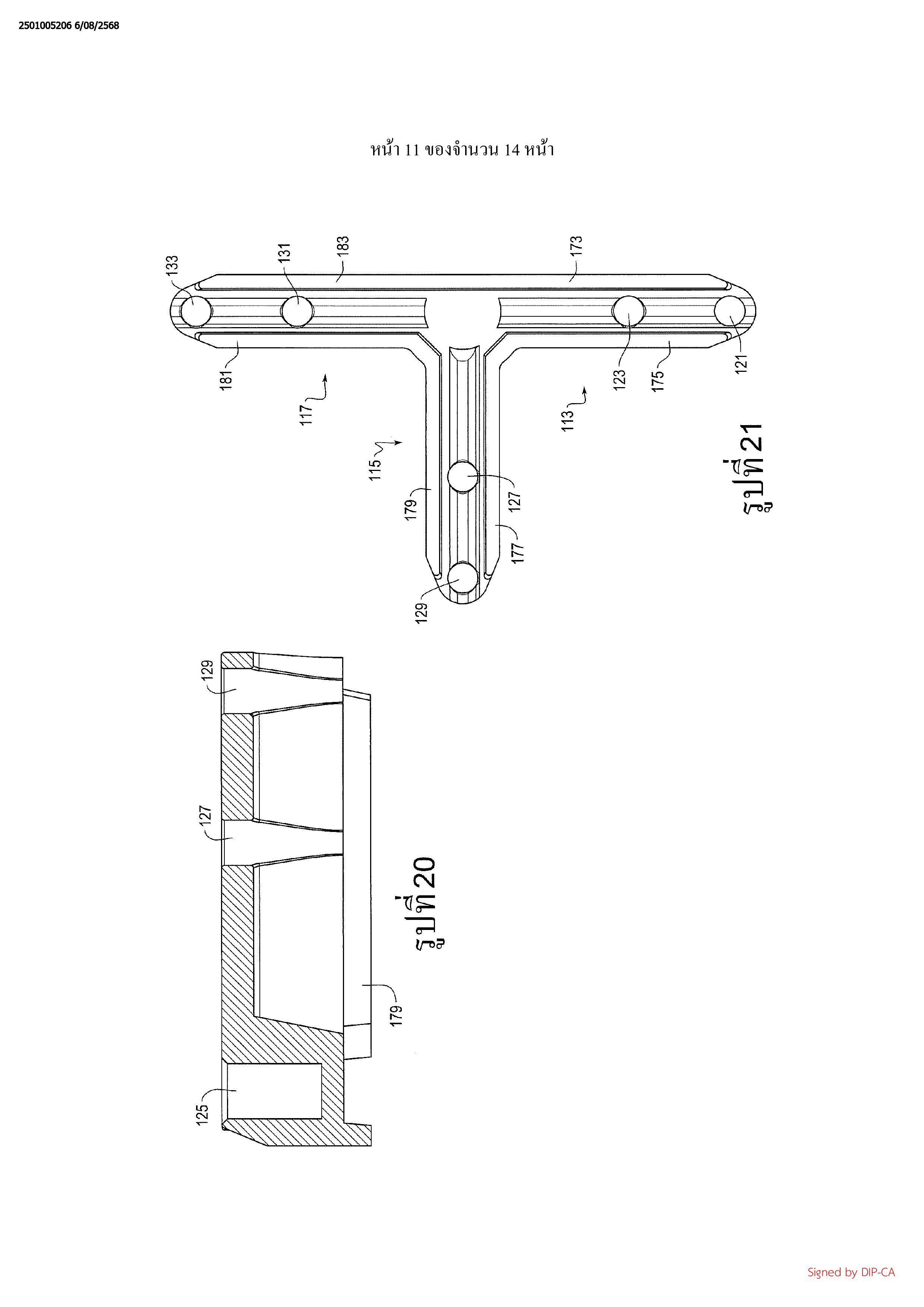
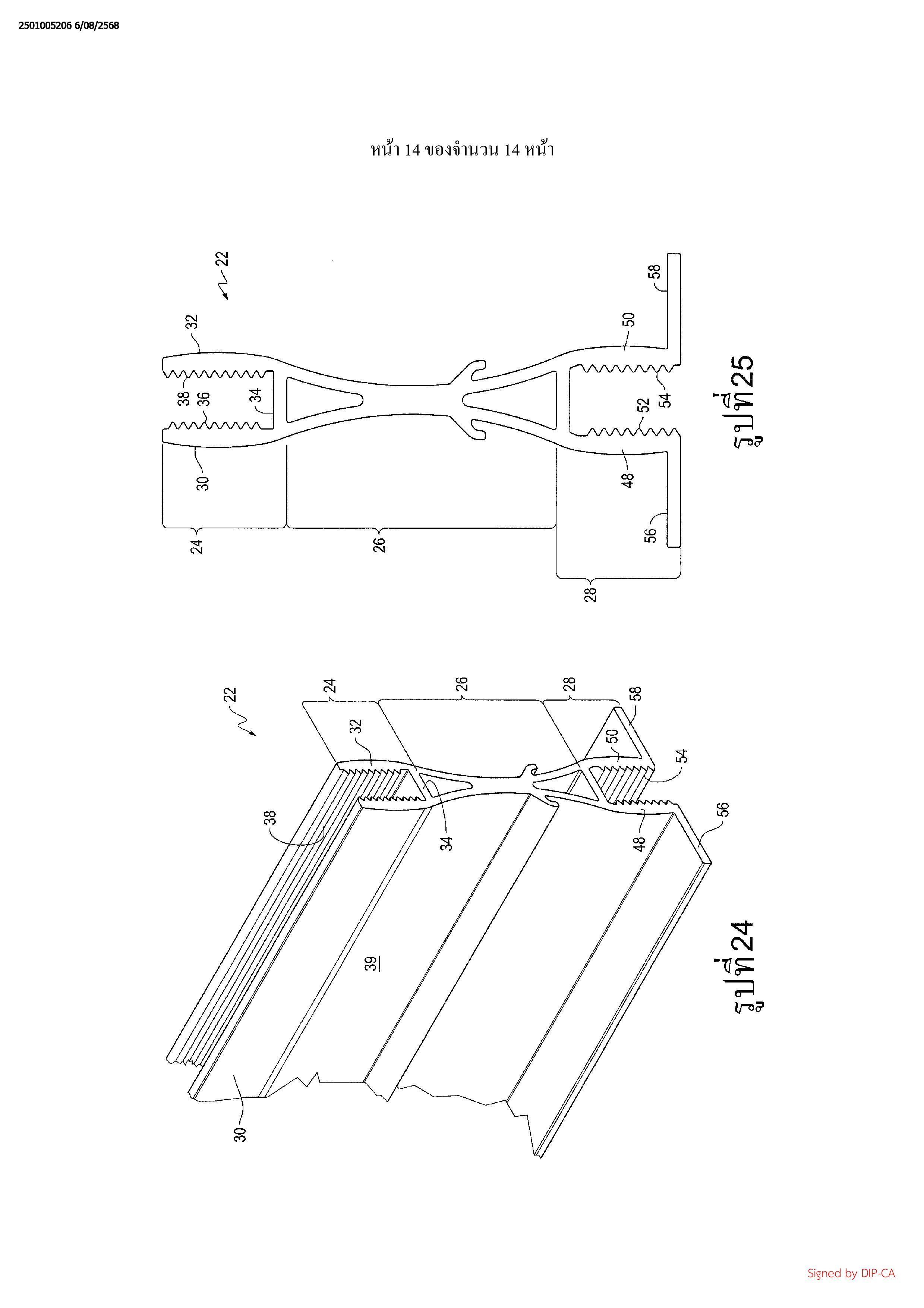
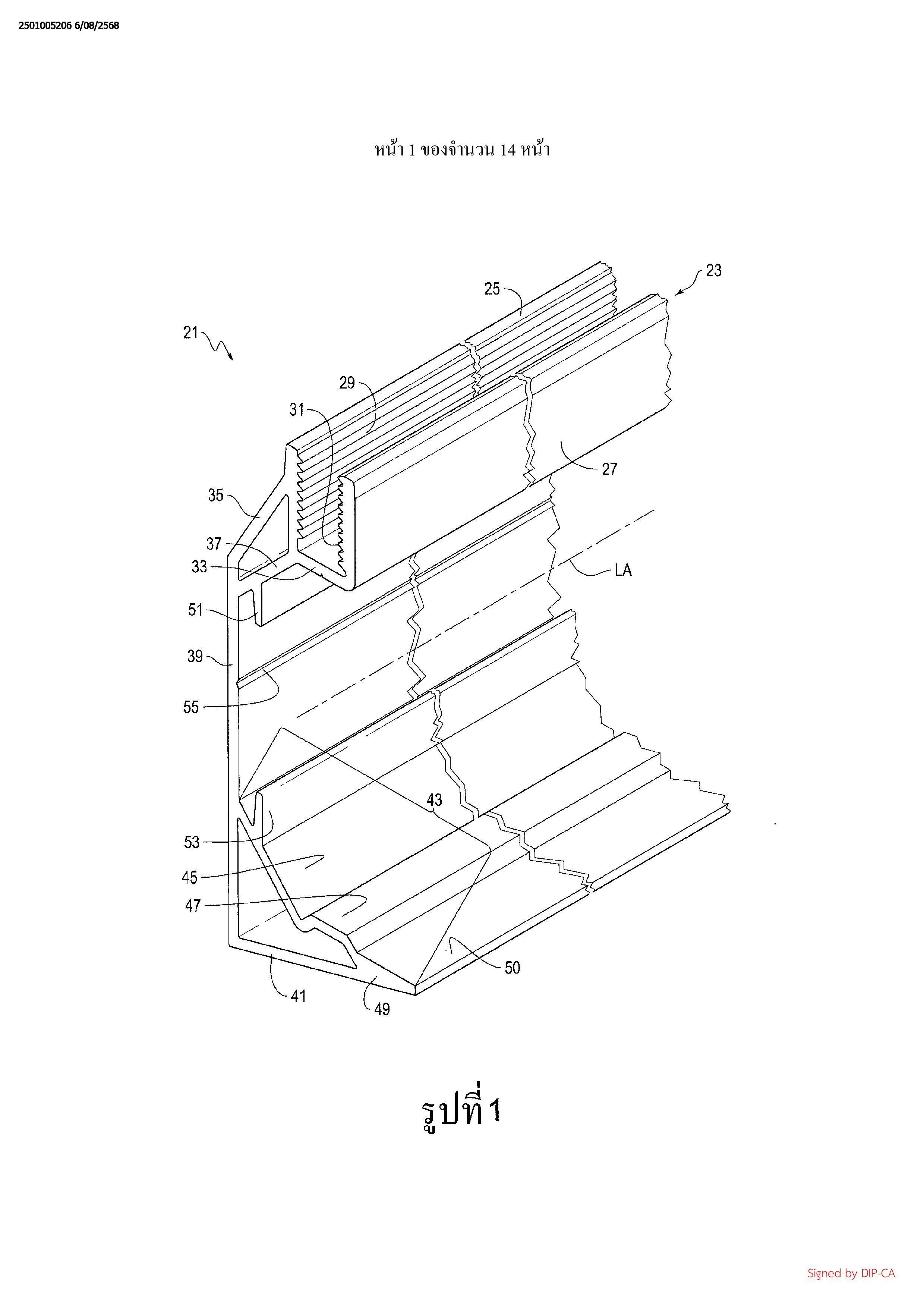
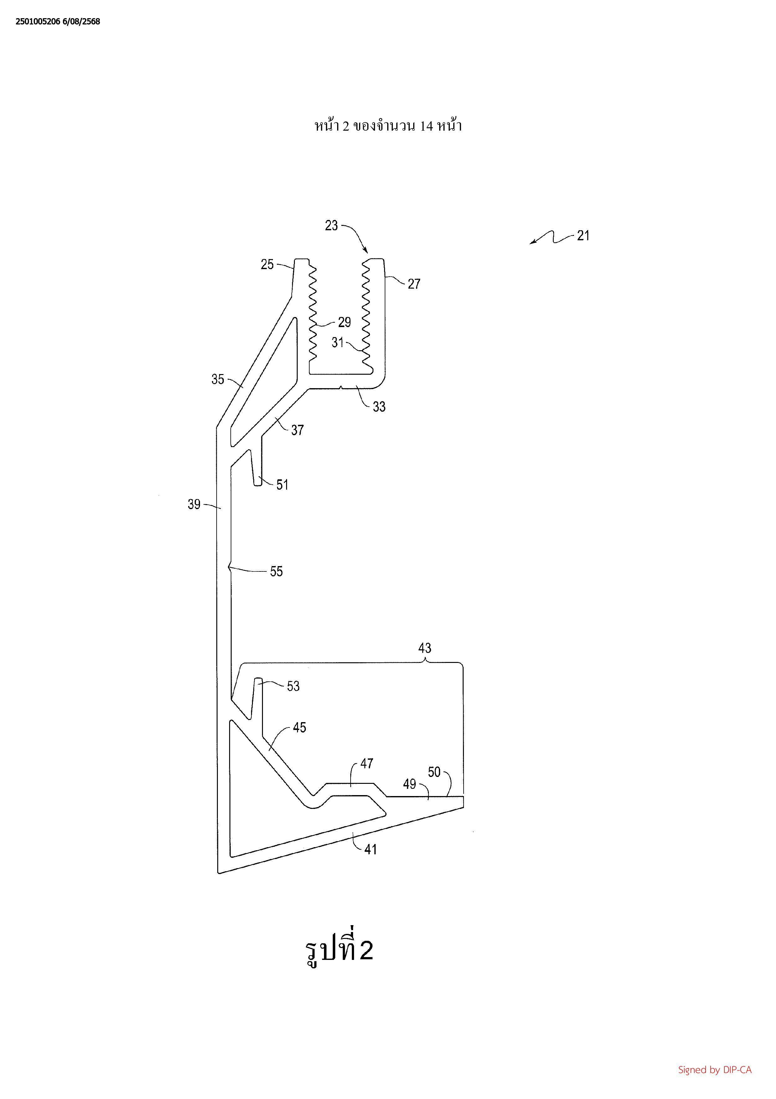
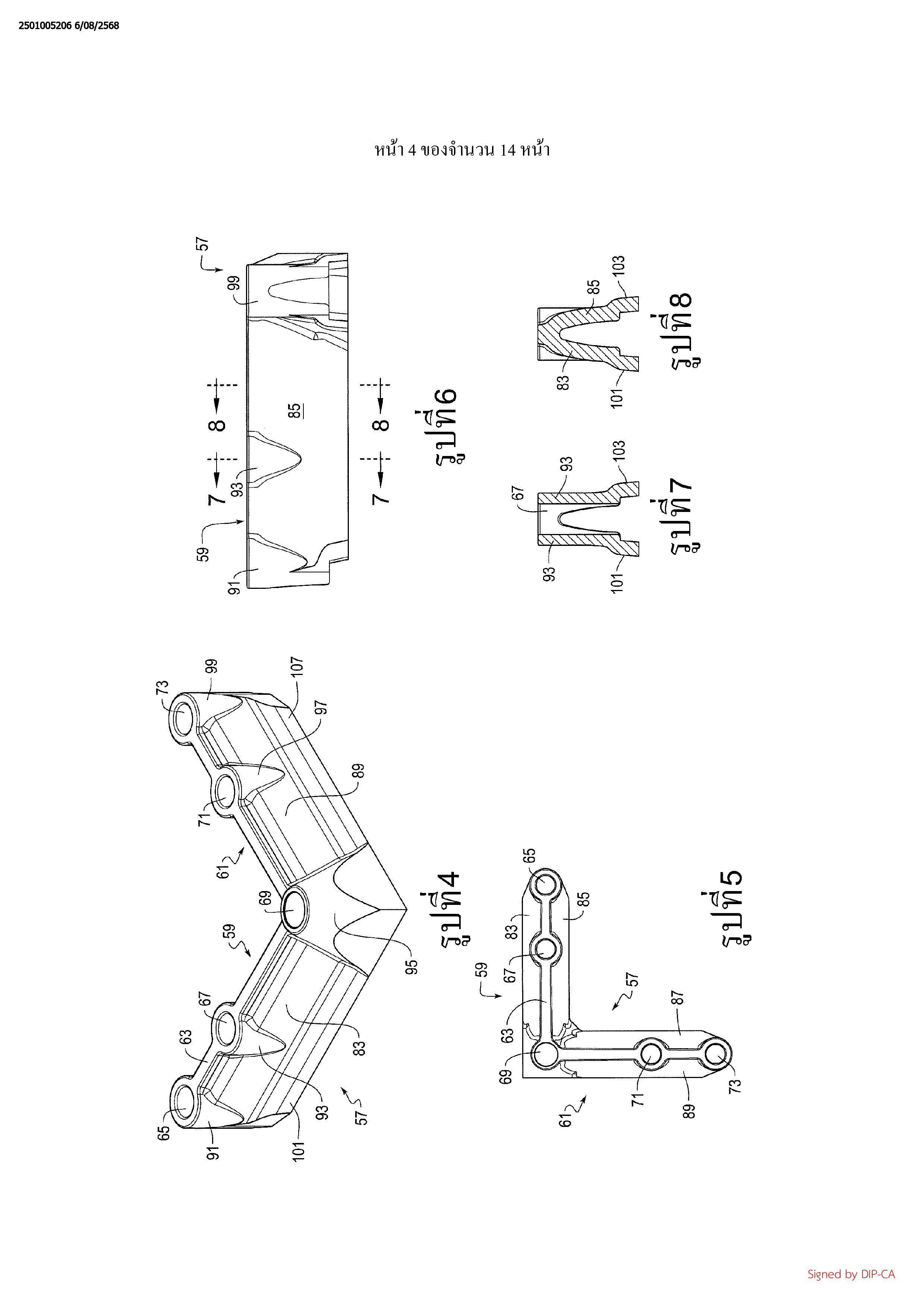
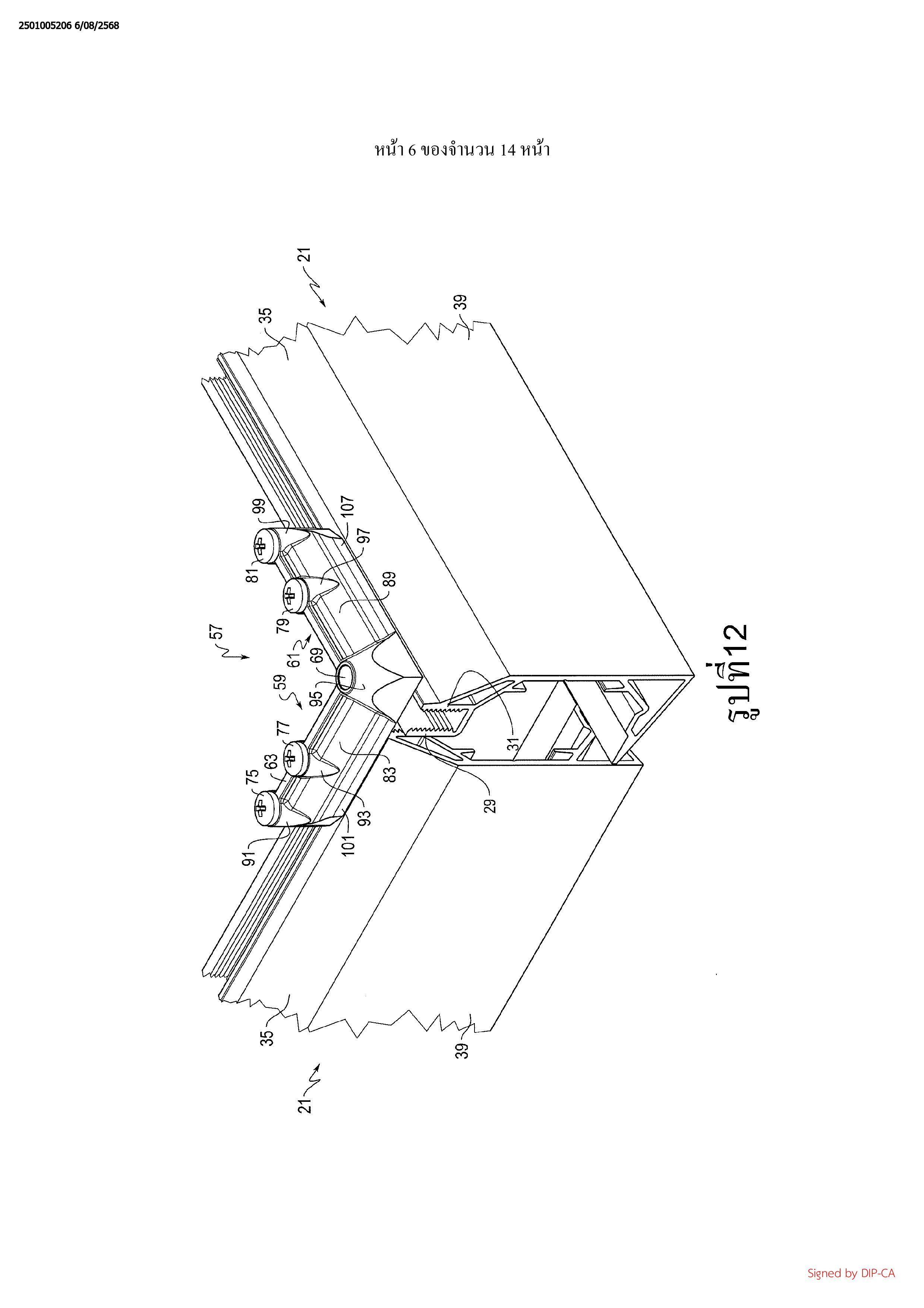
1. ชิ้นส่วนกริดเพดานแบบเรียวยาวที่มีแกนตามยาวในทิศทางตามยาวและที่ประกอบ
รวมด้วย:
ส่วนรองรับชิ้นส่วนที่มีเกลียวที่มีคู่ของผนังด้านข้างที่เว้นระยะห่าง (a) ที่ยืดขยายแบบขนาน
กันในทิศทางตามยาวและที่เว้นระยะห่างในทิศทางไปทางด้านข้างที่ตั้งฉากกับทิศทางตามยาวและ (b)
แบบมีเกลียวพื่อรับและยึดตรึงชิ้นส่วนที่มีเกลียวที่หนึ่งแบบสามารถหมุมกลียวได้
ผนังแนวตั้ง (a) ที่ขนานกันกับคู่ของผนังด้านข้างที่เว้นระยะห่างและ (b) ที่เว้นระยะห่างจากคู่
ของผนังด้านข้างที่เว้นระยะห่างในทิศทางไปทางด้านข้าง
ผนังแบบเอียงที่หนึ่ง (a) ที่ยืดขยายไปทางด้านนอกในทิศทางไปทางด้านข้างและไปทาง
ด้านล่างในทิศทางแนวตั้งที่ตั้งฉากกับทิศทางตามยาวและทิศทางไปทางด้านข้างจากหนึ่งในคู่ของผนัง
ด้านข้างที่เว้นระยะห่างและ (b) ที่ถูกต่อเชื่อมกับผนังแนวตั้ง และ
ส่วนล่าง (a) ที่ด้านล่างของผนังแนวตั้งในทิศทางแนวตั้ง (b) ที่ยืดขยายเข้าข้างในจากผนัง
แนวตั้งในทิศทางไปทางด้านข้างและ (c) ที่ถูกสร้างโครงแบบเพื่อรองรับแผ่นฝ้าเพดาน
2. ชิ้นส่วนกริดเพดานแบบเรียวยาวตามข้อถือสิทธิข้อที่ 1 ที่ซึ่งผนังแบบเอียงที่หนึ่งยืด
ขยายจากหนึ่งในคู่ของผนังด้านข้างที่เว้นระยะห่างระหว่างขอบบนสุดและขอบล่างสุดของหนึ่งในคู่
ของผนังด้านข้างที่เว้นระยะห่างในทิศทางแนวตั้ง
3. ชิ้นส่วนกริดเพดานแบบเรียวยาวตามข้อถือสิทธิข้อที่ 2 ที่ประกอบรวมเพิ่มเติมด้วย
ผนังแบบเอียงที่สองที่ถูกต่อเชื่อม (a) ที่ปลายที่หนึ่งกับหนึ่งในคู่ของผนังด้านข้างที่เว้นระยะห่างที่
ด้านล่างตัวต่อเชื่อมของผนังแบบเอียงที่หนึ่งและหนึ่งในคู่ของผนังด้านข้างที่เว้นระยะห่างในทิศทาง
แนวตั้งและ (b) ที่ปลายที่สองกับผนังแนวตั้งที่ด้านล่างตัวต่อเชื่อมของผนังแบบเอียงที่หนึ่งและผนัง
แนวตั้งในทิศทางแนวตั้ง
4. ชิ้นส่วนกริดเพดานแบบเรียวยาวตามข้อถือสิทธิข้อที่ 3 ที่ซึ่งผนังแบบเอียงที่สอง
ต่อเชื่อมหนึ่งในคู่ของผนังด้านข้างที่เว้นระยะห่างพี่ด้านล่างขอบล่างสุดของหนึ่งในคู่ของผนังด้านข้าง
ที่เว้นระยะห่าง