Application Type
Patent (CN MOU)
Application SubType
Re-registration of Chinese Patent
(10) Registration Number and Date
Status
ACTIVE ( Document published)
(180) Expiration Date
(20) Filing Number and Date
KH P/2024/00005CN 2024.08.15
(40) Publication Number and Date
${pbin}
(86) PCT Filing Number and Date
(87) PCT Publication Number and Date
(85) National Entry Date
(30) Priority Details
(51) IPC Classes
(71/73) Applicant
(KH) HU BEI HONGYU SPECIAL AUTOMOBILE CO., LTD. : No. 1089, Jiaotong Avenue, Zengdu Economic Development Zone, Suizhou City, Hubei Province, China 441300
(74) Representative
(KH) HAVIP (CAMBODIA) IP SERVICE : House A08, Street Betong, Phum Prey Sala, Sangkat Kakab 2, Khan Pou Senchey, Phnom Penh, Cambodia
(54) Title
(KH) (EN) AIRFLOW-DRIVEN DUST PICK UP DEVICE FOR ROAD SWEEPER AND ROAD SWEEPER
(57) Abstract
(KH) (EN)

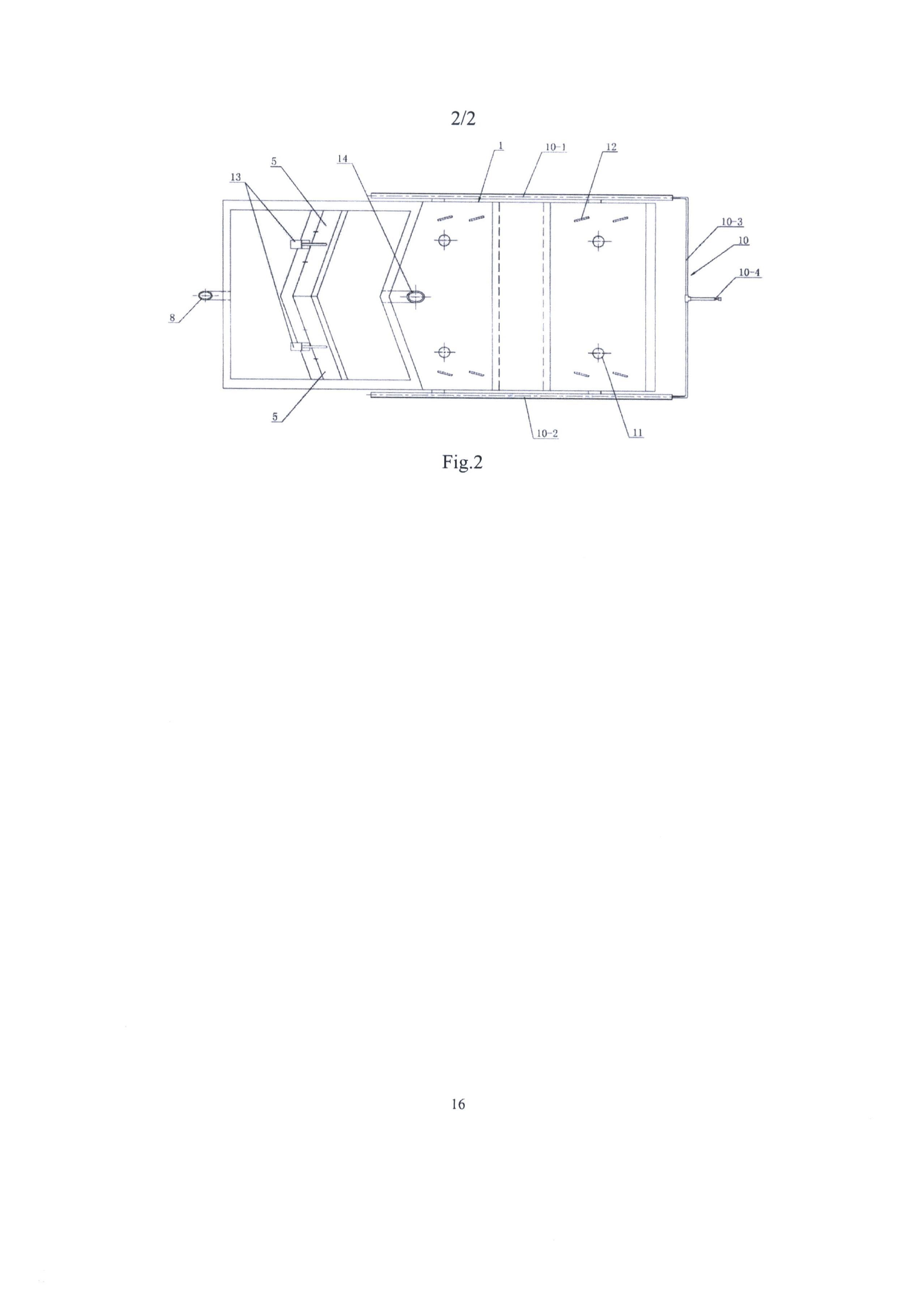
The invention provides an airflow-driven dust collection device for a road sweeper and the road sweeper. The dust collection device comprises an airflow control panel which is arranged at the position, close to the sweeper head, below a chassis, and an airflow diversion channel is formed between the bottom work face of the airflow control panel and the road surface. The dust collection device further comprises a garbage collection cover arranged behind the airflow control panel, a garbage transition collection box is defined by the airflow control panel and the garbage collection cover, the bottom of the garbage transition collection box is provided with a main duct collection opening, the side, away from the airflow control panel, of the main dust collection opening is provided with an air knife, and airflow blown out by the air knife is injected to the road surface to form an air screen; the top of the garbage transition collection box is provided with a main dust discharging opening, and the main dust discharging opening is communicated with the garbage collection box of the road sweeper; a garbage collection groove is formed in the position, located on the rear portion of the air knife, in the garbage transition collection box and connected with a first subsidiary dust collection passageway; the dust collection device further comprises an auxiliary air blowing system. The dust collection device is arranged below the chassis of the road sweeper; by means of the dust collection device, the travelling speed of the road sweeper is raised, garbage collection reliability is improved, and the power of a dust collection fan is lowered. The road sweeper is high in sweeping efficiency and good in cleaning effect, and energy consumption is saved.

(58) Citations
License Details
(98) Annuity Details
YearValidity StartValidity EndPayment
Event NameDateLink
Application filed2024-08-15
Document published2025-02-07