Application Type
National
Application SubType
(10) Registration Number and Date
10202401110S
Status
ACTIVE ( Other event occurred)
(180) Expiration Date
(20) Filing Number and Date
SG 10202401110S 2023.12.31
(40) Publication Number and Date
${pbin}
(86) PCT Filing Number and Date
(87) PCT Publication Number and Date
(85) National Entry Date
(30) Priority Details
KR
KR10-2023-0050360
2023.01.01
(51) IPC Classes
    (74) Representative
    (54) Title
    (57) Abstract
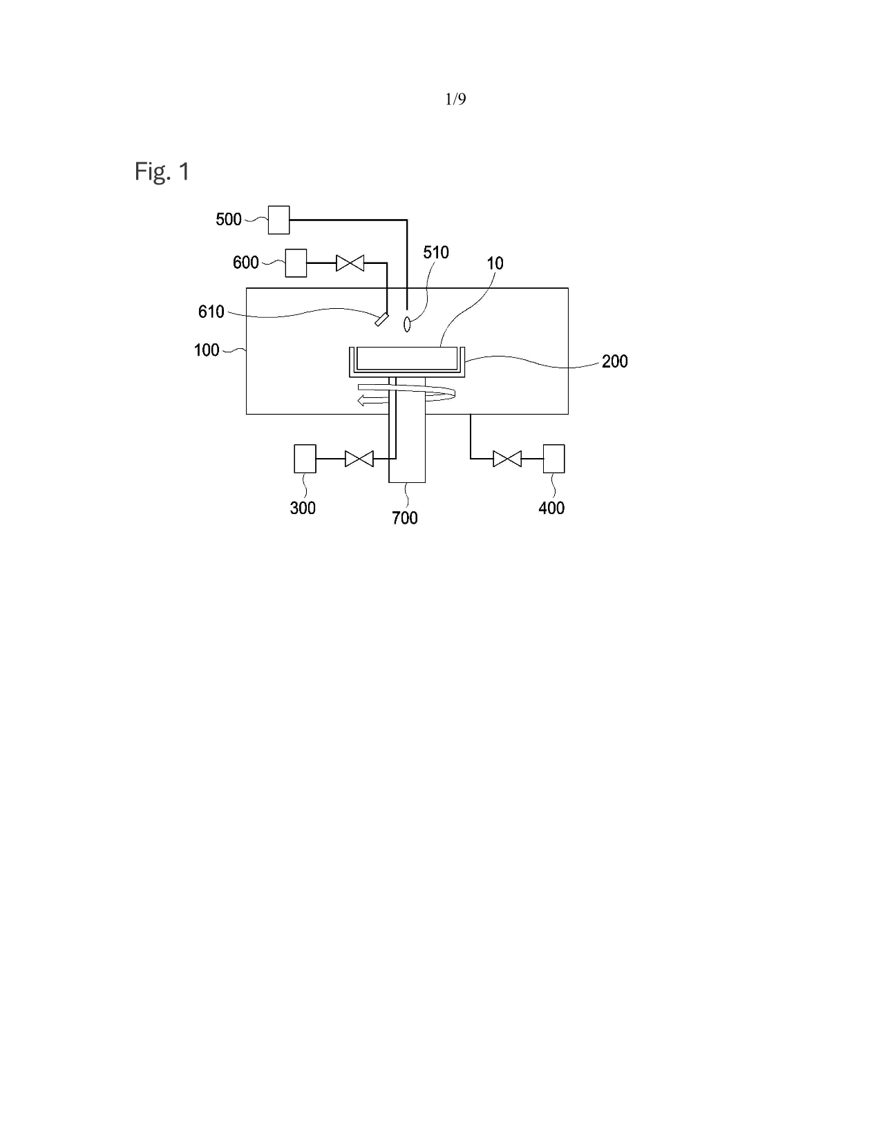
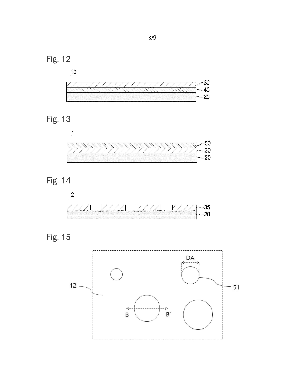
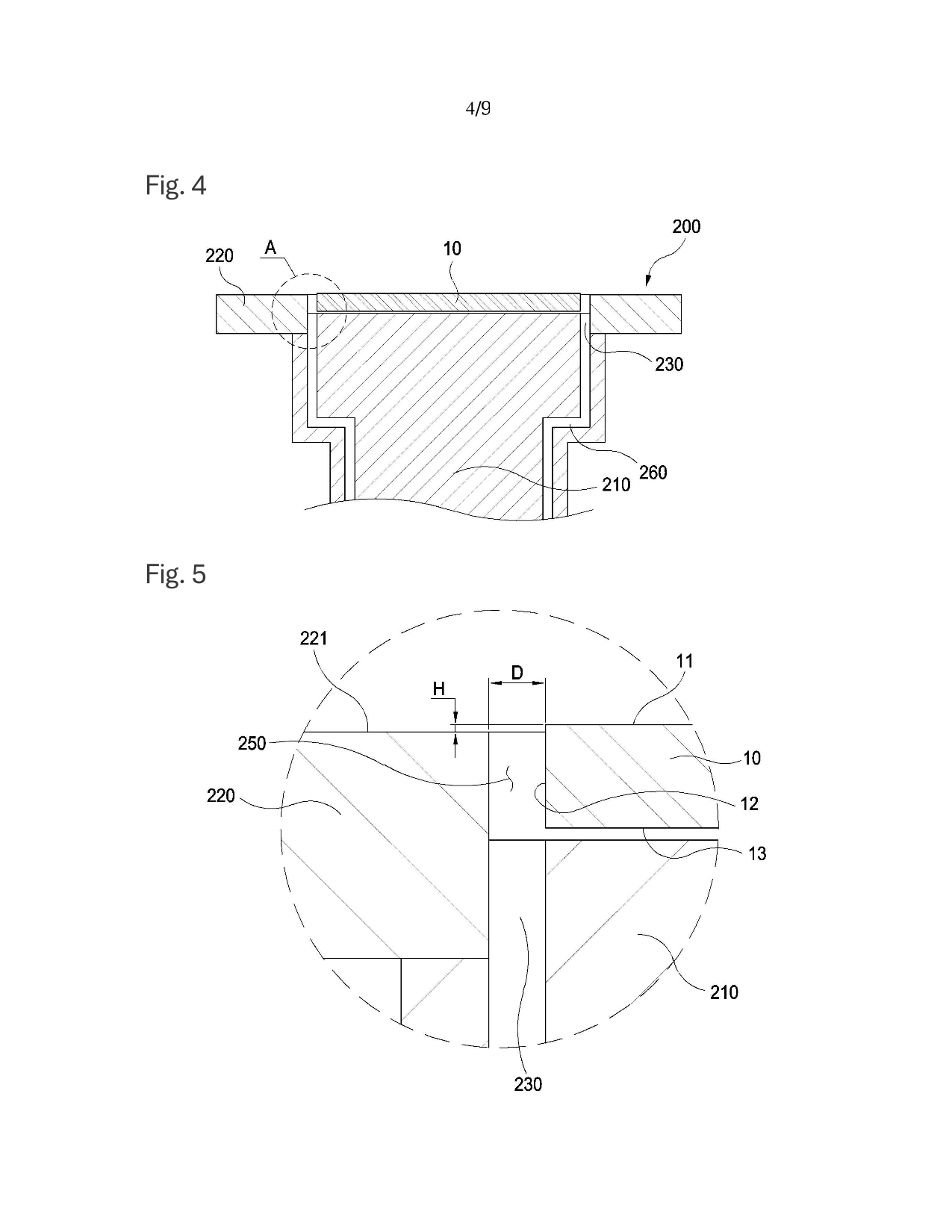
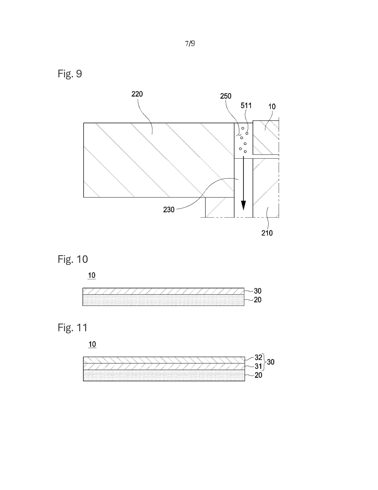
    (EN) ABSTRACT A method of fabricating a blank mask. The method includes forming a light-shielding film on a light-transmissive substrate to form an optical substrate; forming a photoresist layer on the light-shielding film; and removing droplets, generated in the forming of the photoresist layer, 5 from a side surface of the light-transmissive substrate, wherein the number of droplet-type adsorption, derived from the droplets, on the side surface of the light-transmissive substrate, is less than 3 per cm 2. (Fig. 1) 10 50
    (58) Citations
    License Details
    (98) Annuity Details
    YearValidity StartValidity EndPayment
    Document Type Date Action
    Description (with claims) 2024-04-16T00:00:00Z
    Abstract 2024-04-16T00:00:00Z
    Event NameDateLink
    Other event occurred2023-12-31
    Other event occurred2023-12-31
    Other event occurred2023-12-31
    Other event occurred2023-12-31