Application Type
Patent (CN MOU)
Application SubType
Re-registration of Chinese Patent
(10) Registration Number and Date
Status
ACTIVE ( Document published)
(180) Expiration Date
(20) Filing Number and Date
KH P/2024/00006CN 2024.08.23
(40) Publication Number and Date
${pbin}
(86) PCT Filing Number and Date
(87) PCT Publication Number and Date
(85) National Entry Date
(30) Priority Details
(72) Inventor
(KH) JIANG PIN
SHI YIXIN
HU WENWU
LUO YAHUI
(74) Representative
(KH) HAVIP (CAMBODIA) IP SERVICE : House A08, Street Betong, Phum Prey Sala, Sangkat Kakab 2, Khan Pou Senchey, Phnom Penh, Cambodia
(54) Title
(KH) (EN) MULTI-SPEED TRANSMISSION FOR AGRICULTURAL CRAWLER CHASSIS
(57) Abstract
(KH) (EN)

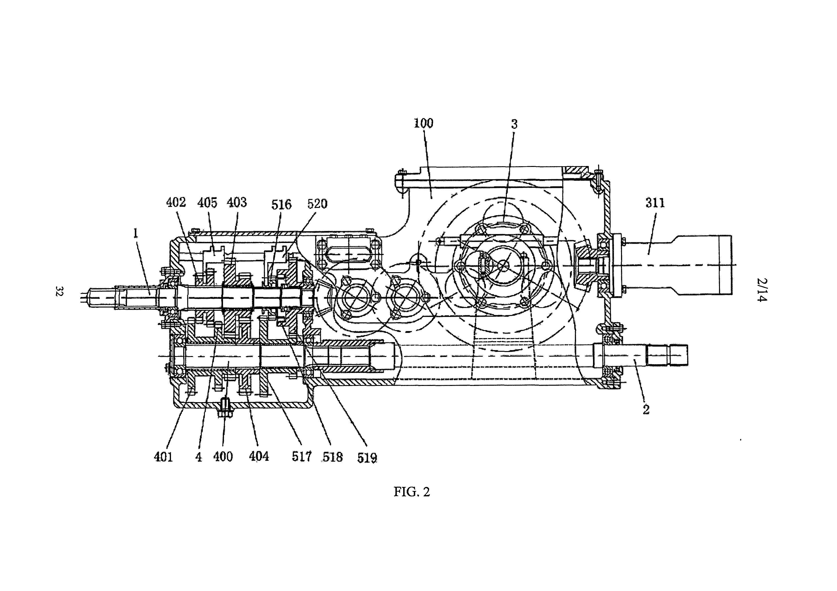
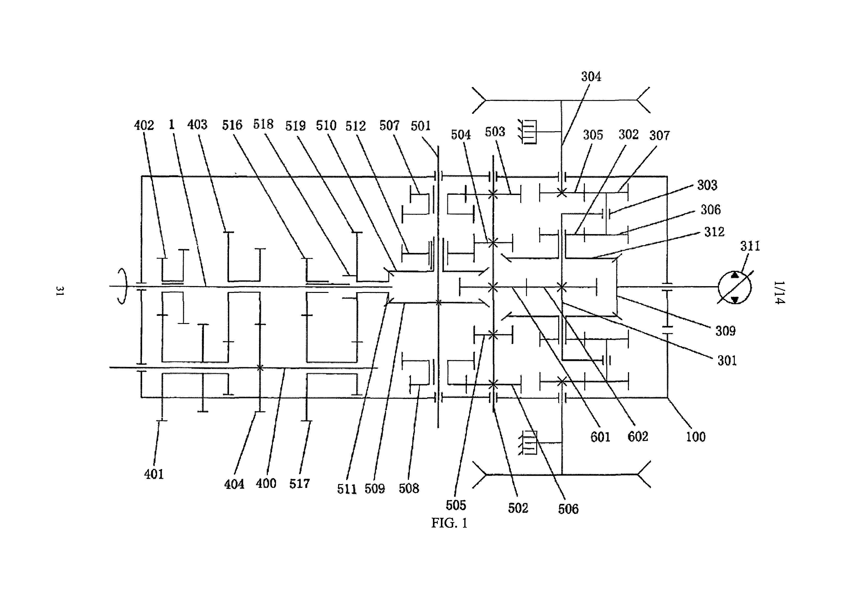
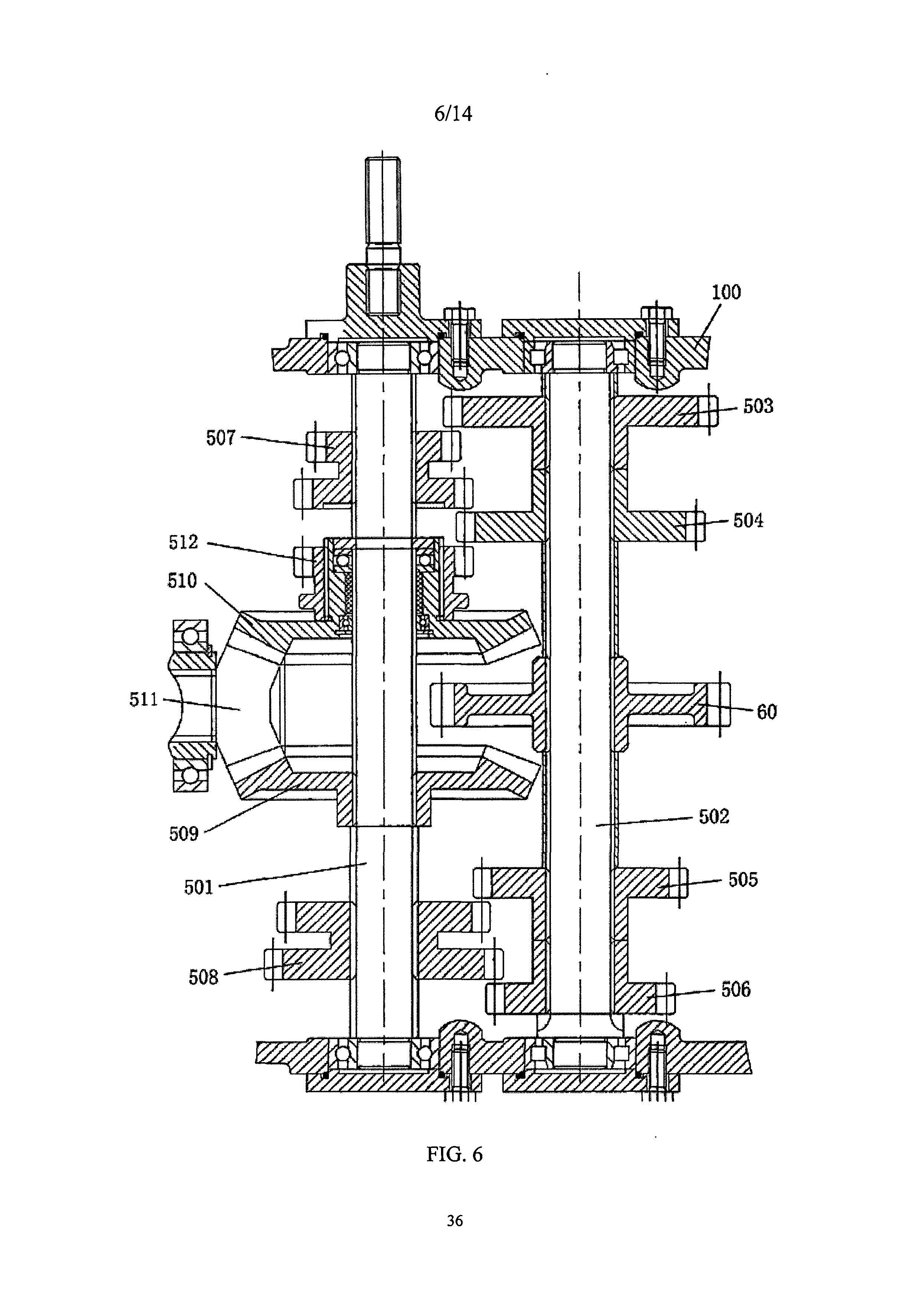
The present disclosure discloses a multi-speed transmission for an agricultural crawler chassis, including a box body, where a power input shaft, an operation output shaft, and a planetary gear reducer rear-axle mechanism are provided in the box body; the power input shaft is connected to the operation output shaft through an operation gearshift mechanism; the power input shaft is connected to the planetary gear reducer rear-axle mechanism through a double-shaft multi-gear forward and reverse speed-shifting mechanism; the double-shaft multi-gear forward and reverse speed-shifting mechanism includes a first rotating shaft and a second rotating shaft that are arranged side by side in the box body; a multi-gear forward and reverse change-over mechanism is provided between the first rotating shaft and the second rotating shaft; the first rotating shaft is located at an end of the power input shaft and is perpendicular to the power input shaft; and the first rotating shaft is connected to the power input shaft through a first transmission mechanism and the second rotating shaft is connected to the planetary gear reducer rear-axle mechanism through a second transmission mechanism. The multi-speed transmission has advantages such as a simple and compact structure, a small volume, and a low weight.

(58) Citations
License Details
(98) Annuity Details
YearValidity StartValidity EndPayment
Event NameDateLink
Application filed2024-08-23
Document published2025-02-07