Application Type
Patent (SG MOU)
Application SubType
Re-registration of Singapore Patent
(10) Registration Number and Date
Status
ACTIVE ( Document published)
(180) Expiration Date
(20) Filing Number and Date
KH P/2024/00008SG 2024.06.27
(40) Publication Number (Gazette Number) and Date
(PT202501-A)
2025.02.07
(86) PCT Filing Number and Date
(87) PCT Publication Number and Date
(85) National Entry Date
(30) Priority Details
US
US62/404,302
2016.10.05
US62/427,677
2016.11.29
(74) Representative
(KH) BNG LEGAL : No.64 St. 111, Sangkat Boen Prolit, Khan 7 Makara, Phnom Penh
(54) Title
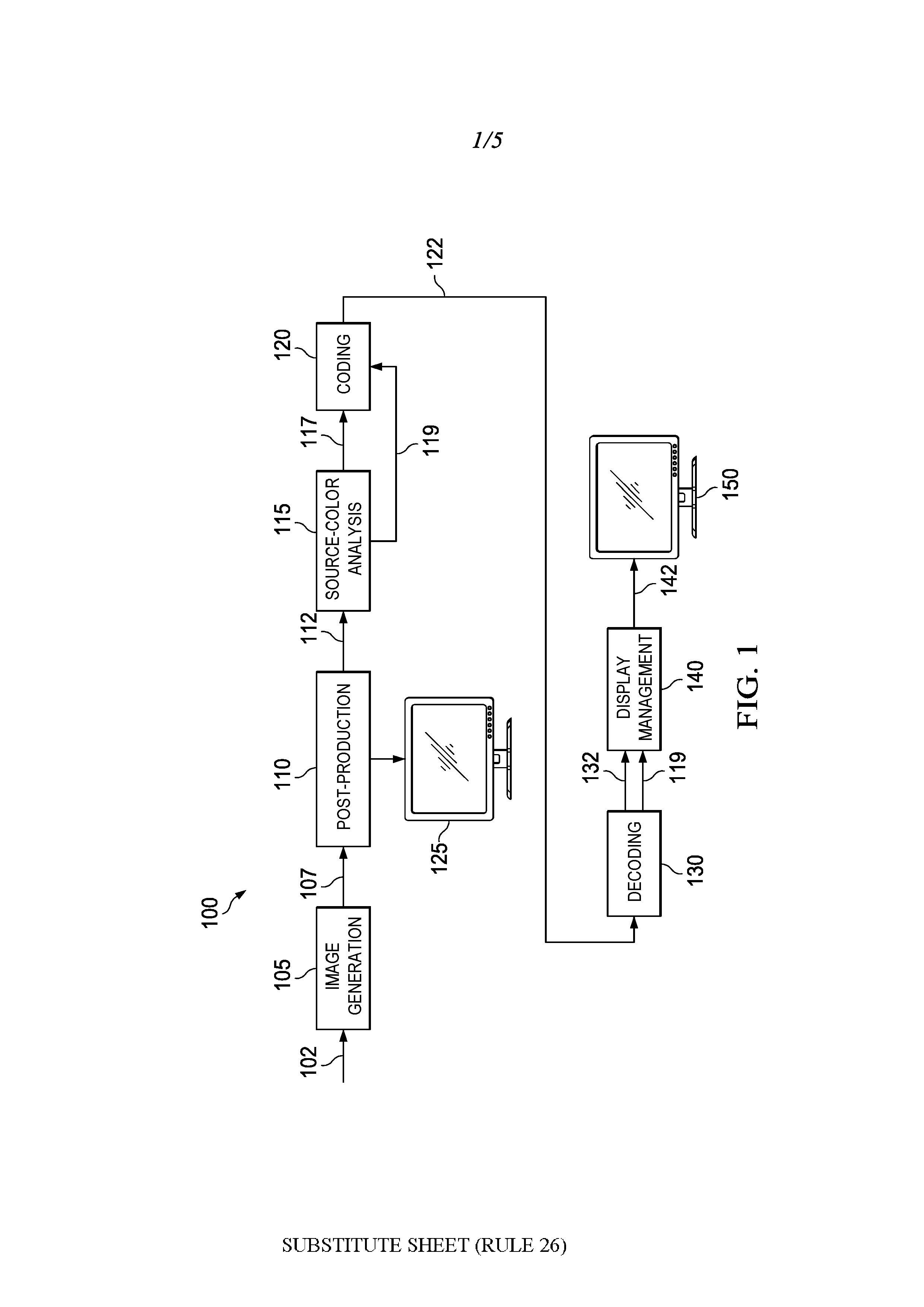
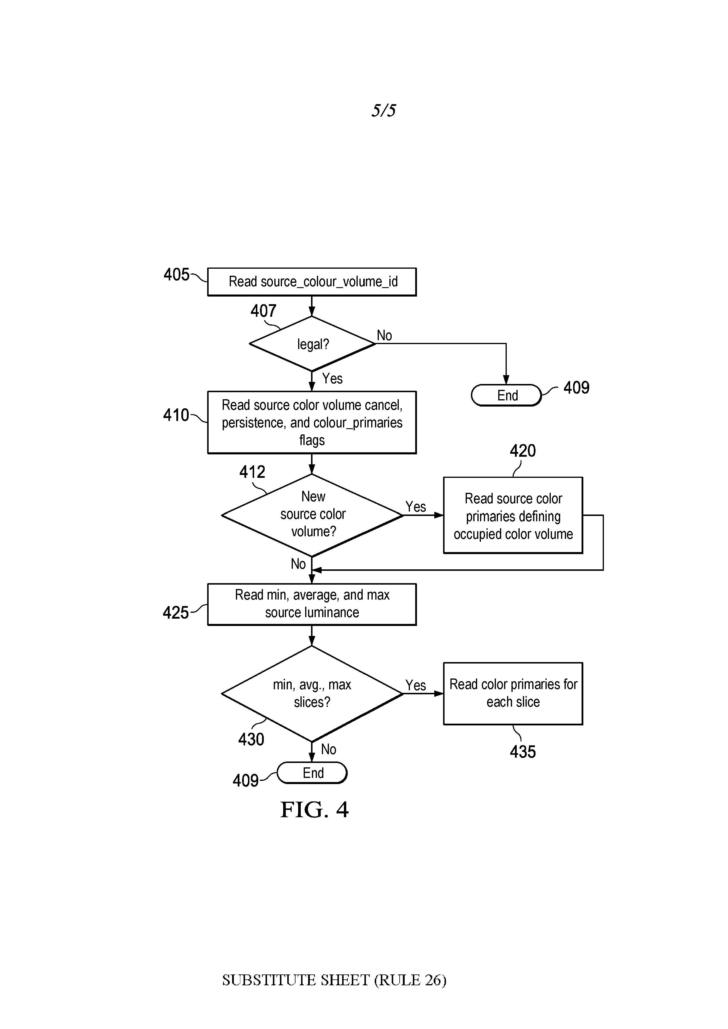
(KH) (EN) SOURCE COLOR VOLUME INFORMATION MESSAGING
(57) Abstract
(58) Citations
License Details
(98) Annuity Details
YearValidity StartValidity EndPayment
Event NameDateLink
Application filed2024-06-27
Document published2025-02-07