Application Type
Patent (SG MOU)
Application SubType
Re-registration of Singapore Patent
(10) Registration Number and Date
Status
ACTIVE ( Document published)
(180) Expiration Date
(20) Filing Number and Date
KH P/2024/00009SG 2024.09.25
(40) Publication Number and Date
KH P/2024/00009SG
2025.02.07
(86) PCT Filing Number and Date
(87) PCT Publication Number and Date
(85) National Entry Date
(30) Priority Details
EP
EP09007086.3
2009.05.27
US
US61/147,815
2009.01.28
(51) IPC Classes
(74) Representative
(KH) Kimly IP Service : Borey Piphup Thmey Somrong Andeth, No. 22, St. No. 3 Phum Raungchack, Sangkat Phnom Penh Thmey Khan Sen Sok, Phnom Penh
(54) Title
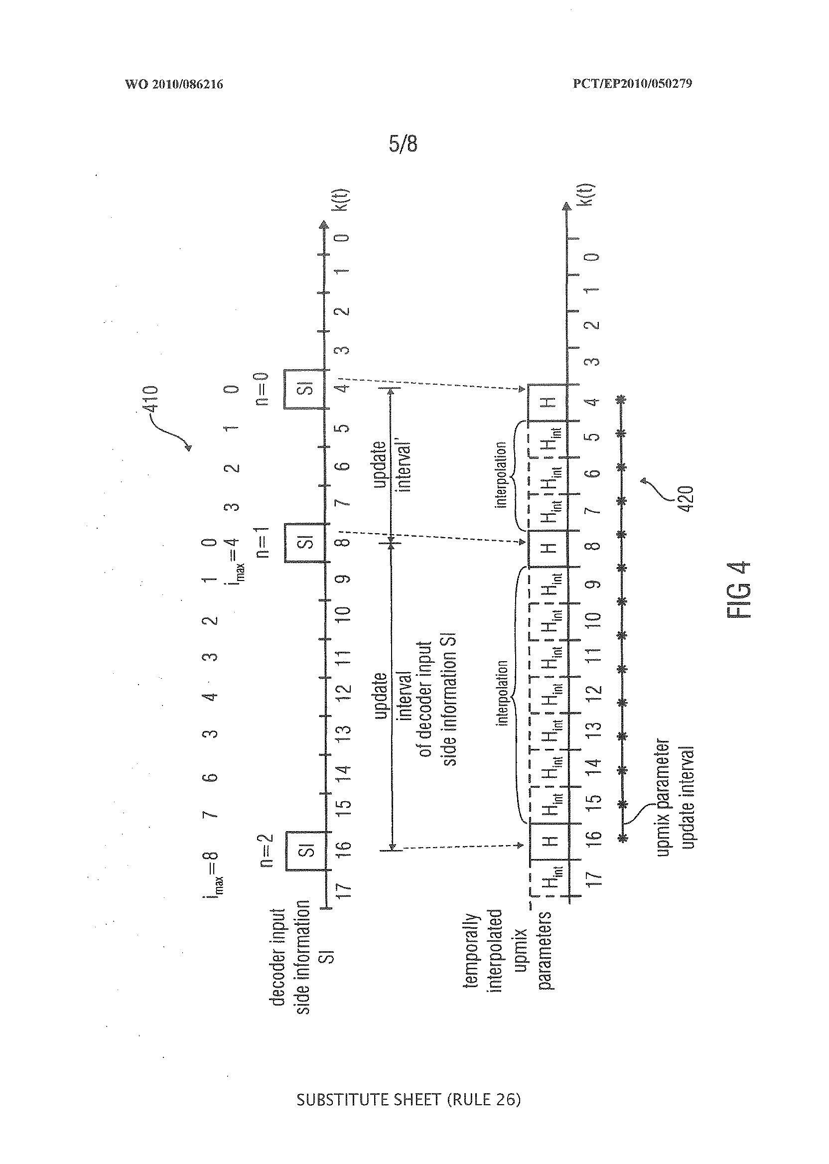
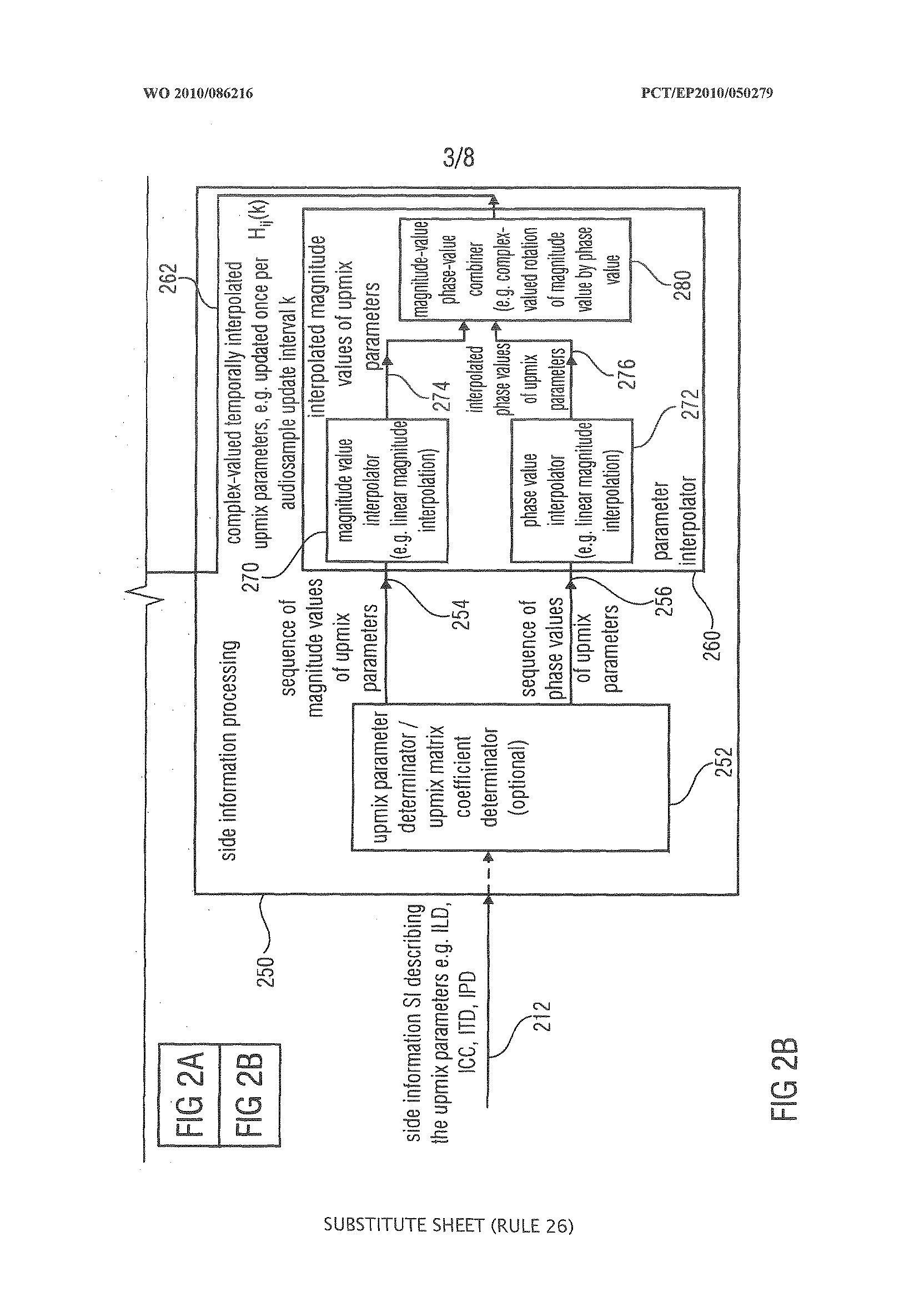
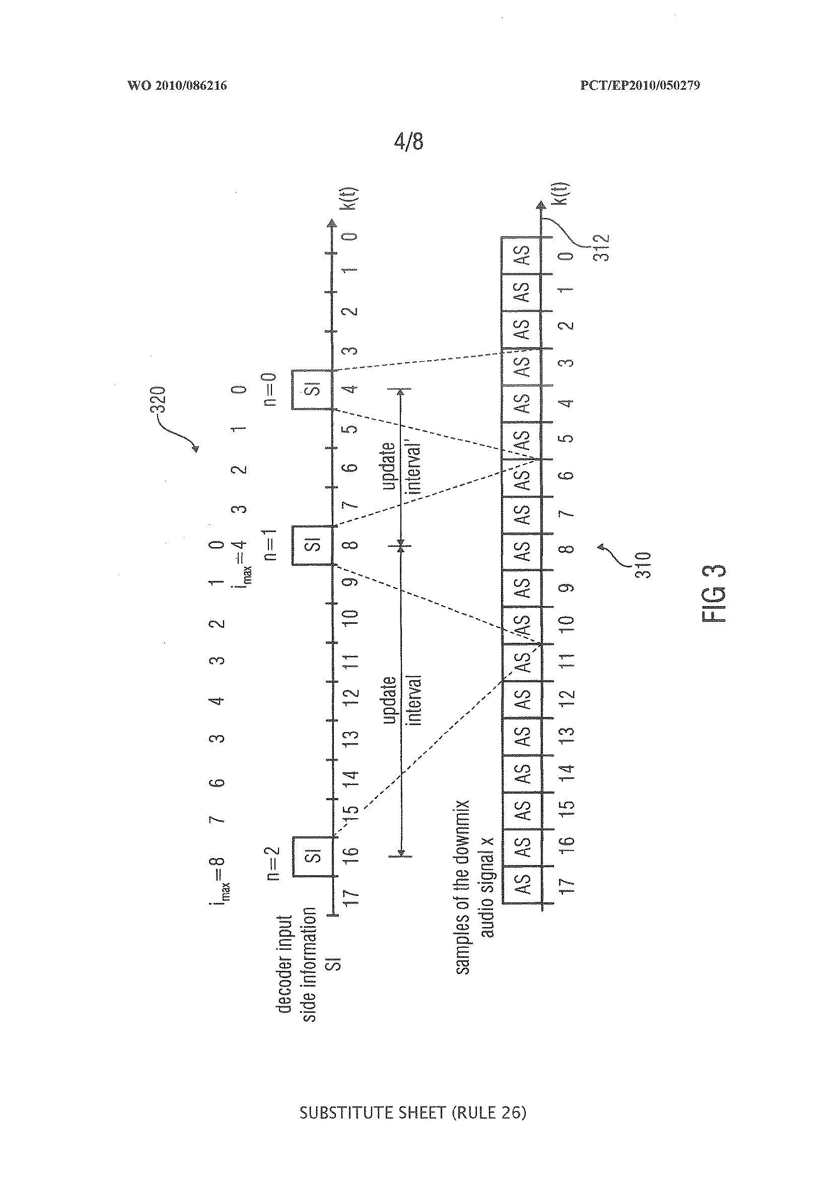
(KH) (EN) APPARATUS, METHOD AND COMPUTER PROGRAM FOR UPMIXING A DOWNMIX AUDIO SIGNAL
(57) Abstract
(58) Citations
License Details
(98) Annuity Details
YearValidity StartValidity EndPayment
Event NameDateLink
Application filed2024-09-25
Document published2025-02-07