Application Type
Application SubType
National Application
(10) Registration Number and Date
Status
ACTIVE ( Other event occurred)
(18) Expiration Date
2039.12.19
(20) Filing Number and Date
30202401394R 2024.12.19
(400) Publication Number and Date
(30) Priority Details
AU
au
2024.06.19
(51/52) Classification
(72) Designer
(74) Representative
(EN) ADASTRA INTELLECTUAL PROPERTY PTE. LTD. : 133 NEW BRIDGE ROAD<br/>#08-08 CHINATOWN POINT<br/>Singapore 059413
(54) Design Title
(EN)
Description
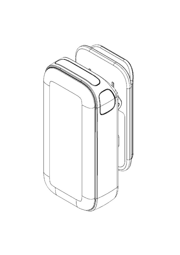
Wireless microphone transmitter with clip and magnetic fastener
Wireless microphone transmitter with clip and magnetic fastener
(EN) Wireless microphone transmitter with clip and magnetic fastener
(57) Design Novelty Statement
(EN) Novelty resides in the Shape and Configuration as shown in the Representation(s).
(56) Design Claims
${repeating.template.CLNB}
ClaimDescription
(70) License Details
Event NameDateLink
Other event occurred2024-12-19
Other event occurred2025-01-03
Other event occurred2025-01-03