Application Type
Application SubType
National Application
(10) Registration Number and Date
Status
ACTIVE ( Other event occurred)
(18) Expiration Date
2039.12.24
(20) Filing Number and Date
30202401407U 2024.12.24
(400) Publication Number and Date
(30) Priority Details
AU
au
2024.06.24
(51/52) Classification
(72) Designer
(74) Representative
(EN) SPRUSON & FERGUSON (ASIA) PTE. LTD. : 152 BEACH ROAD<br/>#37-37 GATEWAY EAST<br/>Singapore 189721
(54) Design Title
(EN)
Description
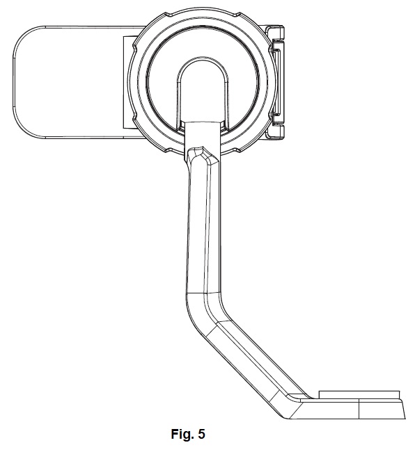
Mount For A Mobile Electronic Device
Mount For A Mobile Electronic Device
(EN) Mount For A Mobile Electronic Device
(57) Design Novelty Statement
(EN) Novelty resides in the Shape and Configuration as shown in the Representation(s).
(56) Design Claims
${repeating.template.CLNB}
ClaimDescription
(70) License Details
Event NameDateLink
Other event occurred2024-12-24
Other event occurred2025-01-06
Other event occurred2025-03-29