Application Type
Industrial Design
Application SubType
Industrial design
(10) Registration Number and Date
Status
ACTIVE ( Document published)
(18) Expiration Date
(20) Filing Number and Date
PH32026050318 2026.02.13
(400) Publication Number and Date
PH32026050318
2026.02.20
(30) Priority Details
(51/52) Classification
(74) Representative
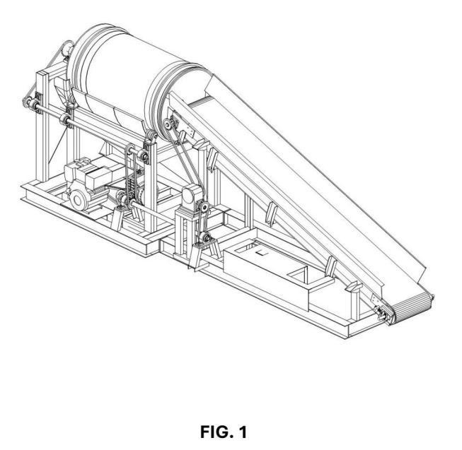
(54) Design Title
Description
(EN) ROTARY WASTE VIBRATOR AND SEPARATOR MACHINE
(57) Design Novelty Statement
(56) Design Claims
${repeating.template.CLNB}
ClaimDescription
(70) License Details
Document Type Date Action
drawing section s1 2026-02-18T00:00:00Z
description section s1 2026-02-18T00:00:00Z
Event NameDateLink
Application filed2026-02-13
Document published2026-02-20