Application Type
Application SubType
National Application
(10) Registration Number and Date
Status
ACTIVE ( Other event occurred)
(18) Expiration Date
2039.12.16
(20) Filing Number and Date
30202401380P 2024.12.16
(400) Publication Number and Date
(30) Priority Details
(51/52) Classification
(72) Designer
(74) Representative
(EN) MIRANDAH ASIA (SINGAPORE) PTE LTD : 1 COLEMAN STREET<br/>#07-07 THE ADELPHI<br/>Singapore 179803
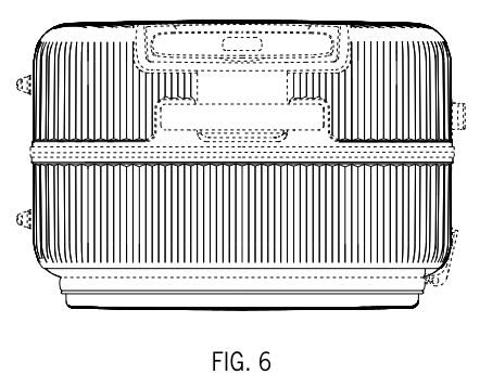
(54) Design Title
(EN)
Description
LUGGAGE
LUGGAGE
(EN) LUGGAGE
(57) Design Novelty Statement
(EN) Novelty resides in the Shape and Configuration as shown in the Representation(s).
(56) Design Claims
${repeating.template.CLNB}
ClaimDescription
(70) License Details
Event NameDateLink
Other event occurred2024-12-16
Other event occurred2025-01-03
Other event occurred2025-03-24